91亿元股权争夺战台前幕后
在国联集团成功拍下民生证券35亿股股权之后,如何解决同业竞争问题,成为外界关注的话题。
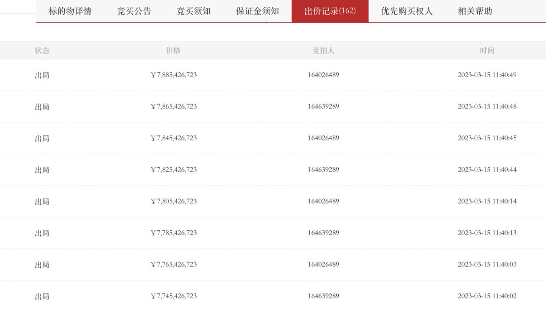
一场经历162轮出价、157次延时、36.3万人围观的股权拍卖,在3月15日中午落锤。
当日,泛海控股持有的民生证券34.71亿股股权在京东司法拍卖平台竞拍,最终无锡市国联发展集团(下称“国联集团”),也就是国联证券控股股东国联集团,以91.05亿元成功竞得。
在此次拍卖之前,除了已经十分确定的竞拍人是东吴证券和浙商证券,国联集团的身影一直较为神秘。直到最终拍卖结果披露,国联集团的身份才被知晓。
颇具戏剧性的情节是,民生证券作为“泛海系”金融领域中的重要组成部分,在本次股权开拍前,曾受到了泛海系的阻挠。
近年来,国联证券开启了并购之旅。而此次拍卖,对于民生证券新股东国联集团来说,在旗下已有国联证券的情况下,如何解决证券公司同业竞争问题,也是外界关心的话题。
激烈的争逐
据悉,泛海控股持有的民生证券34.71亿股股权于3月14日上午10点正式开始,竞价周期为一天,起拍价为58.65亿元,保证金5亿元,加价幅度为2000万元。
然而,暴风雨来临之前,总是有些宁静。
3月14日全天,该拍卖现场并不热闹,仅在当天晚间有一次出价,为起拍价58.65亿元,直至15日10时左右,这场激烈的股权争夺大战才真正拉开序幕。
15日9点30分之后,各家买手开始疯狂出手,民生证券该笔股权价格也跟着一路狂飙,分别在9时57分突破60亿元,11时09分突破70亿元、11时40分突破80亿元,并于12时47分突破90亿元。
根据拍卖记录,在3月15日11点40分一分钟里,竞拍人全体出动,同时出价,竞争激烈,哪怕是在成交的最后一分钟,也有竞拍者紧跟。最终经过162轮竞拍,快接近12点55分时,国联集团以溢价率55%、91.05亿元的价格成功结束“战斗”,成为民生证券34.71亿股股权的拥有者。
▲ (图源/京东拍卖平台)
这场本应在15日上午10点结束的拍卖,由于竞拍者的激烈争逐,也整整延时了3小时,直至当天将近1点才最终落锤。
根据拍卖规则,在拍卖成交后,买受人需于3月22日16时前完成余款缴纳,并在7日(遇节假日顺延)内办理标的物交付手续,但须在证监会等对股东变更申请核准后,方可办理权属变更手续。
后续手续完成后,国联集团对民生证券的持股比例将达到31.03%,接替泛海控股,成为民生证券第一大股东。
此次拍卖结束后,泛海控股表示,这次拍卖价格充分体现了民生证券的价值。
泛海系阻挠未果
在整个“泛海系”中,民生证券一直是其金融领域的重要棋子,泛海控股对民生证券的持股比例也一度达到87.65%。直至2020年,民生证券“引战增资”后,泛海控股集团持股比例才降至31.03%。
随着此次拍卖交易成功,泛海控股对民生证券的持股比例降至0.72%。
在券商行业中,民生证券虽不是头部券商,但发展势头却很猛。数据显示,民生证券营收排名在2018年尚为第53名,2021年已经上升至业内第36名。
民生证券旗下投行业务,成绩表现也是相当亮眼,目前已跻身前十。Wind数据显示,2022年,民生证券承销保荐的IPO数量有16家,位居行业第九。2023年以来,其已经保荐了3家企业发行上市,位居行业前列。
发展前景如此良好的“香饽饽”,泛海控股自然是不愿放手,在此次民生证券股权拍卖之前,泛海控股掌门人卢志强和整个“泛海系”也在想尽办法阻扰。
首先是泛海系对标的股权的评估价格不满,认为评估报告不能准确反映民生证券实际价值,试图以此来达到阻挠拍卖的目的。
相关评估报告显示,泛海控股持有的民生证券35亿股股权市场价值为59.25亿元,折合每股单价1.69元,折合PB(市净率,即市值与净资产比率)1.25倍。评估基准日为2022年6月30日,有效期为一年。
泛海控股认为,2021年7月泛海控股曾与武汉金控签署股份转让意向协议,拟出售不低于20%的股权;当时协议约定的PB接近2倍,远高于此次司法拍卖的1.25倍。同时,泛海控股也对评估报告中交易案例的比较对象表达了不满。
其次,泛海控股对济南中院超标的查封表达了质疑,认为查封资产价值远高于被执行人应当履行的义务。
而在股权拍卖前两日,也就是3月12日晚,泛海控股又发布诉讼进展公告,称收到济南中院送达的法律文书,案外人北京狮王资产管理有限公司(下称“狮王资产”)向济南中院提出案外人异议,申请中止对登记在泛海控股名下的民生证券2亿股股权的执行。
根据查看天眼查关系路径,泛海控股与狮王资产也存在着一定关系。
▲ (图源/天眼查)
尽管泛海系祭出了阻挠拍卖的三张“王牌”,但股权拍卖还是如期进行。
那么,泛海控股所持的民生证券股权是如何走到司法拍卖这一环的呢?
今年2月3日,泛海控股披露,子公司武汉中央商务区股份有限公司与烟台山高弘灏投资中心(有限合伙)(下称“烟台山高”)发生合同纠纷,烟台山高就此向法院申请了强制执行。之后烟台山高又因上述合同纠纷将泛海控股,以及其控股子公司沈阳泛海建设投资有限公司,一并诉至山东省济南市中级人民法院。泛海控股持有的民生证券35亿股股份遭遇冻结。
在烟台山高申请强制执行之后,最终,法院决定拍卖泛海控股持有的民生证券34.71亿股股权。
对于民生证券拍卖成功之后,对目前深陷资金链“泥沼”的泛海控股有何影响?有业内人士认为,对民生证券而言,是重大利好;对于泛海控股而言,虽然痛失券商牌照,但也能适当缓解目前的资金压力。
国联证券积极扩张
此次成功竞得民生证券35亿股权的国联集团,成立于1999年5月8日,前身为设立于1992年的无锡市国有资产投资开发总公司;2022年,该集团实现营业收入247亿元,实现利润总额37亿元。截至2022年末,该集团总资产1820亿元,净资产513亿元。
除了此次将要收入囊中的民生证券,国联集团旗下已经有一家上市券商——国联证券。根据国联证券2022年半年报,国联集团直接及间接共持有国联证券48.60%的股份,是其控股股东。
公开资料显示,国联证券创立于1992年,2008年,改制更名为“国联证券股份有限公司”。2015年7月6日,在港交所上市,2020年7月31日又成功上市A股,成为A+H股双上市券商。
在近些年的发展上面,国联证券也展示了自己的野心。
2020年,国联证券成功获得首批券商基金投顾试点资格,成为获得资格的七家券商中的唯一一家中小券商;同年9月,国联证券再次做出一个令人瞩目的事情,即拟受让长沙涌金持有的国金证券约7.82%的股份,试图并购国金证券,虽然最终该交易失败,但国联证券也收获了外界的关注。
与此同时,在公募基金领域,国联证券也在谋划布局。2020年下半年,在原本持有中海基金33.41%持股比例的基础上,国联证券试图收购法国洛希尔银行持有的中海基金25%的股权,以此获取中海基金控股股东地位。最终,由于法国洛希尔银行提出终止股权转让协议,国联证券并没有获得中海基金的控股权。
但在2021年6月,国联证券董事会设立了公募业务部,同意申请公募基金管理业务资格,以此拓展资产管理业务范围。
另外,在当前热火朝天的金融科技领域,国联证券也有所布局。2022年3月,据中国证券网,国联证券拟全资设立金融科技子公司。国联证券相关负责人表示,金融科技子公司成立后,将在国联证券的统一管理下,接受国联证券的委托,承担各类金融科技创新项目的研究和建设工作,主要侧重于人工智能、大数据、云计算、区块链等新一代信息技术在国联证券各业务领域和管理领域的落地应用,从而使金融科技能力成为国联证券的核心竞争力。
财报显示,截至2022年上半年末,国联证券总资产为595.99亿元,净资产为104.18亿元;2022年上半年,国联证券实现营业收入11.3亿元,净利润为3.79亿元。
根据泛海控股半年报,截至2022年6月末,民生证券总资产为521.43亿元,净资产154.32亿元;2022年上半年,民生证券实现营业收入16.63亿元,净利润4.27亿元。
从当前业绩表现情况来看,双方旗鼓相当,难分伯仲。最终,同属国联集团旗下的国联证券和民生证券将如何整合,颇受关注。
本文来自微信公众号 “市界”(ID:newsseeker),作者:周梦婷,编辑:韩忠强 ,36氪经授权发布。















