特斯拉女员工实名举报:遭遇职场PUA、暴力胁迫离职?
划重点:
1、一名社交平台认证为“特斯拉某交付中心”的女员工发文控诉,遭遇领导的暴力胁迫离职,并称双方曾发生过冲突,造成财物损毁。目前特斯拉尚未回应。
2、除了遭遇暴力胁迫离职,该女子还声称特斯拉交付中心存在官僚主义,职场精神压迫等。
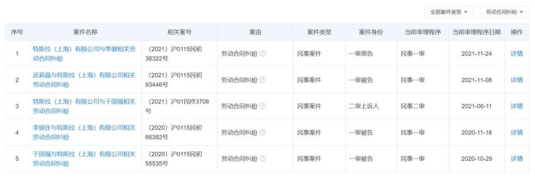
3、2021年,特斯拉遭遇了多起法律纠纷。其中,涉及劳动合同纠纷的案件达5件;与劳动、招聘相关的纠纷案达3件,两者合计占据了已公示诉讼的44.4%。
近日,自称为特斯拉安徽交付中心员工的蒋某美(英文名Leila)在多个社交平台称,自己遭遇了特斯拉领导的暴力胁迫离职。蒋某美在脉脉的认证信息为“特斯拉汽车销售服务(合肥)有限公司交付顾问”。
对于此事,特斯拉目前并未发表任何回应。新浪科技向特斯拉北区的相关负责人进行了解,对方表示北区不参与这件事,具体可以向特斯拉东区相关工作人员了解,但未提供相关负责人的联系方式。
女员工自称被职场PUA
蒋某美在网络上介绍了事情的大致经过:
起因是7月,蒋某美在工作中出现的一个失误。当时正值特斯拉中国制造标准续航版Model Y上线。
蒋某美称,由于工作量过大,7月中她在操作时误复制了另一个订单号,导致客户提前匹配了车辆,第一时间发现后同事联系她并将客户配置修正,且她和同事致以歉意。中间等待时间客户产生情绪,后在正常交付周期提了正确配置的车,此事件结束。
但是在11月25日的时候,合肥举办了团队活动,由于她的身体不舒服,所以没有参加。就在这场活动中,团队成员在反馈合肥“目前遇到的问题”时,有一位同事举报了她这个情况,所以特斯拉的HRBP沈某“连夜”从浙江赶到合肥。
次日上午,交付主管陆某告知蒋某美:因同事举报,需要立刻对她进行停职处理。要求她交出工作手机,并签署书面警告和调查文件。
蒋某美拒绝签字,并提出对此事展开调查。不过,她却被HRBP直接告知:她的工作就是配合签署书面警告和停职调查,且不允许再进入办公区域。
随即,蒋某美的工作电脑账户被IT收回,工作微信也显示“已离职”,一切工作工具的解除,这意味着她被强制终止了工作。此外,她的工服工卡也被要求归还,甚至连客户送她的锦旗都被收走。
据蒋某美透露,在当天的交涉中,她与两位交付中心的负责人还发生了肢体冲突,起因是后两人要抢夺她手上的手机,引发了她的躲避和反抗,过程中导致办公区的一扇玻璃和厕所门反锁件有损坏的情况,一直到交付中心的客户见到这一冲突建议报警,后两人才停了下来。
报警后,蒋某美以及HRBP沈某被一起带到了肥东县经济开发区派出所。
12月4日,蒋某美收到书面《休假通知》,由她的直线领导陆某盖章邮寄。《休假通知》显示,特斯拉决定安排蒋某美自12月3日期开始带薪离岗休假,至公司之后正式发出的通知上明确的日期止。同时,特斯拉还在《休假通知》上要求,蒋某美在休假期间不能到办公室上班,不能联系公司员工、供应商和客户,也不能出现在公司的任何办公场所等。
蒋某美收到的《休假通知》(图源来自网络)
蒋某美对《休假通知》的回应(图源来自网络)
据蒋某美自述,她有如此遭遇,可能和她思想过于独立,不听话,不为虎作伥,不甘做傀儡有关。她还声称受到了“职场精神压迫”。她放出的一段和陆某的对话截图显示,在她身体不舒服在家休息的时候,也要处理手头的交付工作,还要被陆某指责:“季度末还没开始,你已经到极限了吗?作为DA(交付顾问)就要时刻服务客服(应为客户)啊。”
她认为,官僚主义在特斯拉的苏皖交付部门已经根深蒂固。
特斯拉曾涉多起劳动纠纷
蒋某美与特斯拉的劳动合同纠纷并非是个案,在2020年以来,特斯拉涉及多起劳动合同相关的纠纷。
天眼查信息显示,涉劳动合同纠纷主要涉及特斯拉在中国的主体之一特斯拉(上海)有限公司。自2020年10月以来,在已经公示18起相关案件诉讼中,特斯拉(上海)有限公司涉及的劳动相关案件为8件,其中劳动合同纠纷5件,与劳动、招聘相关的缔约过失责任纠纷为3件。
最近的两起劳动合同纠纷分别是特斯拉(上海)有限公司与季健相关劳动合同纠纷、武莉晶与特斯拉(上海)有限公司相关劳动合同纠纷,其中前一起特斯拉为原告,后一起为被告。
在以上涉及劳动合同纠纷的诉讼中,有一起已披露案情的诉讼和蒋某美遭遇的情况有相似之处。在案号为(2021)沪01民终3708号的特斯拉(上海)有限公司与于国强相关劳动合同纠纷一案中,原告于国强在2020年2月26日工作时,未按照被告特斯拉(上海)有限公司的要求穿着劳保鞋,违反了被告安全生产的规章制度。
特斯拉由此依据员工手册在当日向于国强出具了书面警告一份,并在同日依据同一事实以原告试用期被证明不符合录用条件即遵守公司相关规章制度,包括但不限于关于工作起始时间、结束时间、休息及其他时间安排的公司政策为由,解除了与被告的劳动合同。特斯拉的这一举措最终未得到法院的支持,终审法院维持了一审法院特斯拉需向原告支付赔偿金的判决。
在蒋某美一事中,其也声称接到了HRBP沈某出具的书面警告,并要求其在书面警告上签字确认。最终蒋某美没有签字,从而成为了后续一系列冲突的起点。由于蒋某美未展示这一书面警告的相关内容,所以这一书面警告对蒋某美存在何种影响尚不得而知。不过从于国强的案件来看,蒋某美遭遇的或许也将是同一结局。
此前还有媒体报道直指特斯拉上海超级工厂为“血汗工厂”。据报道,特斯拉上海工厂的高强度生产,以及迅速缩水的各种福利和日益严苛的工作环境,磨灭了许多工人对特斯拉最初的憧憬,让工人们彻底灰了心。
本文来自微信公众号“新浪科技”(ID:techsina),作者:花子健,36氪经授权发布。















