资本加持后,茶百道转道科技?
茶百道联合霸王茶姬玩跨界,只为重塑品牌力?
年中拿下10亿元融资的茶百道,开始沉迷“跨界”。
先是在下半年,茶百道关联公司四川蜀信同源企业管理咨询有限公司,与国潮信息科技(东台)有限公司等共同成立四川容尚佳合科技有限公司。进入11月后,又有消息称,茶百道与霸王茶姬共同出资,成立了四川茶本元新材料科技有限公司。
接连两家科技公司的建立,尤其是与霸王茶姬的合作,是否意味着茶饮赛道正在发生波及底层逻辑的变化?
01 茶百道偏离茶饮销售,跨界科技只为重塑品牌力?
频繁的跨界投资,很难不令人联想起茶百道今年8月份赴港IPO的决定。
在开启IPO之前,茶百道已经证明了自己的商业潜力,正在被投资市场所正视。
今年6月份,茶百道成功融资10亿元,这一数字几乎占据了该赛道上半年融资总额的绝大部分。这一融资的成功并非偶然,它背后有着深厚的历史背景和强大的推动力。
投资机构对茶百道的青睐并非偶然,他们看中的是与蜜雪冰城相似的运营模式,期望茶百道能成为下一个拥有“万店品牌”地位的孵化对象。
茶百道的成功融资不仅体现了投资者对其发展前景的信心,也预示着茶饮行业的未来将更加繁荣和竞争激烈。茶百道作为一家有着悠久历史和良好口碑的茶饮品牌,其独特的运营模式和强大的品牌影响力是吸引投资机构的重要因素。
近年来,新茶饮行业的投资活跃度和热情正在不可避免地下降,自2021年开始,投资机构对新茶饮行业的态度日益谨慎。尽管在2023年上半年,新茶饮行业的融资频率有所回升,但整体融资金额仍在大幅下降。
根据公开上市申请书的披露,截至2023年3月31日,茶百道的主要收入来源中,向加盟商销售货品及设备占据了主导地位,占比高达95.1%,而加盟费所占比例相对较低,为3.9%。
这种收入结构,揭示了茶百道的盈利模式已经逐渐偏离了茶饮销售,而更像是一个以原料和包材销售为主业的供应商。
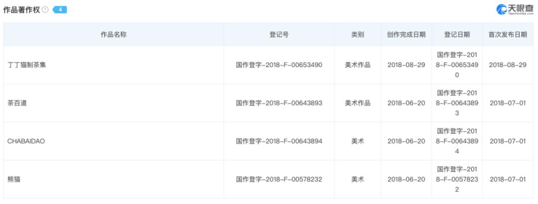
通过天眼查就可以发现,自2018年之后,茶百道鲜有新的作品著作面世,其核心业务方向或许早已偏离了销售方向,转向更为稳妥的供应体系。
从公司运营角度考虑,茶百道售卖茶饮的毛利率较低是可以理解的,因为利润空间更大的原料和包材业务已经成为其主要的盈利来源。然而,另一个层面也暗示着,茶百道的竞争力正在逐渐减弱,品牌特色也在持续流失。
或许也正是这样的原因引导下,茶百道很需要通过跨界投资科技公司,借以整合上下游资源,来重塑茶百道的品牌力。
而更深层次的原因,还是茶饮赛道日益激烈的竞争环境。
02 茶饮同质化竞争严重,万店时代特色为王?
在新茶饮行业,我们看到众多品牌如雨后春笋般涌现,争相进入市场并扎堆上市。
这一现象揭示了整个赛道的激烈竞争和高度内卷,品牌们为了获取融资以支持其发展,纷纷寻求上市成为唯一出路。这也意味着竞争的战火已经从产品品质、品牌形象的较量,延伸到了资本市场。
未来,新茶饮行业可能会提前进入万店时代。
这一趋势的推动因素可能是消费者对高品质、个性化茶饮的需求不断增长,以及品牌们在拓展市场、提高品牌影响力方面的努力。同时,行业的洗牌和品牌淘汰的节奏也将进一步加快。这是因为市场竞争日益激烈,只有具备实力和特色的品牌才能在市场中立足,而那些缺乏特色、品质一般的品牌则可能会被淘汰。
在这个背景下,新茶饮品牌需要更加注重产品研发、品质控制和品牌营销等方面。首先,产品研发是关键。品牌需要不断创新,推出符合消费者口味和需求的新产品,以保持市场竞争力。
其次,品质控制同样重要。只有确保每一杯茶饮的品质稳定和可靠,才能赢得消费者的信任和忠诚度。最后,品牌营销也不可忽视。通过有效的宣传和推广,提高品牌知名度和影响力,是吸引更多消费者的重要手段。
新茶饮行业的内卷和融资依赖现象已经引发了市场竞争的加剧和品牌的淘汰。未来,行业可能会提前进入万店时代,洗牌和淘汰的节奏也将加快。因此,品牌们需要更加注重产品研发、品质控制和品牌营销等方面,以应对未来的挑战。
毕竟在产品类别领域,现如今主流茶饮品类显现出高度的趋同性。
透过各品牌眼花缭乱的命名,其实不难发现,常见的茶饮种类主要包括各类水果口味的果茶、柠檬水、奶茶等,相似度极高,且在口味上并没有明显的差异。这表明,同质化竞争的存量时代可能比预期来得更早。
此外,在产品和价格缺乏核心竞争力的背景下,通过大量开设新店来抢占市场份额,已成为各品牌心照不宣的策略。
本文来自微信公众号“银箭财观”(ID:YinJianCaiJing),作者:银箭财经,36氪经授权发布。















