冷门的IT办公租赁行业战争下,巨头不想被收割?
共享经济这把火烧了很多年,曾经盛极一时并点燃各个行业。但在资本的盲目助推下,很多企业把共享经济做成了“伪共享”,如今降温之后只剩下了一片狼藉。
据天眼查专业版APP显示,在2月14日,小熊U租关联公司凌雄技术(深圳)有限公司发生工商变更,深圳市腾讯创业创新发展有限公司、江苏京东邦能投资管理有限公司、联想(北京)有限公司等多名股东退出。同时公司注册资本由1.07亿元减少至5415.56万元,减幅49.2%。
2018年5月,凌雄推出全新升级的互联网品牌“小熊U租”,之后引来了京东、联想以及腾讯等巨头投资,其中的投资方联想刚刚在2021年8月对小熊U租战略融资,结果半年的时间,联想连同京东、腾讯两大巨头接连退出,这背后透露出了怎样的信号?
行业的“祛魅”时刻到来
IT办公租赁行业并不是近几年才出现,只不过在中国比较冷门,很少受人关注,更多的是在大洋彼岸发展。随着共享经济在中国的盛行,以及2020年疫情的全球蔓延,国内的IT办公租赁行业更多的受到资本投资者的注意。
其中小熊U租可以说是行业中的佼佼者。
从2004年,胡祚雄创立凌雄,做起二手电脑分销商,到2008年,胡祚雄发力IT办公租赁领域,再到2018年推出互联网品牌“小熊U租”,如今在业内知名度很高,受到了腾讯、京东、联想等多位巨头的热捧。
小熊U租曾表示,在与京东的战略合作中,获得了后者提供的仓储管理、物流和配送服务以降低运营成本;借助京东在3C方面的供应链优势以降低设备采购成本。
在腾讯的过往投资案例中,很多被投企业都获得其流量和平台支持,小熊U租也不例外。据悉,在获得腾讯的融资后,腾讯向小熊U租开放了更多资源,比如,将腾讯云的客户导给小熊U租,加入腾讯云SAAS加速器、SAAS技术联盟等。
在去年8月份获得联想战略投资后,联想集团高级副总裁、联想创投集团总裁贺志强称:“我们非常认可小熊 U 租在办公场景智能化方面推出的生态服务闭环解决方案,与联想集团 DaaS 服务存在极强的协同性。未来,双方优势互补,携手为中小企业创造更多新价值。”
谁能想到,非常认可小熊U租的联想不到一年时间就退出了投资人之列,一同退出的还有腾讯和京东,三方似乎商量好了一般,行动异常一致,截至发稿前,向善财经团队在网上并未搜到小熊U租方面关于该事件的表态。
近段时间,腾讯等巨头确实在主动缩小经营多年的投资版图,比如腾讯大举减持京东,腾讯回应称,“我们认为现在是适当的时间,采用适当的方式向腾讯股东直接分享我们对京东的投资成果。”
按照投资逻辑,京东确实已经到了释放投资成果的时候,但此次对于退出小熊U租投资人位置,性质可以说是完全不同,小熊U租明显还处于成长阶段,甚至没有上市。难道小熊U租“不香”了吗?
在向善财经看来,或许是整个行业已经到了“祛魅”的时刻。
据数据服务公司调研显示,IT办公设备租赁行业在2020年市场规模超1400亿元,预计2023年将突破2000亿元。虽说这是一个千亿级别的市场,但是企业能够抓住的机会却不多。
对于企业来说,市场分为三个级别,一个是总预期市场,一个是预期可服务的市场,最后一个是实际可服务的市场。池塘有多大是一方面,自己能够从里面捞到多少鱼又是一方面。
IT办公租赁的千亿市场相当于总预期市场;预期可服务市场相当于企业所能覆盖的市场范围,比如有的IT办公租赁企业属于区域性经营,它的市场大小在于所覆盖这一区域的市场大小;实际可服务市场则由企业自身的资产规模、租赁运营能力、价值链是否完善等决定。
从总预期市场来看,这更像是一片难以开垦的盐碱地。在2015年左右时,IT租赁的市场渗透率大约在5%左右,而今天这个数据大约是6%~7%,增长缓慢,缺乏红利。而在欧美发达市场,2018年的IT办公设备租赁渗透率已经达到60%以上,相形见绌。
这背后的原因,从历史因素来看,在于中西方观念差异所致。
租赁变革了客户的消费模式,从传统的消费获得所有权到直接购买使用权。在国内,受传统观念影响,不管是B端还是C端都难以放弃对所有权的执念。因此,更加强调“使用权”的租赁模式难以深入人心。
小熊U租想要扩大实际可服务市场意味着首先要培育市场,改变用户观念,这一步往往是最难的。
更重要的原因,在于云计算市场的迅猛发展下,IT办公租赁走到了云服务的对立面。
云计算,从不被理解到成为现象级的存在,已经是最大的时代背景色。而云服务本身就是一种租赁,对比IT办公租赁,两者的区别在于,IT办公租赁是对存量资产的租赁,云服务是对增量资产的租赁。
租赁本质上是因为提高了社会性资产在全生命周期中的利用效率,所以创造了价值。IT办公租赁如何提高效率?是IT资产的规模化利用、规模化运营以及规模化服务。同理,如果太小、太散、太乱,租赁市场就难以支撑商品的规模化的处置和流通,就会带来管理残值/价格风险、库存以及周转的风险。
从资产规模、服务能力、运营体系等各个角度观察,云计算与IT办公租赁并不在一个规模量级,而且对IT办公租赁形成实质性碾压。未来企业或许只需要一台显示器和一根网线就可以实现随时随地办公,云计算将进一步压挤压了IT办公租赁市场的发展。
云计算可以说是巨头的天下,不管是腾讯还是京东,都有自己的云计算品牌,而联想也在发力服务器产品,为云计算添砖加瓦。这时候似乎就可以发现巨头们纷纷推出小熊U租小熊U租关联公司凌雄技术(深圳)的原因了,既然可以参与到更先进的商业模式里,为什么还要投资又“脏”又累又小的IT办公租赁行业?
当然,IT办公租赁或许不会消失,但作为一个小众市场,只能作为云计算的补充而存在。总的来看,虽然小熊U租已成行业头部,但在整个国内IT办公租赁行业很难撬开市场,未来或许也难言轻松。
小熊U租们难念的生意经
租赁是典型的长链条生意,因为租赁业务天然与客户的全生命周期相关联,各环节单独看利润并不高,在经过产业链各版块的协同后,整体上利润还不错。因此,租赁企业是天然的整合者,小熊U租也总是强调自身形成了IT综合解决方案与全产业链的服务闭环。
胡祚雄曾表示,IT办公设备租赁行业的收回成本周期和采购价格以及IT办公设备的运营能力呈正相关。但是在失去各大巨头投资后,在各环节失去了巨头的资源与协同,对小熊U租也是一个巨大的打击。
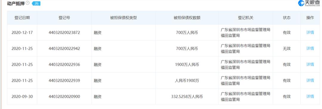
IT办公租赁需要重资产运营,上千亿市场背后需要至少万亿规模的IT设备资产的支撑,为了保证资产规模壁垒以及行业头部地位,小熊U租从2018年5月至今,完成了8轮融资。但据天眼查显示,除这些融资外,小熊U租还存在诸多动产抵押,被担保债权类型基本都是融资。
小熊U租曾多次强调自身不是融资租赁,而是经营性租赁,按说这些融资应该跟企业业务无关,难道动产抵押的目的单纯是为了融资换钱?还是巨头投资也无法满足小熊U租?
根据《物权法》的相关规定,抵押权的行使期限是借款到期后两年。借款到期后两年内不行使抵押权的,以后不得再行使抵押权。而小熊U租的部分动产抵押实际上已经到期,但状态显示依然有效。
这不禁让人想起了当初ofo和哈啰出行的动产抵押事件。当初,随着坊间对共享单车质疑声愈发强烈之时,戴威选择将400万辆单车以动产抵押的方式换取阿里17.7亿元借款融资,做最后一搏。
在2019年底,哈啰出行的运营主体是上海钧正网络科技有限公司,将所有单车资产抵押给上海云鑫创业投资有限公司(蚂蚁金服全资子公司),期限为三年(2019年12月4日-2022年12月3日)。抵押财产包括哈啰出行目前和将来所拥有的全部用于开展共享单车业务相关的单车,共计717万辆。这些资产被用来换取5亿借款。
最早的IT租赁仅仅提供设备租赁,现在的IT租赁还需要同步提供设备的安装、售后技术支持、管理系统、定制化系统开发等各种服务。从成本来看,随着IT设备成本普降以及越来越重度的服务,企业的成本也从设备转移至人工。
有IT租赁业内人士表示,日常维护是一个至关重要的服务环节,对于租赁设备出现的任何问题,租赁方的服务人员应当第一时间到场解决问题。后期的设备管理以及更新维护,也由租赁服务商负责。
小熊U租想要涉足租赁、回收、技术服务、资产管理等各个环节,成本必然不断上涨,资金压力、成本确实非常重,共享租赁的优势就在于用户的使用成本低 ,如果成本升高,也就不香了 ,何不自己去买?最终的产品归属权还是自己的。
从整个IT租赁市场来看,行业也在积极进行办公数字化转型,如果未来整个行业能够成为云计算产业链的一部分,或许小熊U租等IT办公租赁企业的前途会更加光明。
本文来自微信公众号 “向善财经”(ID:IPOxscj),作者:向善财经,36氪经授权发布。















