抛弃李佳琦的年轻人,涌进“三个小老头”的直播间

字母榜·2023年09月18日 07:39
热闹背后,国货走不出“艰苦”叙事

9月16日星期六,上午8点,10万人齐聚活力28衣物清洁旗舰店抖音直播间,他们看到的,是一个戴着眼镜的“小老头”在镜头前,背后是朴实无华的工厂,没有“小黄车”——有小黄车的时候,79元能买到31.2斤洗衣液。

这已经是连续第二天,这个“小老头直播间”早晨一开播就超过10万人同时在线。前一天上午的那场直播,峰值实时人数甚至突破27万。

这是9·10李佳琦事件之后,国货纷纷赶潮进行营销的一部分。谁能想到,一个花西子踉跄了,不知道多少个国货品牌却“站起来”了。

一句79块钱哪里贵了,反思一下是不是自己工作不努力,掀起了极大的负面舆论,李佳琦哭泣着的道歉也没能完全平息。国货品牌纷纷推出79元套餐,带着“看看我家79元能买多少货”自豪,吸收着汹涌而至的“反骨”流量。

过去5天之间,国货品牌使出浑身解数直播,甚至结成“联盟”,贡献了一个个经典名场面,蜂花和鸿星尔克联动,后者在抖音直播间用蜂花洗头,以自家鞋底搓头.贵人鸟老总穿着鸿星尔克的衣服直播,边用蜂花洗头,边喝着汇源果汁。不抬头看看直播间名,都不知道“我是谁我在哪儿”。

“活力28衣物清洁旗舰店”抖音直播间的三个小老头,就是在这个背景之下突出重围,以笨拙接地气的风格、感人的背景故事,打开了局面。

5天,抖音账号“活力28衣物旗舰店”涨粉超过300万,直播11场,场均在线人数峰值10万,直播销售额在1000万到2500万元区间。

然而,活力28背后的故事远不止“良心品牌绝地反击”那么简单,而热闹的“三个老头”直播间背后,却恰恰隐含着国货的困境。

短暂的春光扫过之后,国货们是绽放结果,还是继续“营养不良”?“反骨”流量淡去之后,国货也许还在困境中。

01

活力28,何以火爆至此?

就算你错过了小老头的抖音直播,也可以在评论区看到他们的江湖传说,在各方的录屏片段里一睹他们的经典时刻。

三个完全不知道怎么直播的大叔,让这届网友把看直播买东西玩了养成类游戏。

一开始,粉丝让他们叫“宝宝”,大叔们叫不出口,就唤“孩儿们”;粉丝提醒他们关掉“晚发赔付”,担心他们发货跟不上会被罚款,大叔们面面相觑,根本听不懂是什么意思;大叔们没有直播间“违禁词”的概念,总是说错话、直播间被封,在粉丝的建议下准备了一张写着“自助下单”的纸,却不懂怎么关闭镜像效果,只能将纸反过来展示。

粉丝建议他们发发福利红包,大叔研究半天,给自己送了个直播间礼物,“热气球”的动效掠过屏幕,大叔期待地问粉丝:“你们收到了吗?”甚至到了晚上下播,“三个小老头”和粉丝招手说再见,转身离开了,连手机都不知道关。

粉丝送礼,大叔们极力制止,让大家“不要破费”,还说“我查了,一个XX一块钱呢,能买多少洗衣粉啊!”直播间的小黄车一上货就被一扫而空,大叔抬眼说“你们丧失理智了”“我要给你们踩踩刹车”。

让这一切戳中心巴的是,网友们在口口相传中得知“背后的故事令人暖心”:活力28居然是一个70年的老国货品牌,而现在却濒临破产;这个直播间匆忙加入此次的国货赶潮,却连一个直播专业人员都没有,是背后主体的高管们亲自上场。

粉丝呼吁请个年轻人帮帮忙,大叔扶了扶眼镜说“我就是最年轻的”;面对粉丝对产能的担忧,小老头反复强调后勤很强,背后却是几个同样上了年纪的阿姨们在疯狂劳作。

对直播间的数万人来说,这是与以李佳琦为代表的大主播直播间完全不同的体验。在这里他们不仅被体谅,被关心,还重拾了作为消费者的尊严。

一时间,“三个小老头直播间”成为了一个符号,成了“反李佳琦/花西子们”的急先锋,不论他们的本意是什么。

国产品牌被分为“国货营销类”和“真良心国货类”,花西子是前者的代表,79元三只的眉笔,已经被网友算明白了,被质疑克重比黄金还贵。而活力28们则成了后者的曙光,价格低廉,“工作努力”,和消费者一家亲。

02

活力28爆火了,然后呢?

9月15日晚间23时,活力28直播间实时人数降至5万,虽然也很高,但比起同日一大早10万人观看的“盛况”,已经下降了不少。“小老头”们虽然还是比不上专业主播,但已经熟练了不少,“宝宝们”学会了,对小黄车“出走”见怪不怪了,不再如前一天那样状况百出。

值夜班的大叔对着大家说,今天应该不会通宵了,播到半夜1点就下播了,呼吁大家早点休息。

一些人在评论区留言“奇强老板都哭了,大家都去支持支持吧”。这一天的晚上,奇强董事长在抖音直播间“营业”,观看人数突然从50人陡增到几千人的时候,他激动得哭了。被感动的网友跑去别的直播间“摇人”,评论区开始出现“我是从活力28那里来的”。其后,提到早些时候的落泪,董事长再次哽咽,随后低下头擦眼泪。

国货品牌直播间突然火起来、被“野性消费”,已经不是第一次,但突如其来的流量如潮水,总会有退潮的时候。而这也意味着产品销售在一波高峰之后,有可能回归平淡。

2021年7月,鸿星尔克在自身连年亏损的情况下,向河南郑州特大暴雨灾害灾区捐款5000万元。被“破产式捐款”感动的网友涌入鸿星尔克的直播间,大呼要“野性消费”,鸿星尔克单场直播销售额巅峰时达到2200万元,销量翻了52倍。

其后,鸿星尔克又多次捐款,但用户似已疲劳,直播间销售额在一年之后就已经回落到100万以内的水平。据新抖,在目前的一波国货赶潮中,近7日鸿星尔克场均销售额在100万到250万,但若看近30天的数据,其场均销售额仅有25万到50万。

2022年的央视315晚会上,“土坑酸菜”的曝光波及康师傅、统一等方便面品牌,白象却以“放心吃”收获好感。同样是“野心消费”的流量汹涌而至,白象的抖音账号一周涨粉近30万,一个月直播销售额超过1500万元,直播实时人数也经常在数万人水平。

然而,半年之后,白象直播间的月销售额就已经回落到550万元,实时观看人数下降到几百人。即便是这两天也没有打开局面,9月15日晚间,白象直播间的实时观看人数只有一千多。据新抖,近7天其场均销售额超过500万,但近30天在100万到250万元的区间内。

流量甚至有一定的反作用力,鸿星尔克爆火后曾经历“诈捐”争议,而白象则因有消费者投诉称,在白象电商旗舰店购买的方便面面饼里有活体蚂蚁,而被推上风口浪尖。

上述两个品牌,还都有目前活力28并未展现出来的反应力,在产品和营销上都纷纷进行了革新,并积极扩大规模。

03

几乎注定会消退的热度,可解国货品牌的近渴,但解决不了根本问题。

值得注意的是,活力28背后的故事并不仅仅是“濒临破产努力向前冲”那么简单。

爆火的抖音直播间账号“活力28衣物清洁旗舰店”,店铺信息显示其属于“成都意中洗涤用品公司”。而活力28品牌所属的湖北活力集团在抖音有官方账号,名为“活力28官方旗舰店”已经在数月前就已经停止运营。

现在爆火的“三个小老头直播间”背后主体,可能是活力28的生产线之一,其是否如网传般也被活力28集团欠债,其爆火是否有望“盘活”这个深陷麻烦的品牌,目前尚不清楚。

正如“三个小老头”所言,活力28是一个70年的老品牌。在70年间,这个品牌可谓几起几落。上世纪末巅峰时期,活力28曾占全国洗涤市场份额60%以上,第一家赞助央视春晚的企业、第一家全国500强企业。

然而,1994年之后,活力28渐失活力,并最终在2006年被迫停产。2007年,活力28曾与湖北稻花香集团合作,宣布重出市场,最终却在2015年黯然解散。

最近一次的“复活”是在2017年,荆州与泰国安宝集团正式签约,后者投资30亿元重启品牌,指派曾在职业经理人李健飞为法人代表,成立湖北活力集团,他曾在宝洁工作16年。刚成立不久,活力28就拿到首建投资本的投资,2019年又陆续拿到红杉中国、星瀚资本、挑战者资本等的融资,正式重启业务。

其后几年,活力28似乎真的“活过来”了。2019年,活力28营收1亿元,此后两年又节节攀升:2020年营收5.6亿元,2021年营收20亿。

也是在这一时期,活力28开始出现在线上渠道,自建了电商旗舰店,并且走入大主播直播间。在2020年5月,央视主持人朱广权和李佳琦曾合作进行国货直播带货,活力28准备的30万件商品在30秒内被抢空。同年双11,仅在天猫平台,活力28就卖出各类单品总计2500余万件。

就在2022年2月,活力28还又拿到了一笔融资,红杉中国、星瀚资本、挑战者资本和北京未来启创基金管理为其带来股权投资。

然而,一切都在2023年按下的停止键。年初,活力28被曝拖欠员工4个月薪资、无法兑现部分经销商贷款等。到了6月,传活力28做出全体员工停工停薪的决定,李健飞对媒体表示自己已经抵押了房子,也表示活力28会“重新启动”。

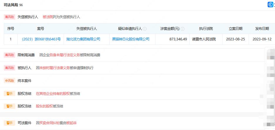
但李健飞所承诺的“重新启动”目前还尚未发生,我们看到的,是企查查显示李健飞在近两个月的一起案件中,被法院列为失信被执行人。活力28的官方抖音账号,在今年3月之后再无更新。

而背后主体是“成都意中洗涤用品有限公司”的抖音账号,却在“三个小老头”的加持下,将活力28送上热搜。

04

在今年6月《每日经济新闻》的报道中,虽然李健飞表示“渠道是全面盈利了”,但多位湖北活力集团员工对公司的盈利状况表示质疑。重启后的活力28多次得到资本青睐,但拓展渠道、扩充公司规模、执行低价策略,可能存在“烧钱”问题。报道中提到,低价策略成了公司员工争议的主要话题,“9.9元2kg的大单品到底赚不赚钱”?有员工表示“公司一直没有考核过利润”。

进一步地,员工“保守估计”了公司的负债情况,可能有近1亿元银行贷款、1.2亿元供应商欠款以及3000万元以上的员工工资。

如今让消费者颇为感动的“79元31斤洗衣液”,其代表的低价策略并没能带活力28走远。而这样的产品好价格低但陷入困境的国货品牌我们并不陌生:鸿星尔克豪捐5000万元而出圈时年亏损2.2亿元;白象曾在2018年提出5年内达到300亿规模(2021年上半年康师傅方便面业务营收127亿元),但目前的市场占有率仅为7%……

而从低价策略中出逃,却是一条险路,花西子就是最好的例子。另一个典型的例子是扛起国潮大旗的李宁,近年来积极创新,尝试高端鞋型,但最近3年其最受青睐的鞋款销量呈快速下滑趋势。去年,李宁的韦德之道10登顶得物实战鞋王榜单,但22万人标记动心,只有1.5万人真的购买,购买率低于同等条件下的耐克。

2022年年度报告则显示,李宁存货同比上涨37%,是国内几家头部运服品牌中唯一增速上涨的。而收入增速,则从上半年的21%降到8.2%。

9月15日刚过去23分钟,“活力28衣物清洁旗舰店”下播了,坐镇晚间的小老头显得有些疲惫。虽然分割成了4场,但直播场次之间几乎没有停顿,这一天“三个小老头”从早晨7点就一直直播到午夜过后。

希望在扣除原料与生产、损耗和物流成本之后,小老头们依然可以赚到钱。也希望代工厂的这波努力,真的可以助益活力28品牌的重振。

更重要的是,重生还要走老路吗?

本文来自微信公众号“字母榜”(ID:wujicaijing),作者:毕安娣,36氪经授权发布。

+1
350

好文章,需要你的鼓励

参与评论
评论千万条,友善第一条
后参与讨论
提交评论0/1000
特邀作者

让未来不止于大。勾搭加微taiqiuhenniu

下一篇

拿出真金百亿以示诚意

2023-09-18

36氪APP让一部分人先看到未来
36氪
鲸准
氪空间

推送和解读前沿、有料的科技创投资讯

一级市场金融信息和系统服务提供商

聚焦全球优秀创业者,项目融资率接近97%,领跑行业