Google公布基于位置识别的智能手机解锁专利
Google刚刚公布了一项基于位置的智能手机解锁专利。该专利可根据用户所处地点自动修改解锁模式。比方说,如果用户位于家中或办公地点,那么滑动即可解锁;如果用户处在公共场所或未知位置,那么解锁可能就需要用户输入密码。
Google刚刚公布了一项基于位置的智能手机解锁专利。该专利可根据用户所处地点自动修改解锁模式。比方说,如果用户位于家中或办公地点,那么滑动即可解锁;如果用户处在公共场所或未知位置,那么解锁可能就需要用户输入密码。
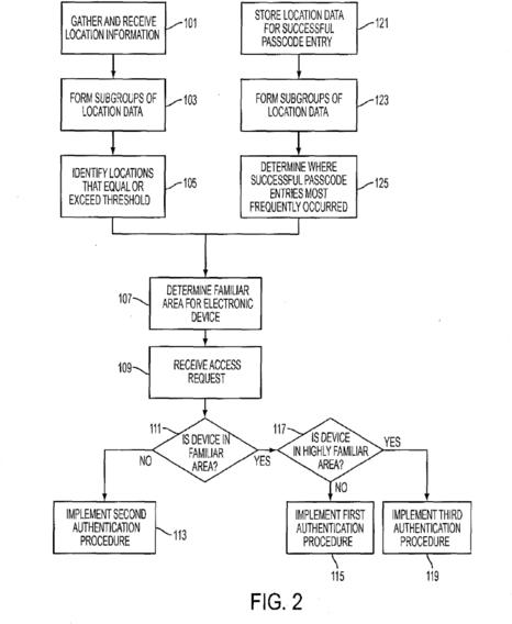
此项专利系统的流程如下图所示。
一方面系统会收集位置信息,然后对其进行分组,确定位置数据是否等于超出阀值(即确定是否用户熟悉的地点)。在收到访问请求时,系统将会确定设备位于熟悉地点,然后根据用户对该地点的熟悉程度确定解锁模式。
从图中可见,Google对位置分为三类:高度熟悉、一般熟悉及不熟悉。用户所在地越陌生解锁则越困难,所在地越熟悉则解锁越容易。这种位置感知技术兼顾了安全性和便利性,令智能手机解锁更加智能。















