2022年可以开始期待的7大苹果产品亮点功能
神译局是36氪旗下编译团队,关注科技、商业、职场、生活等领域,重点介绍国外的新技术、新观点、新风向。
编者按:据全球综合数据资料库Statista,近十年来,苹果每年都会提交约1000项专利申请,其中,2012年苹果申请专利数最多,达1892项。通过这些专利,我们能了解并预测苹果产品未来的功能趋势。这篇文章来自编译,文中根据苹果最近申请的一些专利文件,介绍了从2022年开始,苹果可能会陆续推出的七大亮点功能。
1. 只响应主人声音的Siri
众所周知,苹果是一家非常注重隐私的公司,并一直致力于将隐私和安全两大功能整合到尽可能多的苹果产品中。在不久的将来,Siri将更新一个备受欢迎的基于隐私保护的功能。
该功能将为Siri引入一个语音识别系统,它能够区分主人和陌生人的声音,并且只有在识别到主人声音时才会响应查询并执行请求的操作。
图片来源:Patently Apple
据美国专利及商标局(US Patent &Trademark Office)发布的一项苹果公司专利,该专利技术将首先应用于苹果的AirPods无线耳机中,之后再陆陆续续应用到其他苹果产品,包括iPhone、Mac,以及Homepod智能音箱等。
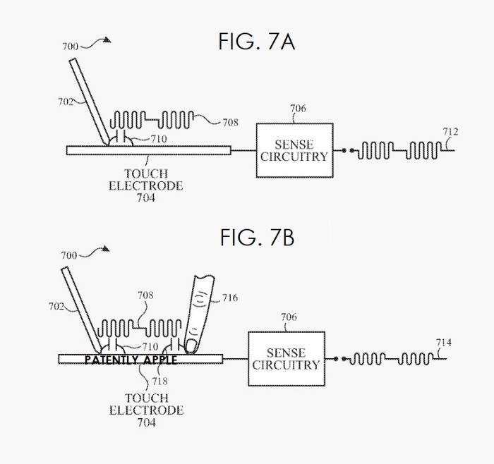
2. 适用于iPhone、Mac以及Touchpad触控板的Apple Pencil
图片来源:Wcctech
据苹果提交的另一项专利显示,苹果正在为iPhone、Mac以及Touchpad触控板研发一种双触控传感器。该传感器既可以探测具有导电特性手指和触控笔,又可以探测Apple Pencil等主动式触控笔。
图片来源:Patently Apple
由于双触控传感器同时支持被动和主动触控,所以该功能在iPhone或Mac上的体验可能与在iPad上使用Apple Pencil稍有不同。同时,它可能也不支持防手掌误触技术(palm rejection)或其他功能。
不过,用它在iPhone或者Mac上手写笔记,将仍然是非常友好的体验。
3. 支持反向无线充电的iPhone
反向无线充电技术在智能手机领域并不是一个全新的功能,三星和华为等其他制造商也已经涉足该领域有一段时间了。
图片来源:MacRumours
苹果似乎才刚刚涉足这一热点领域。据苹果最近提交的一项专利显示,未来的iPhone将采用线性氟化聚合物涂层,从而实现防指纹和反向无线充电两大功能。
图片来源:Patently Apple
除iPhone外,预计未来的iPad背部面板也将采用类似涂层,以支持反向无线充电。该功能一旦在iPhone和iPad上实现,未来很可能只需将AirPods、Apple Watch,甚至其他iPhone设备放在iPhone或iPad的背面,即可实现无线充电。
4. 支持虚拟键盘和iPhone充电板的MacBook
图片来源:Matthew Moniz
这一项可能是最令人期待的功能。据苹果申请的专利文件显示,预计未来MacBook将拥有一个取代物理键盘区域的虚拟界面,上面可能还会配置键盘按钮,游戏界面图标或符号,基于应用的控件,甚至还包括虚拟触摸板。
图片来源:Patently Apple
该虚拟界面还可以通过配置接受手势输入,比如捏拉缩放和滑动滚动等手势。
该专利还揭露了另一项同样令人期待的功能,新版MacBook可能会在面板左下角配置一个无线充电器,以方便用户给iPhone甚至是Apple Watch和AirPods等产品充电。
5. 具有温感功能的AirPods
随着苹果在iPhone、Apple Watch和Mac等产品中添加越来越多的健康相关的功能,他们也在考虑在AirPods上添加类似功能,这一点就不足为奇了。
有报道称,根据苹果最近提交的一项专利文件,苹果将在未来的AirPods中添加温度传感器包,以测量用户体表温度。该传感器将更好地监测用户的各项健康指标状况,通过测量用户的体表温度,还可以更轻松地检测血液循环流速,并了解用户是否存在发烧情况。
图片来源:Patently Apple
由于苹果计划将温度传感器包集成到可以直接与皮肤接触的可穿戴设备结构中,因此,有望在未来的Apple Watch产品中期待这一功能。
6. 带无线充电板的妙控键盘
iPad妙控键盘是苹果近年来推出的最成功配件之一。在即将推出的新款妙控键盘中,苹果可能会添加该项新功能,此举也有望让这款产品的销量攀升。
根据苹果最近的一项专利申请文件,苹果正在研发新一代具有无线充电功能的妙控键盘,届时可以直接为iPhone、Apple Watch甚至AirPods等产品充电。
图片来源:Patently Apple
这一功能可能类似于MagSafe充电器,因为该专利还详细描述称,其无线充电器线圈将包含磁铁,从而将充电设备完美固定。
新的设计可能还包括一个可以接收和存储无线电源的电池,因此,用户可能都无需连接电源就能实现为妙控键盘无线充电。
7. 带集成生物传感器的MacBook
目前,我主要把配备M1芯片的Mac Mini作为主电脑。一旦苹果正式发布此功能,我可能会考虑购买新的MacBook。
据苹果最新提交的一项专利文件显示,未来的MacBook将在掌托区配置一个集成生物传感器,用于测量用户的各项健康指标。
对于没有购买使用Apple Watch的用户而言,这一功能是个好消息。即便用户已经拥有Apple Watch,也不大可能一直佩戴它。新款MacBook内置集成生物传感器恰好位于用户经常放手的位置,因此,用户可以随时便利地了解自身健康各项指标。
图片来源:Patently Apple
集成到MacBook中的生物传感器有望帮助用户监测心率、血压、身体含水量、血氧水平,以及呼吸速率等健康指标。
用户如果长时间使用MacBook的话,那这项功能将起到非常重要的帮助作用。毕竟,它可以连续数日追踪用户的健康数据,甚至了解用户的健康状况趋势,从而帮助用户更好地了解自身健康状况。
译者:俊一















