张同学500万开了一家公司?他的成功还要感谢周星驰

知产力·2021年12月17日 07:05
“张同学”火了。

最近,“张同学”火了,火到什么程度呢?去年到今年,也许只有两个人可以相提并论:火在秋天的王冰冰,火在冬天的丁真。

张同学从抖音出道两个月,现在已经有1600万粉丝,获赞5446万,多少天王巨星入驻,都没有这个排面。

在张同学出来之前,以展示乡村生活博得关注的网络红人不少,“奥利给”的冬泳怪哥,华农兄弟等,但张同学创造了一种全新的乡村流派,真实而又洒脱。

清晨,从土炕上突然惊醒,随即拿起炕柜上用了一半的手纸,踩起地上的鞋,冲向院里的茅坑,蹲了下去……

要不是张同学,谁敢想这样的视频能火,还能有上百万的点赞,千万级别的播放?不过以事后诸葛亮的视角来看,他的视频自有其独到之处:

首先,是风格独特,一以贯之的BGM,《Alohan Heja He》,这首德国歌曲,听多了之后实在很上头,歌曲洒脱之感为视频增色不少。

第二,剪辑干脆利落,场景切换丝毫不拖泥带水,节奏鲜明。

第三,镜头语言考究,户外全景为主,室内主要为特写,把想让观众看到的不打折扣展示在屏幕中,竖屏观感好。

据新华每日电讯报道,张同学本名张凯,现在36岁,初三辍学后,他做过大车司机,与朋友合伙开过汽修厂,但都“没成大事”。汽修厂还因管理不善、意外失火,赔了30多万元,前几年张凯返回了家乡,松树村。

换言之,张同学是一个“见过世面”的人。

相信很多人都会对张同学如此高水平的拍摄和剪辑水平十分好奇,怀疑他是由专业团队包装出来的,是个工具人。

但事实并非如此,因为张同学有一个十分令人信服的理由,这个理由指向周星驰。

张同学说,我最喜欢看周星驰的电影,周星驰的很多镜头都很刁钻,我每次都把自己想象成摄影师,会从哪个角度拍成这个效果。

张同学的后网红之路怎么走?小编从知产宝相关数据库找到了一点端倪。

12月10日,一家名为辽宁省张同学农业发展有限公司的新企业在营口市注册成立,注册资本500万元,“张同学”张凯担任公司经理,一位名叫张克学的人拥有这家公司100%的股权。

(图源:知产宝相关数据库)

成立这家农产品公司,必然有张同学回馈乡里的初衷在,也符合乡亲们对张同学的期盼,张同学的邻居李大娘说“张凯他很老实,我倒不怕他变坏,就希望他以后能把我们附近村子的农产品都卖出去。”

目前尚无这家新公司的更多信息,小编单纯猜测,这家公司会不会是由张同学和他的伙伴们,甚至村民们一起集资设立的公司?

不过,那句“人怕出名猪怕壮”,在张同学身上也依旧应验。

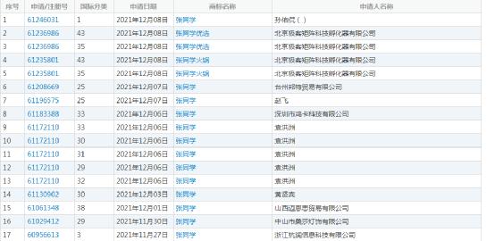
张同学火爆全网的这段时间,一些公司或个人已经申请了不少“张同学”相关的商标,目前已有17件。

这段时间。傍张同学大名成立的公司也有两家,都算是张同学的辽宁老乡。

(图源:知产宝相关数据库)

机会只眷恋有准备的人,从张同学身上,我们看到在短视频的巨大潮流下,以真实为底色的风格化创作依然拥有巨大的受众空间。

也希望张同学树立知识产权意识,用法律手段保护好自己的巨大IP,真正消化他短时间积累的品牌财富,带领乡亲们共同富裕。

本文来自微信公众号“知产力”(ID:zhichanli),作者:秦玄衣,36氪经授权发布。

+1
4

好文章,需要你的鼓励

参与评论
评论千万条,友善第一条
后参与讨论
提交评论0/1000

下一篇

短视频新规严厉打击短视频违规行为

2021-12-17

36氪APP让一部分人先看到未来
36氪
鲸准
氪空间

推送和解读前沿、有料的科技创投资讯

一级市场金融信息和系统服务提供商

聚焦全球优秀创业者,项目融资率接近97%,领跑行业