宗馥莉辞职,“大女主”剧本难演
10月10日,多家媒体报道称,从接近娃哈哈的人士了解到,宗馥莉已于9月12日向娃哈哈集团有限公司辞去公司法人代表、董事及董事长等相关职务并已通过集团股东会和董事会的相关程序。
宗馥莉面临的挑战不止于此。
据财新报道,娃哈哈集团的核心成员严学峰因为涉嫌违纪,被杭州市上城区纪律检查委员会立案调查,未经纪检委同意,娃哈哈集团不得批准其出国、辞去公职,不得批准对其交流、晋升、奖励、处分或者办理退休手续。
10月10日,澎湃新闻记者从知情人士处获悉,严学峰已回到宏胜集团正常上班。不过,一些分析人士认为,这并不意味着严学峰已经过关。
资料显示,严学峰现为宏胜饮料集团有限公司生产中心总监,是公司的核心高管之一,严学峰还在娃哈哈有关联的近190家公司中担任监事。
此前在9月26日,香港高等法院在官网公布相关文件,判决结果是驳回以宗馥莉为代表的被告人在传票中提出的上诉许可申请。
与此同时,宗馥莉还面临“娃哈哈”商标不能使用的风险。
9月13日,一份由宗馥莉主导的杭州娃哈哈宏辉食品饮料有限公司“关于开展2026销售年度经销商沟通工作的通知”内部文件流出,并引起全网热议。
该文件显示,自娃哈哈集团创始人宗庆后离世后,由于“娃哈哈”品牌复杂历史遗留问题一直没能得到解决,为规避相关法律风险,公司决定从2026年新的销售年度起,更换使用新品牌“娃小宗”。
有分析人士认为,种种迹象显示,围绕宗庆后的遗产争夺战日趋白热化,宗馥莉的“大女主”剧本不好演。
宗馥莉接连受挫
已经辞职的宗馥莉,近期面临多重挑战。
近日,杭州坊间传出宗馥莉被带走的消息。10月9日,第一财经记者从一位接近娃哈哈的知情人士了解到,宗馥莉该日正常上班。
另据财新10月2日报道,严学峰因为涉嫌违纪,被杭州市上城区纪律检查委员会立案调查,立案通知书已发送给娃哈哈集团党委。
天眼查资料显示,严学峰出任生产中心总监的宏胜饮料集团有限公司成立于2003年,注册资本1025万美元,经营范围包括食品销售(仅销售预包装食品);食品添加剂销售等。
截至目前,宏胜饮料集团有限公司对外投资了南宁宏胜食品有限公司等58家公司。
宏胜饮料集团有限公司主要人员共有4名。其中,宗馥莉出任董事,严学峰出任监事。
天眼查资料,严学峰关联企业高达189家,包括娃哈哈商业股份有限公司、杭州娃哈哈启力食品集团有限公司等。
这并非宗馥莉近期遇到的唯一挫折。
据南方都市报,9月26日,香港高等法院在官网公布相关文件,判决结果是驳回以宗馥莉为代表的被告人在传票中提出的上诉许可申请。
该判决只是宗庆后遗产争夺战的最新一幕。
今年7月中旬,娃哈哈创始人宗庆后三位子女宗继昌、宗婕莉和宗继盛与宗馥莉的遗产纠纷案曝光,这场在香港和杭州两地法院同步进行的诉讼引发了广泛关注。
据媒体报道,宗庆后与宗馥莉曾签订一份委托协议。根据协议内容,宗庆后委托宗馥莉设立三个境外信托(“信托A”“信托B”“信托C”,合称为宗氏境外家族信托),信托A以宗继昌及其子女作为信托受益人;信托B以宗婕莉及其子女作为信托受益人;信托C以宗继盛及其子女作为信托受益人。该宗氏家族信托受益人仅包括宗继昌、宗婕莉、宗继盛及其子女,信托利益为他们的婚前个人财产,受益人不包括该等人士的配偶。该信托总金额21亿美元。
2024年12月,宗继昌、宗婕莉和宗继盛在香港发起诉讼,原告律师确认,这三人是宗馥莉的“同父异母弟妹”。三名原告主张他们作为宗庆后的子女,应享有平等的继承权或信托受益权,要求“拿回信托资金”。案件涉及的公司包括沈阳娃哈哈荣泰食品有限公司等,宗婕莉和宗继昌于2022年12月成为该公司董事。原告申请临时禁制令,防止宗馥莉处置、处理JianHaoVenturesLtd.账户内的资产,以避免资产减值。涉案账户截至2024年5月已有约110万美元转出,原告要求宗馥莉提供账户自2024年2月2日以来的余额、资产、收入和支出记录。
8月1日,娃哈哈争产案香港高院关键聆讯。当日,香港高等法院颁发非正审禁制令,裁定宗馥莉在杭州中级人民法院及浙江高级人民法院诉讼有结果前,除非法庭有其他命令,否则不得从JianHaoVenturesLimited的香港汇丰银行帐户提款或转帐任何资产。
押宝“娃小宗”?
接连受挫的宗馥莉,还面临“娃哈哈”商标不能使用的风险。
根据国家知识产权局相关资料显示,“娃哈哈”商标目前属于杭州娃哈哈集团有限公司(下称“娃哈哈集团”)。
值得关注的是,今年1月21日,娃哈哈集团对387件“娃哈哈”系列商标启动转让程序,受让方为杭州娃哈哈食品有限公司,且“申请收文”环节已结束。
天眼查资料显示,杭州娃哈哈食品有限公司实际控制人为宗馥莉,其持股比例达62.47%。
今年5月,娃哈哈集团就此事回应称,因前期娃哈哈商标的转让尚处于登记备案过程中,具有不确定性,公司不排除在近期推出全新的自有品牌。
5月12日,娃哈哈集团官方公众号“娃哈哈家园”(现更名“哈哈号角”)发文中,亦曾曝光了一款以“娃小宗”为名的无糖茶饮料,口味为“凝香乌龙”。
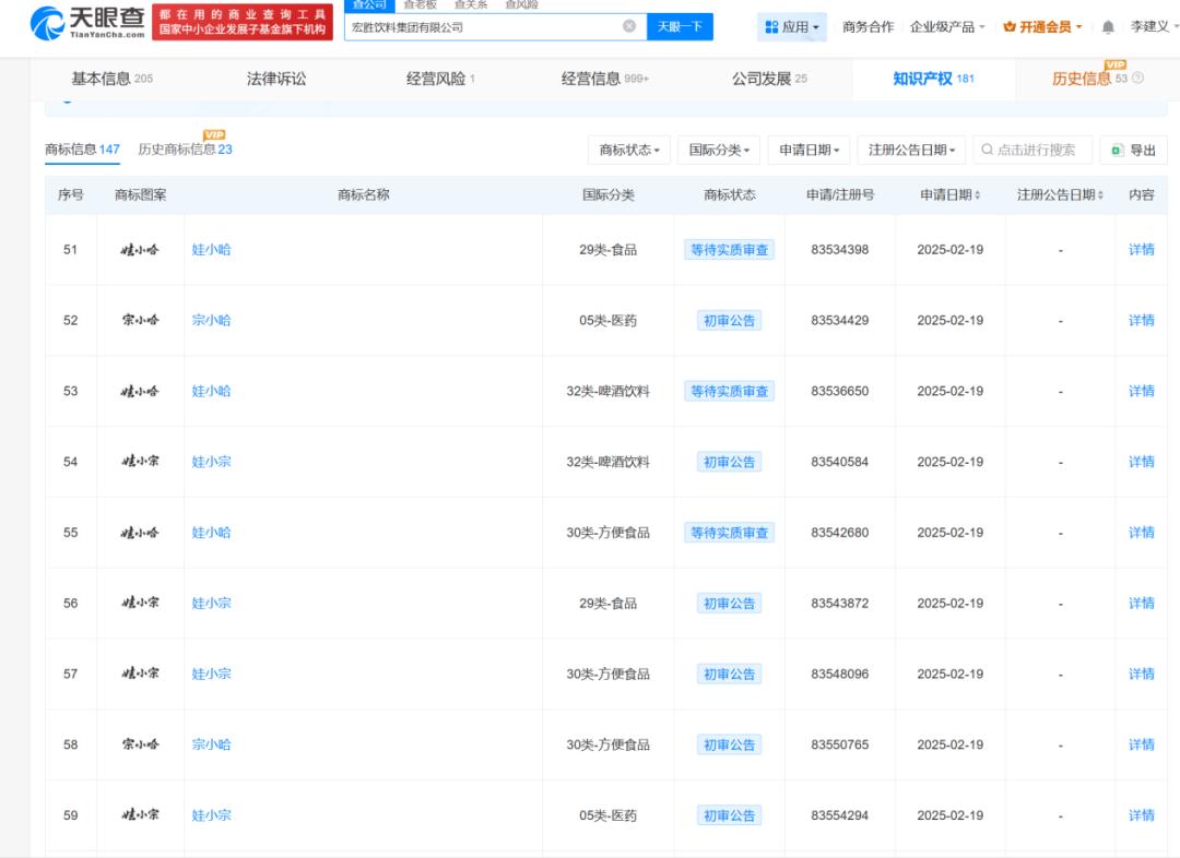
据天眼查显示,由宗馥莉主导的宏胜饮料集团有限公司在今年的2月份至5月份申请了多个涵盖不同领域的“娃小宗”商标以及类似的“娃小哈”、“宗小哈”等商标。
7月17日,有媒体报道称,针对宗庆后遗产纠纷,杭州市上城区财政局相关人员称:已经有(成立)专班在介入处理,希望能尽快处理此事。但暂未明确回复专班是否由上城区财政局牵头。
今年9月份,多家与娃哈哈相关的饮料企业发生工商信息变更:2025年9月2日,南阳娃哈哈昌盛饮料有限公司变更为南阳宏胜恒枫饮料有限公司;2025年9月5日,山西娃哈哈昌盛饮料有限公司变更为山西宏胜饮料有限公司;2025年9月8日,虎林娃哈哈饮料有限公司变更为虎林市宏胜饮料有限公司。
相关行业分析师指出:企业更名往往伴随品牌升级或业务重组。
9月13日,杭州娃哈哈宏辉食品饮料有限公司“关于开展2026销售年度经销商沟通工作的通知”内部文件流出:公司决定从2026年新的销售年度起,更换使用新品牌“娃小宗”。
前述文件称,自娃哈哈集团创始人离世后,公司一直努力推进解决各项历史相关遗留问题。然而在现行股权架构下,“娃哈哈”商标的使用,须获得娃哈哈集团全体股东的一致同意,否则任何一方均无权使用。
为维护“娃哈哈”品牌使用的合规性,公司决定更换使用新品牌。
天眼查资料显示,杭州娃哈哈宏辉食品饮料有限公司法定代表人为宗馥莉,且由宗馥莉出任执行董事。
值得一提的是,上海娃哈哈饮用水有限公司在7月初被娃哈哈集团要求停止使用“娃哈哈”商标。
据澎湃新闻报道,20多年来,上海娃哈哈饮用水有限公司从未亏损,营收逐年攀升,去年已在上海桶装水市场排名前三,营收超1.2亿元。
近日,上海娃哈哈饮用水有限公司推出“沪小娃”品牌桶装水,产品与此前生产的娃哈哈桶装水一样。
对于推出桶装水,9月26日,上海娃哈哈饮用水有限公司方面人士向媒体表示:“推出新品牌是为了活下去的无奈之举,做新品牌需要时间,也很难,我们有心理准备。”
“娃哈哈”品牌遭到伤害
作为“娃哈哈”当前品牌的拥有者,娃哈哈集团前身为1987年成立的为杭州市上城区校办企业经销部,其企业产权100%属于上城区政府。
在宗庆后的带领下,杭州市上城区校办企业经销部不断发展壮大。1991年,杭州市上城区校办企业经销部收购杭州罐头食品厂并更名为娃哈哈集团。
1999年底,娃哈哈集团进行改制,授予宗庆后和员工股份。
据天眼查数据显示,尽管宗庆后身为“娃哈哈”品牌的创始人兼首任董事长,但在娃哈哈集团的股权结构中,宗家仅持有29.4%的股份;而杭州市上城区文商旅投资控股集团有限公司持有46%的股份,是娃哈哈集团实际上的控股股东;剩余24.6%的股份则归属于娃哈哈集团职工持股会。
宗庆后在世时,打造了“一妻一女一布鞋”的人设,娃哈哈积累了巨大的品牌价值。根据品牌评估机构GYBrand的2024中国最具价值品牌500强名单,娃哈哈品牌价值高达911.87亿元。
有食品行业从业人士向雷达财经表示,许多人因为宗庆后的人设而喜欢娃哈哈产品。而随着财产争夺战的不断进行,“娃哈哈”品牌遭到了巨大的伤害。参考红牛商标争夺战导致东鹏特饮上位的案例,“娃哈哈”遗产纠纷如果不能及时解决,有可能给其他竞争者带来抢夺市场机会。
本文来自微信公众号 “雷达Finance”(ID:leidaplus),作者:X编辑,36氪经授权发布。















