智能手机完全取消实体键?相关探索正在进行时

三易生活·2024年03月22日 20:01
即便是未来的方向,但至少现阶段要实现还有不少难度。

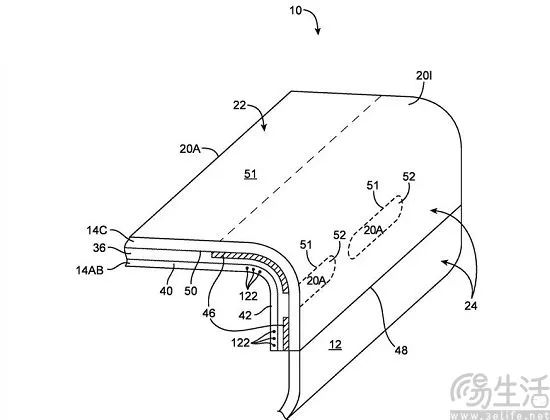
美国商标和专利局(USPTO)近日公示的相关清单显示,苹果方面获得了一项关于iPhone/iPad的专利,其主要内容是在机身侧边框处新增类似Touch Bar的功能区,用于增强用户的交互。在专利说明中,这一功能区域可用于显示控制键、用户界面,以及一些机身状态信息,还可提供额外的控制功能。

从这份专利不难发现,其所展示的是通过在iPhone/iPad侧面添加触控屏的方式,使得用户在握持设备的同时,能够通过简单的滑动、触摸等操作,快速访问常用功能或控制选项。从这个角度来看,其设计思路与此前在MacBook Pro上出现的Touch Bar颇有几分相似。

在相关专利的示意图中可以看到,实现这一功能是借助柔性屏幕的特性,将屏幕的一部分弯曲、并贴合在设备侧面,使得其能够形成一个连续的、可触控的显示区域。这一设计除了可以充分利用机身侧面的空间之外,也保留了设备整体的完整性,不会因为增加新的交互区域而显得过于复杂。

其实这种类似曲面屏的应用并不新鲜,早在多年前的三星Galay Note Edge上就提供了类似的侧边任务栏,并且在小米MIX Alpha概念机上也曾出现过类似的方案,因此基本可以将这一专利视为苹果对于柔性屏应用的一种探索。

但需要注意的是,如今在市场上,大曲率的曲面屏和基于其所实现的类似Touch Bar功能,都已经成为“非主流”元素,虽然其能够带来差异化的视觉和交互体验,但同样也要面对更多的挑战。

此前为了突出产品的差异化,安卓阵营在旗舰机型上曾大量应用大曲率屏幕,营造出机身两侧无边框的视觉体验,并带来更“轻薄”的视觉效果。但相比直屏和微曲屏,这类屏幕在实际使用中的难点在于需要确保如何在不同角度下都呈现出清晰、真实的图像,并降低由曲面屏弧度所带来的误触率上升等问题。

此外,如何让应用和相关功能与这类曲面屏融合,以及怎么降低成本,都是困扰这类大曲率曲面屏的难题。因此现阶段的安卓机型,基本都已经抛弃了这类屏幕方案。

另一方面,Touch Bar自诞生以来就饱受争议。尽管苹果将其用到MacBook Pro上是为了给用户带来更便捷的体验。但其实用性也饱受争议,有观点认为其华而不实,甚至可能会因为视线在屏幕与Touch Bar区域间来回切换造成割裂,导致工作效率的下降,最终这一配置也在2023年秋季正式退场。

所以将其引入iPhone/iPad是否会遇到同样的问题,毕竟相较MacBook Pro,手机和平板的屏幕尺寸本就更小,这些问题可能还会更为明显。因此尽管苹果的这一专利展示了其对大曲率屏幕的探索,但前景却依旧还充满变数。

事实上,目前在手机厂商的诸多探索中,完全取消实体按键、减少机身开孔也成为了其中的一个方向。这种方案的目的,则是为了实现机身更进一步一体化,并提升其防尘耐水能力。

其实取消实体按键的探索在手机市场并不是什么新鲜事,此前就曾有厂商尝试使用隐藏压感键配合X轴线性马达,来取代机身侧面的音量和电源实体键。此外屏幕发声技术的应用,也能进一步减少机身上开孔的数量,提升外观的整体性。不过由于实际使用体验、用户习惯,以及成本等方面的因素,上述方案目前已经非常,主流产品依旧还在沿用实体键。

而无线充电技术的进化,以及取消3.5mm耳机接口这一趋势,或多或少也有减少机身开孔方向的尝试。当前无线充电已经进化为无线快充,并能够降低用户对于接口磨损、线缆损坏等方面的顾虑,但现阶段这一功能暂时还只是旗舰产品专属。而取消3.5mm耳机接口可能是这类尝试中目前最成功的案例,但具体因素则有多个方面,其中起到重要推动作用的关键则是蓝牙技术的快速迭代,以及用户对蓝牙耳机、特别是TWS耳机需求的增长。

此外,类似静音拨杆这样的方案也表明相关厂商在不断尝试过程中,为适应用户需求的调整。目前就有爆料显示,苹果方面至少在短期内没有完全取消iPhone实体键设计的打算,甚至还有可能会增加按键,iPhone 16系列上据称就有望新增一枚支持通过触控来调整焦距的实体拍照键。

因此即便取消实体按键或是未来手机行业的发展方向,但至少现阶段要完全实现还有不少难度,而苹果此次被曝光的曲面屏相关专利,大概率也只是一种方案的探索。而对于任何一项试图颠覆现有使用习惯的方案来说,技术的先进性固然重要,但其最终商用的决定性因素,是在实用性和用户体验上能否实现平衡。

【本文图片来自网络】 

本文来自微信公众号“三易生活”(ID:IT-3eLife),作者:三易菌,36氪经授权发布。

+1
6

好文章,需要你的鼓励

参与评论
评论千万条,友善第一条
后参与讨论
提交评论0/1000

下一篇

曾经的重要股东,腾讯已退出金山办公主要股东行列。

2024-03-22

36氪APP让一部分人先看到未来
36氪
鲸准
氪空间

推送和解读前沿、有料的科技创投资讯

一级市场金融信息和系统服务提供商

聚焦全球优秀创业者,项目融资率接近97%,领跑行业