曾是国货香水NO.1,它遇到“坎”了
曾经的国货香水TOP 1品牌,或面临着被改名的危机。日前,青眼号外从国家知识产权局获悉,气味图书馆关联公司北京奕天世代商贸有限公司(以下简称:奕天公司)所申请的“气味图书馆”第3类注册商标被宣告无效。
这意味着,“气味图书馆”在化妆品行业不再享有商标权的保护,也代表一旦出现山寨假货,品牌很难以商标作为护盾。那么,品牌该何去何从?
01 曾位列天猫国货香水TOP 1
据国家知识产权局发布的公告显示,注册号为“17917508”,商标名为“气味图书馆”的第3类注册商标于2024年1月6日被宣告无效,宣告无效的项目涵盖第3类商标的所有商品/服务。
▍截自国家知识产权局官网
青眼号外了解到,第3类注册商标涵盖了化妆品、洗涤用品、香水等相关商品,是所有化妆品品牌必须申请、注册的商标种类。而此次被宣告无效的商标,就属于本土香氛品牌“气味图书馆”关联公司奕天公司所有。
据公开资料显示,气味图书馆成立于2009年,早期其作为品牌代理集合店起家,并在2014年之前先后代理过20余个国际香水品牌。
2015年,奕天公司将气味图书馆转型为自主品牌,并在随后的三年推出“凉白开”香水、“气味图书馆X大白兔”联名香水和香氛系列这两大爆品,成功脱颖而出。公开资料显示,2019年,气味图书馆全年收入高达4.8亿元,年复合增长率较2018年同期超65%。到2021年,其还获得了西班牙香水美妆集团PUIG的独家B轮投资,一时风头无两。
另有公开报道显示,2019-2021年,气味图书馆曾连续3年获得“天猫国产香水品牌NO.1”的称号。截止到2021年,其还在全国拥有近80家零售店铺。
青眼号外检索淘宝气味图书馆旗舰店发现,目前,该品牌店铺已累计粉丝387万,并形成了以香水、家居香氛、香氛洗护、香氛礼盒为核心的多品类布局,产品售价在20-300元不等。其中,旗舰店销量较高的产品有“香薰护衣留香珠”、“香氛沐浴露”等,销量突破10万+件。
▍截自淘宝气味图书馆旗舰店
但自2022年起,在各大购物平台大促、香水品牌排行榜单中,鲜少见到气味图书馆的身影。
02 43个第3类商标,仅4个注册成功
众所周知,商标对于品牌而言是一项重要的无形资产,是其身份的象征和区分本品牌与其他竞争者的重要手段,它不仅代表了品牌的形象和声誉,也是消费者识别和选择产品或服务的关键标志。
一个曾登顶国货香水TOP1的品牌,与品牌主营业务休戚相关的第3类注册商标却被宣告无效,到底是怎么回事?
通过国家知识产权局的公告,该商标被宣告无效是根据《中华人民共和国商标法》第十四条、第四十五条和第四十七条的规定。青眼号外检索发现,上述条例是针对已经注册的商标,出现带有欺骗性容易使公众对商品的质量等特点或者产地产生误认的、或者是以欺骗手段或者其他不正当手段取得注册等不符合规定情况的,可由其他单位或个人请求商标评审委员会宣告该注册商标无效。
换言之,涉事商标此前已通过注册,其后又因种种原因被其他单位或个人申请了无效宣告。
而据国家知识产权局公布的商标信息显示,青眼号外发现,涉事商标是奕天公司在2015年9月申请注册,并于2016年12月获得了注册证发文。
但在2020年1月15日,国家知识产权局收到了对该商标“宣告无效”的申请。
▍截自国家知识产权局官网
青眼号外随之检索发现,对该商标进行无效宣告请求的为“香港金捷(国际)集团有限公司”(以下简称:金捷公司)。在相关申请中,金捷公司认为第17917508号商标“气味图书馆”是香水、美容等行业的通用名称,且仅直接表示了商品的用途、销售场所等特点,缺乏显著特征。而奕天公司将之作为商标使用在指定商品上,易使消费者产生误认,系“为不以使用为目的的恶意注册”。
▍截自国家知识产权局官网
就此,奕天公司辩称,争议商标是由其独创,并不是香水商品的通用名称,也未对商品的质量特点及产地特点进行表述,也未直接表示商品的质量等特点,具有极强的显著特征。
但国家知识产权局审理查明认为,“气味图书馆”与奕天公司名义存在实质性差异,且易被消费者理解为“用来征集、典藏、陈列各种各样气味或具有各种气味的场所”。作为商标使用在洗发剂等商品上(前文提到,气味图书馆在售产品也包含洗发水,淘宝旗舰店有3个单品销量突破5万+件),易使公众对商品的来源、内容等特点产生误认;不易被消费者作为商标加以识别,不能起到区分商品来源的作用,缺乏商标应有的显著性。
基于《中华人民共和国商标法》的相关规定,国家知识产权局最终在2020年底,对该商标予以无效宣告。
在这之后的近4年时间,国家知识产权局又根据奕天公司提交的异议申请,对该商标有效性与否进行了多次审议,结果可想而知。2024年1月6日,国家知识产权局仍宣告该商标无效。
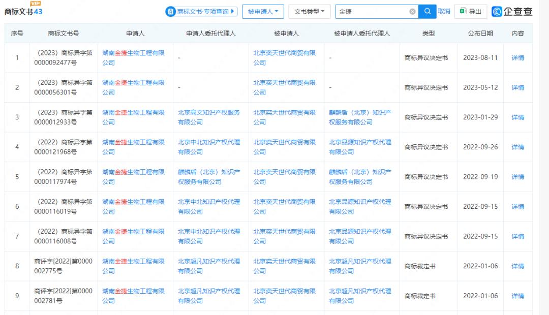
青眼号外发现,也是从2020年起,与金捷公司拥有统一法定代表人的“湖南金捷生物工程有限公司”(以下简称:湖南金捷),针对奕天公司注册的商标,至少发起了30次异议,或是申请已注册商标宣告无效,或是申请驳回奕天公司正在注册中的商标。而湖南金捷的大多数异议,均得到了国家知识产权局的部分认可。
▍截自企查查
据了解,金捷公司是一家以化妆品业务为主,同时涉猎水果及创意餐饮品牌连锁、文创产品开发等业务的企业,旗下拥有化妆品品牌美丽自造、肌之谜等。针对涉事三方持续4年的商标争议,青眼号外也尝试联系奕天公司、湖南金捷等进一步了解详情,但截至发稿未获回复。
值得一提的是,青眼号外以“气味图书馆”为关键词在国家知识产权局检索,发现奕天公司约申请了183个有关“气味图书馆”的商标,已有至少45个相关商标被“宣告无效”。
在这之中,奕天公司申请第3类商标有43个,但截至发稿,仅有“气味图书馆凉白开”“气味图书馆大麻花”“气味图书馆2B铅笔”“气味图书馆迷雾彩虹”4个商标注册成功,其余商标则处于“驳回复审”“不予受理”等状态。
▍截自国家知识产权局官网
其中,注册成功后又被宣告无效的第3类商标有12个,涉及商标名有“气味图书馆”“气味图书馆 SCENT LIBRARY”“气味艺术馆”“嗅觉图书馆”等。
▍奕天公司被宣告无效的第3类商标;截自国家知识产权局官网
03 还能用吗?
公开信息显示,商标权是指根据法律,商标注册人对其注册商标享有的专有使用权利,包括对商标的使用、授权和防止他人侵权的权力。而企业申请注册商标后,可为商标所有者提供法律保护,增强品牌识别度,建立品牌信任并可能成为资产评估的一部分,带来潜在的经济收益。
那么,“气味图书馆”商标失效后,奕天公司还能使用吗?
青眼号外了解到,如果品牌的商标失效,理论上该商标不再受法律保护,原先的注册人失去了对该商标的专有使用权。这意味着,除非能够重新申请并成功注册该商标,否则任何人都可能使用这个“名词”,包括原先的拥有者。
不过,广东法制盛邦律师事务所邓刚律师也向青眼号外强调,品牌的商标失效后能否继续使用,要看是否侵犯了他人的权利。他表示,“没有注册的商标不一定不受到保护,比如驰名商标,没有注册也受到保护”。青眼号外了解到,气味图书馆并不在“中国驰名商标”之列。
但好在,据国家知识产权局信息显示,目前在涉及“气味图书馆”名称的第3类商标中,有奕天公司和德米特F.L.公司两位申请人,而德米特F.L.公司仅在2020年进行了一次商标申请,但后被驳回,商标状态为“无效”。
▍截自国家知识产权局官网
值得一提的是,即使“气味图书馆”相关商标曾多次不予注册,奕天公司仍然坚持不懈重新申请商标注册。据不完全统计,仅2023年,奕天公司就提交申请注册了19个商标,包括“气味商店”、“气味图书室”、“气味吧”等。在淘宝气味图书馆旗舰店中,青眼号外也发现,店铺中绝大多数产品都在显著位置标识了“气味图书馆”字样。
▍截自淘宝气味图书馆旗舰店
显然,奕天公司不会轻易放弃这个耕耘了十余年的品牌名。
但当品牌的商标失效且无法重新申请注册后,无疑会面临法律保护丧失、商业价值减损、消费者信任和品牌信誉受损的困境。
而气味图书馆创立于中国“嗅觉经济”尚未崛起之际,彼时,本土香氛市场竞争较少,处于市场寡头年代。近年来,随着中国消费者对香的理解及用香偏好在持续成长分化,除了长期占据C位的国际商业香外,闻献、观夏等踩中了小众/高端/东方调香等赛道的香氛品牌崛起,中国香水市场的竞争早已暗潮汹涌。
在这个关键时刻,代表气味图书馆品牌形象、象征品牌身份的商标却出现了问题,会对品牌产生怎样的连锁反应,充满了不确定。
本文来自微信公众号“青眼号外”(ID:qingyanhw),作者:北斗,36氪经授权发布。















