小米炮轰余承东这事,谁也说不清
最近科技界真热闹。
汽车圈那边,华为、吉利、长城三家正跟懂车帝闹得不可开交,明天还要直播验证测试结果。
手机圈这边,小米和余承东又“开战”了。
精彩,真的精彩。
事情大概是这样的,华为上周末邀请了 400 多位国内外花粉,一起参加“2023 年华为花粉年会”。
在此之前,关于年会,广为流传的是余承东称明年将要推出颠覆性产品,改写行业历史。至于是什么,余总卖了一个关子,没说。
但余承东另一段发言也流了出来,会上他谈及华为技术创新,十几年的发布会,那一连串遥遥领先,是华为不断技术投入,不断努力的结果。
说着说着,余总突然画风一转,说到了中国不是太尊重知识版权,大家抄袭技术,将它改成自己的名字,比如把“双旋水滴铰链”变成“龙骨”,又比如“青海湖电池”……
余承东虽然没有直说是哪家企业,但 OPPO 折叠屏的铰链叫“航空合金铰链”、vivo 的叫“超耐久轻量铰链”、荣耀的叫“鲁班钛金铰链”,只有小米叫“龙骨转轴”。
在过了三天之后,小米发布了一个「关于余承东先生不实言论的声明」,这份声明从技术和时间两方面论证小米没有抄袭。
声明里强调,“龙骨转轴”是小米自研技术,设计思路和机械结构均与华为的“双旋水滴铰链”完全不同。
为了证明不同,小米对比了双方的技术宣传资料和公开专利资料,还特地买了一台华为的折叠屏手机过来拆机验证,双方的技术方案完全不同。
在该条声明的微博评论区,小米列出了双方的专利申请时间。
华为的「一种铰链和移动终端」(二连杆组)专利的申请时间是 2019 年 12 月 13 日,首次公开时间是 2021 年 6 月 18 日。
而小米的「铰链、显示模组及终端设备」(三连杆组)专利申请时间是 2020 年 9 月 18 日,也就是小米申请专利时,华为二连杆组专利还没公开。
至于华为三连杆组的「折叠机构以及折叠式电子设备」专利申请时间,是 2021 年 10 月 29 日,今年 5 月公开,但还未得到授权。
最秀的是,小米在声明末尾,加上了一句「我们请余承东先生遵循“科学与严谨”的基本规则,请勿再抹黑同行,误导公众」。
这句话,老狐两天前才见过。
目前老余还没有回复。
目前“青海湖电池”的荣耀也没有回应……
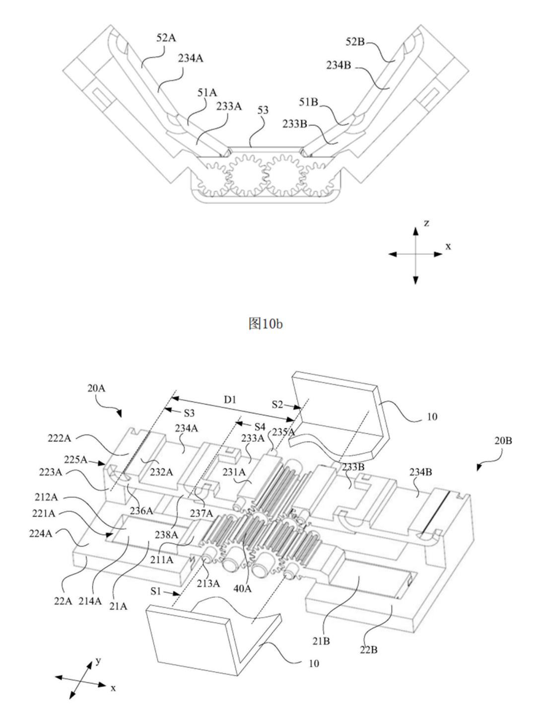
本着“科学与严谨”的精神,老狐特意去中国知识产权局下载了小米和华为的专利文件,用附图做了对比:
*华为“一种铰链和移动终端”(三连 杆)组专利图
*小米“ 铰链、显示模组及终端设备 ”(三连杆组)专利图
*华为三连杆组专利图
依老狐判断,二者原理方向,都是水滴铰链结构,但在细节上,确实有所不同。
是否存在抄袭侵权的情况,老狐对专利法规不了解,无法武断地下结论。
不过,这一切都回到了折叠屏的铰链结构上,而所有的铰链结构,都可以回归到我们在门窗缝隙里经常见着的铰链。
*淘宝上的铰链商品
不过 OLED 屏不能像上图门窗那样完全合上,这样会对屏幕造成永久损伤,此外,折叠的内外半径不同,也会使屏幕和机身出现错位。
*图源 B 站 UP 主@胜利文绉绉
第一款大规模量产的折叠屏是三星 Galaxy Fold给出了解决方案,它采用的就是 U 型折叠 + 滑轨铰链。
没错,就是那个让王自如禁不住发出 OWASOME 的那台折叠屏手机,它在工业设计上确实有独到之处。
U 型折叠不是折叠,而是用弯曲来避免屏幕折叠损伤,而滑轨铰链则避免了屏幕和机身在弯折时出现错位。
但 U 型折叠空间仍太小,屏幕容易损坏,而且存在屏幕空隙,开合手感不佳,Galaxy Fold 开了折叠屏先河,但也翻了大车。
后来,柔宇的 Flex Pai 和华为的 Mate X 带来了外折的方案,将屏幕贴合在机身外部,以此扩大弯折半径。
*华为 Mate X
但外折方案带来的缺点是屏幕在外容易磨损,屏幕在弯折处受力易损坏,此外,生产精度和生产成本也比内折方案更高。
2019 年,摩托罗拉发布的 Moto Razr 折叠屏手机创造性使用了水滴铰链的结构,就是屏幕折叠处弯曲,其他部分贴合,变成水滴形状。
不过摩托罗拉铰链用的是转轴,而非滑轨,这导致折叠时屏幕和机身会出现错位,Razr 屏幕下方特意留出屏幕的伸展空间。
2021 年 2 月,华为连续发布两代外折方案的折叠屏手机后,发布了 Mate X 2,在这台手机上,华为提供了成熟的内折水滴铰链方案。
华为的水滴铰链的结构,屏幕弯折时有更大的弯曲半径,不会留下空隙;采用双滑轨,避免了屏幕和机身在折叠过程中的错位。
*B 站 up 主@胜利文绉绉
同时,华为还在铰链上增加了由弹簧、凸轮和齿轮组成的扭力模组,旋转屏幕时凸轮压缩弹簧、摩擦转动,有更好的阻尼感。齿轮则提供多角度的咬合,实现悬停。
因此,水滴铰链成为目前国内折叠屏手机主流的铰链设计思路。
但不同的水滴铰链,设计思路亦有所差别。
Mate X 2 在年初发布,年底,OPPO 发布了同样使用水滴铰链设计的 OPPO Find N,二者采用了不同的铰链设计方案。最明显的区别是二者水滴形状不同。
*B 站 UP 主@微积分WekiHome
OPPO Find N 通过优化铰链的设计思路,增加了折叠时的屏幕受力面积,看起来水滴更大,优点是屏幕折痕更浅,但折痕面积更大。
Mate X 2 之后,华为在今年先后发布了 Mate X 3 和 Mate X 5,华为将其命名为“双旋水滴铰链”。
回到小米这里,在折叠屏上,小米的步伐要比华为慢一些。
小米在 2021 年推出小米 Mix Fold,采用了的是 U 型铰链,用户评价一般。
2022 年,小米发布了小米 Mix Fold 2,采用的是小米自研的“微水滴形态转轴”,可以理解为小米自研的水滴铰链。
而在今年发布的小米 Mix Fold 3 上,铰链升级成了“龙骨转轴”。
*小米“龙骨转轴”
无论是华为的“双旋水滴铰链”还是小米的“龙骨转轴”,本质上仍然都是水滴铰链。
因为华为是最早拿出折叠屏方案的厂商之一,因此必然有较多的专利积累,例如 OPPO Find N 就用到了华为的铰链相关专利。
但如果因此断言小米抄袭了华为的铰链技术,则是轻视了小米在研发方面的努力,况且小米也已有专利在手。
至于华为和小米各自在铰链方面有哪些专利,老狐再次本着严谨与科学的精神去国家知识产权局查找。却发现关键字无论是公司名称、还是“折叠”、“铰链”,专利数量最少都超过 1.8 万件。
找不完,根本找不完。
而且即使能找到双方更多专利文件,以老狐的知识储备,也无法判定技术上是否抄袭。
目前两方一攻一守,作为第三方,咱们最好的做法就是不站队,也不偏袒,等待双方拿出更多证据,为自己正名。
且看接下来双方如何回应。
参考资料:
中国知识产权局
微博@小米公司发言人、小米手机
B 站@德鲁大叔_HuaZ、@胜利文邹邹、@微积分WekiHome
本文来自微信公众号“科技狐”(ID:kejihutv),作者:老狐,编辑:木易,36氪经授权发布。















