威马重启IPO副本,“背水一战”能改命吗?
近日,威马汽车向港交所递交招股书,再次冲刺IPO,拟于主板上市,通国际、招银国际与中银国际为其联席保荐人。
这已经不是威马汽车第一次对上市发起冲击,早在2020年9月,威马汽车完成百亿D轮融资后,便着手申报科创板,希望进军“科创板新势力第一股”。但是,在2021年4月,威马汽车又被传出暂缓科创板IPO的进程。
然而,短短两年过去,新能源汽车领域已经“变了天”,威马作为最早入局的造成新势力之一,却没有能保持自身的优势,因为种种原因已经在小鹏、蔚来、理想、哪吒之后。并且,近两年来,除却业绩不理想外,还陷入自燃事故、锁电风波以及与吉利的“侵权”官司等负面风波。
不禁令人疑惑,威马汽车为何在如此“棘地荆天”的境地中选择上市呢?换言之,威马汽车真的已经到了“生死存亡之秋”了吗?
01 掉队的威马,逐渐走向“枯本竭源”?
威马汽车按理来说,应该是造成新势力中活得最“滋润”的那个。
早在2018年威马就已经实现量产交付,并且在当年以3844的销量位列造车新势力第二,那年第十名的前途销量仅在2位数、小鹏的销量也仅有482,可以说威马是毫无争议的第一梯队。
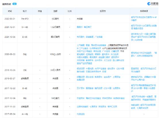
并且,威马也是不缺资金的那个。据天眼查APP显示,威马从成立至今一共完成了12轮融资,最近一轮是2022年6月1日总额约为6亿美元的Pre—IPO轮融资,共累计融资金额高达约350亿元。
以造车新势力中“蔚小理”做对比,在各家上市之前,蔚来汽车融资金额累计约143亿元,小鹏汽车融资金额累计188亿元,理想汽车融资金额累计约116亿元,都远低于威马汽车的350亿元。
然而,威马汽车却在惊艳开场与充沛的资金流加持下,却逐渐掉队。
就正如2020年1月,美团创始人王兴点评中国车企格局:3+3+3+3角逐下两轮,3家央企是一汽、东风(二汽)、长安,3家地方国企是上汽、广汽、北汽,3家(传统)民企是吉利、长城、比亚迪,3家造车新势力是理想、蔚来、小鹏。
这其中已经没有了威马汽车的身影,虽然这让威马创始人沈晖并不服气,连续两次公开向王兴发起赌约,赌威马在2020年造车新势力中销量是不是第一,不过王兴并未回应。
可是,不管王兴回应不回应,现实已经给了答案,根据公开数据显示,2020年蔚来、理想、小鹏分别交付4.37万辆、3.26万辆、2.7万辆,而威马从2019年的第二下行至第四,开始逐渐被“蔚小理”拉开差距。
2017年,其创始人沈晖接受媒体采访时表示:汽车市场不是一个赢者通吃的市场,一个新造车企业年销10万辆才可以活得比较好。
然而,2021年造车新势力交付排行榜中,小鹏、蔚来与理想的年交付量都破了9万,离10万大关越来越近。威马汽车截至2020年4月底,创立7年来的累计销量才约9.8万,比小鹏2021年的销量还要低出一些,2021年全年销售量为44152量,连蔚小理各家销量的一半还不到。
而且,这还是在威马线下销售点远高于“蔚小理”的情况下。截至2021年底,威马的实体店数量为621家,蔚来、小鹏与理想的实体店数量分别为350家、349家和209家。
那么,威马究竟为何掉队呢?从其最新披露的招股书来看,的确有不少令人担心的“隐忧”。
首先,根据其招股书披露数据可知,2019年~2021年,威马的营收分别为17.62亿元、26.72亿元和47.43亿元。
不过,从另一边来看,威马汽车的净亏损也在加剧,同期其净亏损分别为41.45亿元、50.84亿元和82.06亿元,累计超过170亿元;经调整后,净亏损分别为40.40亿元、42.25亿元、53.63亿元,累计也超过130亿元。
按理来说,哪怕一直在亏损,在前期融资那么多钱的情况下,威马汽车资金链应该很充沛。
并且,众所周知新能源汽车一直是较为“烧钱”的赛道,要想赢就要有充沛的现金流作为自身的后盾。
然而,截至今年3月底,威马汽车拥有现金及现金等价物合计36.78亿元。并且,流动资产净额仅为3亿元,这还是在其账上躺着66.7亿长期借款和22.8亿短期借款的情况下。
如果以行业眼光看的话,截至3月底,蔚来汽车的现金及现金等价物等共计达到了533亿元,小鹏汽车的现金储备也高达417亿元。这样对比下来,就足以见得在这次持续消耗战中,威马汽车的现金流已经逐渐紧张,如若还不上市,恐怕接下来的财务状况会比现在更难看。
或许,这也是为什么威马在当下不乐观的情况下,还那么急于上市的原因,一方面要给曾经的投资人一个交代;一方面资金枯竭,要想不被“出局”,就要从资本市场寻求更多资金,上市无疑是其最好的选择。
02 本末倒置的“研发”与“销售”投入,存疑的“关联交易”?
那么,威马的钱都花在了哪里呢?对于一家科技公司来说,在未占据稳定市场前,按理来说大头资金投入应当都在研发上。
比如在造车新势力中,蔚来研发费用同比增长84.6%至46.9亿元,小鹏汽车研发费用同比增长138.4%至41.1亿元,理想研发费用同比增价198.8%至32.9亿元。
威马汽车却反其道而行,2019年~2021年,其研发投入分别为8.93亿元、9.92亿元和9.81亿元,占同期营收比为50.7%、37.1%及20.7%。
按研发投入金额来看,2021年比着2020年投入资金还下滑了1%,不升反降;按研发比来看,2021年的50.5%对比着2019年的20.7%,斩去了一半还多。如若是源于资金链不足,各项资金投入整体收缩还可以理解。但是研发资金的“缩衣紧食”的另一面,是其销售成本方面的大幅度增加。
据其招股书披露数据,威马汽车2019年~2021年的销售成本分别为,27.88亿元、38.35亿元和66.9亿元。可见,在2021年研发经费下滑的同时,其销售成本暴涨74.5%,研发经费不足销售成本的15%。
并且,根据招股书来看,威马汽车还存在着可疑的“关联交易”。
据其招股书说明,从2019年,威马公司前五大客户之一的公司B为其供应商,并且其向公司B的销售额占年内总收入的6.9%,并且此公司还未威马的智能出行合作伙伴之一,将车辆出租给威马作为日常运营使用。据我们所深知,于2020年及2021年,于2020年9月重新控制成都明欧凯的独立第三方向我们提供汽车零部件(包括BMS及电池断开单元,就此担任单一来源供应商),及成都明欧凯的相关股东战略性的将其业务拓展至汽车销售。
简单点来说,这家供应商为威马提供BMS系统,然后威马将车卖给这家供应商,这家供应商的相关股东再将这批车又出租给威马,作为威马日常运营使用。
那么,这背后就会给人留存很多的遐想,比如,发行人与是否该供应商(也是客户)进行串通,进行业绩虚增;以及是否通过股权转让的方式实现关联交易非关联化等等。
而且,发行人存在既是客户又是供应商的情形一直以来都是IPO审核重点关注的问题,这一点或许也将成为威马为自身冲刺IPO埋下的一个“雷”。
03 近年负面频出,21亿天价官司“悬而未决”?
除却市场“掉队”与财务数据状况的不乐观,近年来,威马汽车已经多次陷入负面舆论的漩涡之中。
2020年10月,威马被曝有3辆威马EX5发生自燃,同年12月,4天内又有3辆威马EX5发生自燃,分别在郑州、海口、三亚,其中有两起自燃事故发生时,车辆处于停止状态。
这些频繁发生的自燃事件,使得2020年威马汽车宣布召回部分威马EX5车型,共计1282辆,这几乎是至今为止造车新势力中最大规模的召回事件。其召回原因为:这一批车辆由于电芯供应商在生产过程中混入了杂质,导致动力电池产生异常析锂。极端情况下可能导致电芯短路,引发动力电池热失控并产生起火风险,存在安全隐患。
不过,“召回”本以为这应是事情的结束,没想到对于威马来说只是一个开始。
首先,自燃事件似乎依旧没有彻底解决,2022年1月,在海南三亚又发生一起威马EX5型号电动汽车自燃事故。这台威马为租车公司的租赁车辆,客户在酒店的充电桩充电后开出去10分钟,车辆便发生了自燃。
其次,2022年1月,有不少车主表示,他们的威马EX5出现了不同程度的续航下降、充电时间增加,疑似被威马方面通过”锁电”的方式来降低车辆自燃风险,使得173名车主联名向威马汽车发布律师函,抗议威马汽车续航里程虚标、通过隐瞒、欺骗手段缩减汽车电池容量以掩盖自身重大安全缺陷的行为。
此外,威马汽车与吉利还有一宗高达21亿的诉讼“悬而未决”。
我们知晓,威马汽车的管理层与研发人员有不少都来自于吉利,比如威马CEO沈晖为原吉利控股集团副总裁,威马共同创始人侯海靖为原吉利集团副总裁、吉利成都基地总经理,威马的研发开发人员中有200多个都来自于吉利。或许对于人员大量变动存在异议,又或者双方当时并未能妥善解决。
其中,吉利集团在上海知识产权法院的其余诉讼中,主张威马汽车持有的27项注册专利及两项专利申请的所有权,并申请赔偿并要求威马公司赔偿约116万元人民币及其诉讼费用。过亿元;另一方面,认为威马汽车侵犯其商业秘密,向上海高院提起诉讼,索赔21亿元。
此外,在上海市高级人民法院提起的诉讼中,吉利集团声称威马公司侵犯了其商业秘密,并向威马公司索赔约人民币21亿元的损害赔偿和相关诉讼费用。并且,在吉利向上海高院提交的起诉状中,除了威马汽车的4个法人主体公司外,还高达上百位自然人。
截至目前,两起案件均完成一审,按照截至最后实际可行日期预计将于2022年底做出。
不过,哪怕案件仍未有结果,但是对于一家科技公司来说,侵犯商业机密的嫌疑终究是一顶不好的帽子,可能会成为其IPO之路的绊脚石。
并且,一旦威马败诉,面对着高达21亿的天价损害赔偿,加上22.8亿短期借款,哪怕在零支出的情况下,其目前所拥有36.78亿元的现金及现金等价物已经难以覆盖;再加上此案件对于自身商业信誉的损失,无疑将威马与“蔚小理”的差距越拉越远,恐怕要面临着被市场淘汰的风险。
参考资料:
1.威马汽车港交所招股书
2.《威马还能重新追上“蔚小理”吗?》
3.《三次关键失误,威马能否叩开IPO大门》 Tech星球
4.《威马成“危马”频现自燃、锁电,悬崖之上亟需上市“补血”》 洞察IPO
本文来自微信公众号“车智驾”(ID:Auto_AID),作者:车智驾,36氪经授权发布。















