最新专利显示苹果可折叠iPhone或iPad具有柔性外壳
编者按:本文来自腾讯科技,审校 乐学,36氪经授权发布。
据外媒报道,苹果的可折叠iPhone或iPad可能会包含一个柔性外壳,这个外壳可以保护移动设备的屏幕和硬件,同时还可以应对手机打开和关闭的严格要求。
三星等主要设备制造商已经开发出了可折叠智能手机,设计挑战主要包括防止显示屏因经常折叠而破裂。除了屏幕,公司还必须想办法让架构和覆盖层既能保持手机,又能让弯曲和拉直这一关键功能发挥作用。
周二,美国专利商标局授予苹果一项新的专利,名为“电子设备的可折叠盖子和显示屏”(Foldable cover and display for an electronic device)。该专利显示了如何用柔性显示屏和覆盖层创造这样的智能手机。
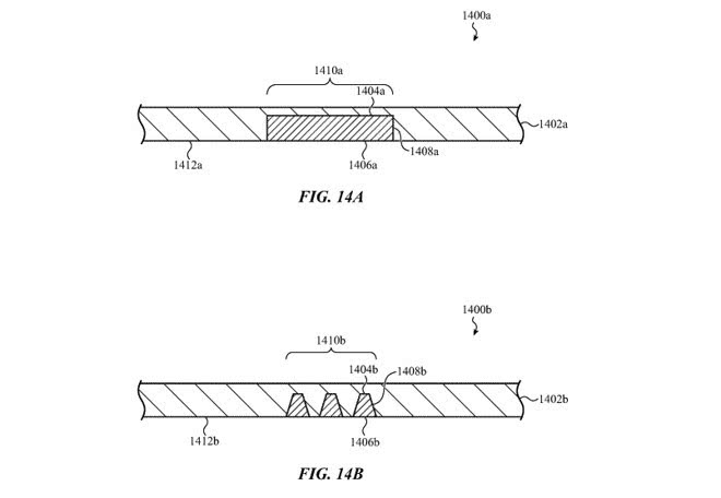
在专利中,苹果建议在同一设备内使用柔性覆盖层和柔性显示层,两者相互耦合。在手机折叠或展开时,这两层配置能够在两种不同的结构之间移动。覆盖层在被称为“可折叠区域”的地方弯曲。
覆盖层的可折叠区域可以使用诸如玻璃、金属氧化物陶瓷或其他陶瓷材料来创建。在某些情况下,覆盖层可以包含一层陶瓷材料,提供抗冲击或耐刮伤的表面,而显示层也可以包含另一层材料。
这一专利本身对苹果来说并不是全新的,因为它是对早先同名专利的优化。上一项专利于2018年提交,发明人名单相同:克里斯托弗-琼斯(Christopher D. Jones)、戴尔-梅林(Dale N. Memering)和克里斯托弗-巴特洛(Christopher C. Bartlow)。较早的专利和较新的版本似乎没有太大的区别,因为它们处理的是相同的概念和机制。
苹果每周都会提交大量专利申请,但虽然申请的专利并不能保证这一概念会出现在苹果未来的产品或服务中,但它确实表明了苹果研发努力的兴趣领域。
长期以来,苹果一直在捣鼓折叠式显示屏,包括在2017年10月与LG Display合作创造了这样的屏幕。苹果公司也提交了很多相关专利申请,包括带有环绕显示屏的手机,以及可以别在衣服上的可折叠手机。
对于折叠显示屏,苹果甚至提出了各种机制来缓解显示屏折叠处的压力,以及提出用一个加热系统将低温下的折叠造成的损害降至最低。















