ETH周报 | CFTC主席重申以太坊期货即将到来;以太坊矿工持有ETH接近历史最高水平(1.27-2.2)
编者按:本文来自36氪战略合作区块链媒体“Odaily星球日报”(公众号ID:o-daily,APP下载)
作者 | 秦晓峰
编辑 | 郝方舟
出品 | Odaily星球日报
一、整体概述
上周,美国商品期货交易委员会(CFTC)主席 Heath Tarbert 在接受彭博社采访时重申,以太坊(ETH)期货正在酝酿中。 早在去年 10 月Tarbert 就表示,以太坊期货可能会在 2020 年开始交易,同时表示 CFTC 愿意为新产品开绿灯。
二级市场方面,目前 ETH 价格长期看涨,阻力位在 205 美元,支撑区间为 185~190 美元。
二、二级市场
1.现货市场
OKEx 行情数据显示,上周 ETH 价格震荡上行,顺利突破 190 美元,周内收于 192.52 美元,一周涨幅达 17.88%。
(ETH 周线图,图片来自OKEx)
ETH 日线图上显示,目前价格站上 200 日均线,下一个阻力点是布林带上轨,暂报 205 美元;目前价格看涨,但短期内可能回踩 185~190 美元支撑区间。
2.资金流动
(数据来自币牛牛)
资金方面,上周资金波动较大,周日净流入资金最多,超过 6200 万美元;周五净流出资金最多,超过 1400 万美元。
上周,ETH 上周全网资金净流入超过 9200 万美元,环比上涨 93%;从趋势来看,短期内价格可能保持震荡或反弹。
3.大额异动
(数据来自 Tokenview)
Tokenview数据显示,链上转账次数上周大幅下降,其中“5 千 ETH 以上”以及“1 万 ETH 以上”转账次数均环比下降超过 30%,“5 万 ETH 以上”转账次数环比上涨 100%。
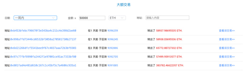
(超过5万ETH转账)
上周,“5 万 ETH 以上”转账次数共计 6 笔,最大转账金额 38.3 万个 ETH,转入与转入地址未知;另有一笔 5.8 万个 ETH 转账,转入地址为 Bitfinex 交易所。
三、生态与技术
1.开发与技术
(1)以太坊2.0抵押合约已准备就绪
ETH 2.0的抵押合约(deposit contract)已通过最后一道障碍,进行了名为“Runtime Verification”的端到端的正式验证。这意味着抵押合约现在已可执行,尚不清楚它将首先在测试网上启动还是直接在主网上启动。此前,ETH 2.0协调员Danny Ryan在上个月表示,Runtime Verificaton将在一个月内发布其完整的正式验证、分析和报告。一旦发布,就可以部署合约。(TrustNodes)
(2)V神:ETC成为以太坊2.0的分片链在技术上可行的
V神(Vitalik Buterin)在Reddit论坛回答关于“如果以太坊1.0可以成为以太坊2.0的一条分片链的话,那ETC是不是也可以成为以太坊2.0的一条分片链”的问题时,明确表示从技术上很有可能,并解释到,可以使用同样的合并流程将ETC的状态导入ETH 2.0,然后ETC的执行环境代码将会根据合并时的汇率(或事先约定的汇率)强制执行与信标链ETH不同的汇率。这就是重新合并两者代币的办法。
(3)开发者:以太坊向PoS的转换不会影响到建立在其上的项目
Core Ethereum开发者Tim Beiko最近接受了BlockTV的采访。在谈及以太坊从PoW转向PoS后对基于以太坊主网的项目的影响时, Beiko称,对这种情况的任何担忧都是多余的,因为转换将逐步进行,而不是立即进行......保守的项目可能想要让他们的应用在ETH 1.0链上多停留一段时间,可以坚持到ETH 2.0在功能上获得更多的经验。(AMBCrypto)
(4)MetaMask正在研究以太坊交易费用的解决方案
以太坊钱包MetaMask正在努力开发以太坊交易费的解决方案。理想情况下,该解决方案将允许DApp代表用户支付这些费用,这将增强用户体验。MetaMask最近完成Generalized MetaTransaction竞赛,旨在找到这个解决方案。(FXStreet)
(5)ConsenSys将为农业综合企业巨头建立全球贸易平台
由嘉吉(Cargill)等全球农业巨头支持的区块链倡议项目Covantis,已经选择专注于以太坊的ConsenSys作为技术合作伙伴。Covantis在1月23日的新闻发布会上表示,ConsenSys将建立一个基于以太坊的区块链平台,以数字化贸易后金融业,并为国际农业综合企业供应链带来效率和成本节约。(Cointelegraph)
2.DEX
据 DAppTotal.com DEX专题页面数据显示:已统计的 17 个基于以太坊网络的 DEX 项目,过去一周链上交易额共计 175290 ETH(约 3330 万美元),环比下降 32%;过去一周链上交易用户总计 20320 人,环比上涨 5%。
(图片来自DAppTotal.com DEX)
ForkDelta 七日交易日跌幅最大,达到 13.95%;AirSwap 七日交易日涨幅最大,达到 164.9%。
3.Dapp
根据Dappreview数据,ETH 链上 Dapp 上周新增 16 个Dapp,开发累计至 2825 个;新增 Dapp 七日交易用户最多的 “BRAVE-FRONTIER-HEROES”,七日交易用户 1370 人,七日交易量达到 1800 个 ETH。BRAVE-FRONTIER-HEROES 是一款基于以太坊区块链的游戏,它是手机游戏《勇敢传说》和排名第一的区块链游戏《我的加密英雄》(My Crypto Heroes)的结合体。
4.挖矿
(数据来自etherchain.org)
etherchain.org 数据显示,平均算力环比上涨 1.47%,暂报 165.8TH/s;上周矿工活跃度下降,新增地址环比下降 22%;出块量环比上涨 14%,每日挖矿收益上涨 12%,暂报 12139 个 ETH。
(挖矿难度变化)
四、消息面
1.CFTC主席Heath Tarbert重申以太坊期货即将到来
美国商品期货交易委员会(CFTC)主席Heath Tarbert在接受彭博社采访时重申,以太坊(ETH)期货正在酝酿中。 早在去年10月Tarbert就表示,以太坊期货可能会在2020年开始交易,同时表示CFTC愿意为新产品开绿灯。(U.Today)
2.报告:以太坊矿工持有的ETH接近历史最高水平
数据平台Santiment的新报告显示,以太坊矿工囤积了大量ETH,矿工的ETH持有量有望突破历史最高水平。在整个以太坊矿工生态系统中,过去三个月ETH积累稳定。报告显示,所有以太坊矿池的累计余额目前接近169万ETH的历史最高水平,这表明矿工对ETH的未来充满信心。(Daily Hodl)
3.数据:MakerDAO的大部分资产价值都集中在几个地址中
根据Digital Assets Data的数据,截至1月17日,价值约4亿美元的抵押品资产被锁定在MakerDAO协议稳定性系统中。与此同时,Dai系统锁定的以太坊数量达到近250万的历史最高水平,约占以太坊总供应量的2.2%。此外,锁定在DeFI中的DAI价值最近增加到了5000万美元,同比增长了65%。尽管DeFi市场在过去的12个月里呈爆炸式增长,但活动仅在一小部分地址中发生。在旧的Maker协议上,“单抵押品Sai”上创建了大约155,000个CDP。然而,截至1月15日,77%持有不到0.05 ETH(截至发稿时为8.10美元)。此外,只有一个帐户持有171,000 PETH,占PETH总量的27%。同样,大多数帐户的规模很小,但是这些地址仅占锁定总WETH的4%。同时,有一个地址持有锁定值的15%,另一个地址持有将近8%。这两个账户持有近四分之一的抵押品。(CoinDesk)
4.瑞士监管机构批准区块链公司Overture在以太坊上进行合规IPO
据 Cointelegraph 1月29日消息,瑞士监管机构已批准区块链公司Overture在以太坊上进行首次完全合规的首次公开募股(IPO)。据悉,Overture将使用以Zug为基础的欧洲数字资产交易所EURO DAXX提供的智能合约,在以太坊区块链上进行合规IPO,并发行A类普通股。(Cointelegraph)
5.以太坊隐私交易工具Tornado.cash因UI bug泄漏部分用户的交易细节
以太坊隐私交易工具Tornado.cash因一个用户界面bug泄漏了一些用户的交易细节。漏洞报告显示,12个地址和总共13.2 ETH(约2416美元)的交易在这个过程中受到影响。该平台称漏洞已经修复,同时要求通过指定的12个地址存款的用户尽快取款,并立即重新存款。(News Logical)
6.Zenith Ventures顾问:未来最好的投资回报将来自于以太坊DApps
星球日报讯 Zenith Ventures顾问Richard Burton此前发推称,以太坊是过去十年最好的投资之一,他相信在未来的时间里,基于以太坊建造的东西将会带来最好的投资回报。Burton进一步指出,以太坊是区块链投资的潮流引领者,DApps未来也将如此。(Crypto Ticker)















