ETH周报 | 超过350家公司建立在以太坊协议之上;2020年以太坊上被锁定的DeFi应用价值将超10亿美元(1.13-1.19)
编者按:本文来自36氪战略合作区块链媒体“Odaily星球日报”(公众号ID:o-daily,APP下载)
作者 | 秦晓峰
编辑 | 郝方舟
出品 | Odaily星球日报
一、整体概述
上周,Prysmatic Labs客户端开发人员Preston van Loon表示,目前Ethereum 2.0测试网上已有超过22000个验证者在100%参与运行。他称,总共有70个节点,对于测试网来说成就非常大,这也表明了人们对以太坊测试网的发布很感兴趣。Prysmatic Labs还呼吁黑客可以尝试在测试网时使用该网络。
二级市场方面,目前 ETH 价格长期看涨,阻力位在 180 美元,支撑区间为 155~160 美元。
二、二级市场
1.现货市场
OKEx 行情数据显示,上周 ETH 价格震荡上行,一度逼近 180 美元;但周日晚价格却大幅跳水,周内收于 164.76 美元,一周涨幅达 13.6%。
(ETH 日线图,图片来自OKEx)
ETH 日线图上显示,目前价格站上 100 日均线,下一个阻力点在 200 日均线附近,暂报 180.8 美元,价格看涨;但短期内可能回踩 155~160 美元支撑区间。
2.资金流动
(数据来自币牛牛)
资金方面,上周资金波动较大,周二净流入资金最多,超过 5300 万美元;周一净流出资金最多,超过 1900 万美元。
上周,ETH 上周全网资金净流入超过 4700 万美元,环比上涨 105%;从趋势来看,短期内价格可能保持震荡或反弹。
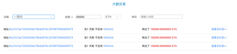
3.大额异动
(数据来自 Tokenview)
Tokenview数据显示,链上转账次数上周大幅上涨,其中“5 千 ETH 以上”以及“1 万 ETH 以上”转账次数分别环比上涨 45%、21%。
(超过5万ETH转账)
上周,“5 万 ETH 以上”转账次数共计 3 笔,最大转账金额 10 万个 ETH;三个转出地址均为同一地址,其在富豪榜排名前 50;转入地址均为新地址,目前 30 万个 ETH 尚未拆分。
三、生态与技术
1.开发与技术
(1)以太坊2.0测试网验证者达到2.2万人
上周,Prysmatic Labs客户端开发人员Preston van Loon表示,目前Ethereum 2.0测试网上已有超过22000个验证者在100%参与运行。他称,总共有70个节点,对于测试网来说成就非常大,这也表明了人们对以太坊测试网的发布很感兴趣。Prysmatic Labs还呼吁黑客可以尝试在测试网时使用该网络。
据V神估计,转为抵押(Staking )模式可能会锁定大约1000万个ETH。ETH的年度通货膨胀率将略有上升,并且年利率可能达到6%左右。抵押的ETH奖励是可变的,抵押的ETH越多,按比例分配的奖励就越少。这种方法可以阻止巨鲸在具有过度影响力的同时夺走大部分奖励。(Bitcoinist)
(2)开发者成功在安卓手机运行以太坊2.0客户端Nimbus
以太坊2.0客户端Nimbus发表社区文章,开发者介绍在安卓手机中编译并运行Nimbus客户端的方法。Nimbus客户端的定位是“适用于资源受限设备的以太坊2.0分片客户端”,Nimbus已支持在最流行的开发板树莓派(型号为3B+)上运行。
(3)企业以太坊联盟(EEA)已启动测试平台,可实现区块链互操作
企业以太坊联盟(EEA)已启动测试平台,并期望在2020年底之前实现认证、品牌、统一的商业用途。据悉,EEA测试网将作为一个预先认证的沙箱运行,在那里以太坊的分支可以根据EEA先前设定的某些规范进行标准化,这将使它们彼此实现互操作。现在有数百家公司正在开发以太坊的企业版本,另外还有一批全新的行业参与者通过Hyperledger基于以太坊的公链项目Besu加入了这个行列,这使得标准化成为一个优先事项。(CoinDesk)
2.DEX
据 DAppTotal.com DEX专题页面数据显示:已统计的 17 个基于以太坊网络的 DEX 项目,过去一周链上交易额共计 273520 ETH(约 4513 万美元),环比上涨 17%;过去一周链上交易用户总计 19370 人,环比上涨 12%。
(图片来自DAppTotal.com DEX)
AirSwap 七日交易日跌幅最大,达到 65.24%;The-Token-Store 七日交易日涨幅最大,达到 33.42%。
3.Dapp
根据Dappreview数据,ETH 链上 Dapp 上周新增 7 个Dapp,开发累计至 2809 个;新增 Dapp 七日交易用户最多的 “Lendf.Me”,七日交易用户 20 人。Lendf.Me 是一种基于以太坊区块链的加密银行,提供存贷业务。
4.挖矿
(数据来自etherchain.org)
etherchain.org 数据显示,平均算力环比下降 1.15%,暂报 163.4TH/s;上周矿工活跃度下降,新增地址环比下降 12%;出块量环比下降 17%,每日挖矿收益下降 17%,暂报 10752 个 ETH。
(挖矿难度变化)
四、消息面
1.澳大利亚储备银行进行在以太坊网络支付系统运行CBDC的模拟测试
澳大利亚储备银行(RBA)近期透露,其模拟了在以太坊网络为基础的批发支付系统中使用中央银行数字货币(CBDC)的测试,以调查央行数字货币的可能性。(Bitcoinist)
2.超过350家公司建立在以太坊协议之上
近日,投资者Adam Cochran在推特上分享的一份清单显示,除了以太坊基金会和ConSensys之外,有超过359个项目正在以以太坊协议为基础。上榜的品牌包括:耐克、巴克莱、TD Ameritrade、联邦快递、微软、英特尔、亚马逊、美国运通、三星、麦当劳等等。(Twitter)
3.报告:2020年以太坊上被锁定的DeFi应用价值将超10亿美元
CoinGecko最近发布的报告显示,2020年DeFi将继续推进,在以太坊区块链上被锁定的DeFi应用程序总价值将超过10亿美元,到年底将有100多个DeFi应用程序,这些应用程序也价格出现在其他智能合约平台上。(AMBCrypto)
4.报告:Upbit被盗以太坊已有20,520枚被黑客完成洗钱
Uppala Security发布的最新报告显示,加密货币交易所Upbit被盗的以太坊中,总计20,520枚已经被黑客小额转移到交易所进行了洗钱。黑客洗钱的交易平台包括火币、Bittrex、Bitfinex等交易所。报告还称,黑客们仍在试图洗清被偷走的34.2万枚ETH的剩余部分,且没有任何限制。(Crypto Globe)
5.V神:比特币社区有统一思想,以太坊社区欠缺目的性
近日,在社区的讨论中,V神表示以太坊社区目前缺少目的上的统一性,而比特币社区拥有非常统一的思想目标。
在讨论到社区的价值观问题时,V神提到:“比特币的社区现在有一个大的优点:他们有丰富的思想体系,有好多人在思考比特币在世界里有什么角色,他们到底做什么。比如Tuur Demeester和Daniel krawisz在写奥地利经济学的东西,还有Paul Sztorc。”
他认为,虽然以太坊拥有Defi和DAO等丰富的生态探索,但大家缺乏某种明确的目的性,缺少了一点团结。然后,他又举了Zcash和Tezos的例子:“虽然我不看好链上治理,但是Tezos至少决定了一个有意思的方向。”(区块律动 BlockBeats)















