美股前哨 | “靠脸上市”,腾讯参股的医美App新氧计划赴美IPO
据彭博报道,有知情人士透露 ,腾讯参股的中国整形外科网站新氧已经秘密申请美国首次公开募股。该公司或可通过此次发行筹资约3亿美元,最快可在今年年中上市。
彭博援引知情人士称,交易的最终条款尚未确定,可能会根据投资者的需求而改变。新氧的一位代表则表示,暂不置评。
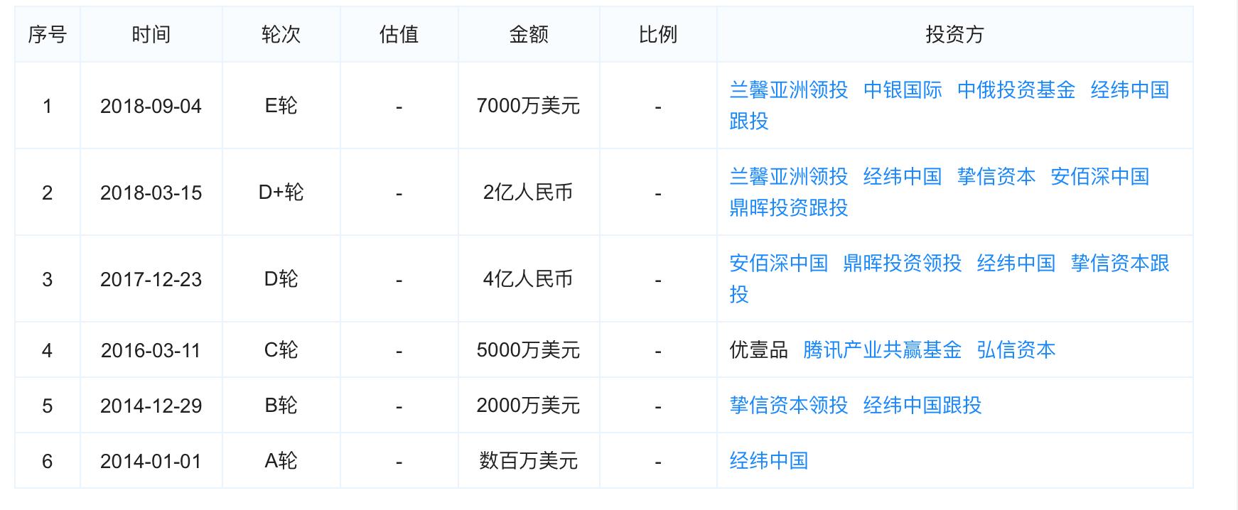
根据天眼查数据显示,该公司此前共进行过6轮融资,在去年9月完成了最新一轮7000万美元的融资,兰馨亚洲投资集团领投,中银国际控、中俄投资基金、经纬中国跟投。
腾讯产业共赢基金则是参与了其在2016年进行的5000万美元C轮融资。
在中国医美市场上,买卖双方信息不对称的现象一直存在,大众获取的信息有限,正是这样,给了新氧这种垂直平台发展的机会。
新氧成立于2013年,通过该平台可以预约整形手术并进行经验交流。根据其官方数据显示,新氧APP和网站在2017年就已经成为全球最大医美互联网平台,独立访客1.14亿人次。此外,新氧的业务还有电商交易、金融服务等等。
天猫收费形式类似,佣金比例收取不到10%。一方面可以为医院降低高昂的营销成本,同时也帮助消费者减少中间商赚暴利。
据汇成医美集团的相关预测,医美行业整体市场有望在2020年突破3000亿元规模,年均复合增长率达到40%,预计2030年将突破万亿元。
同样,高营销费用支出也不可小觑,其2017年该部分的支出为3.05亿元。高收入与高额营销费用挂钩,毛利率虽高,但净利率却很低。
新氧微整形APP创始人金星此前就表示,“大家都认为整形医院很暴利很赚钱,事实是这些机构的毛利率可以到达70%,但净利率却往往低至10%以内。”
新氧想要得到资本市场的认可,还需拿出一张漂亮的成绩单。















