Google新专利可以让你用手指当Glass的取景器
大家平时是怎么假装拍照的呢?大概都是伸出左右手的拇指食指,一上一下围成方框形状,然后口中“咔嚓”一声吧。而Google新近获得的一项专利有可能会把这些手势用到它的Google Glass可穿戴设备上,不过这次是真正的拍照。
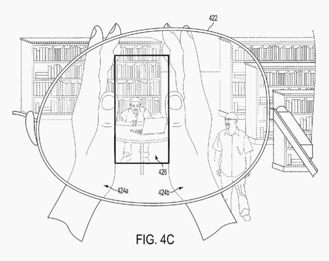
Google这项刚刚被授予的专利名字叫做“手触发的头戴式摄影(Hand-triggered head-mounted photography)”,申请于2012年。专利描述了头戴式可穿戴设备(如Google Glass)摄像头的一种使用方式。根据专利描述,摄像头会一直观察出现在视图中的对象,如果检测到手指的特定手势,摄像头就会开始拍照。
专利里面描述了几种手势。其中就包括前面说的用双手拇指食指组成的方框取景手势,检测到这个手势后,摄像头就会把“取景框”内的东西拍摄下来。又比如把左右手掌垂直面对的话,摄像头会理解为拍竖向的照片。而如果把手指围成圈的话,摄像头会认为是照一张圆形的照片(就像G+的头像一样)。
上一代的Google Glass完成拍照任务有两种方式。一是通过点击头戴设备侧边的按钮,二是是通过语音指令“OK Glass,take a picture”来执行拍照任务的。相对而言,这项专利的拍照动作更加直观自然,也更具戏剧性。而拍照的过程中就把裁剪工作完成也能省去不少的后期制作时间。但Google是否会把它用于下一代Glass尚不得而知,因为第二代的Glass似乎主要面向企业。我们也还不知道除了拍照以外,这些手势会不会同样被运用到视频的拍摄上面。















