资本盯上了500亿的“眼珠子”蓝海
美瞳赛道,又获一笔新融资。
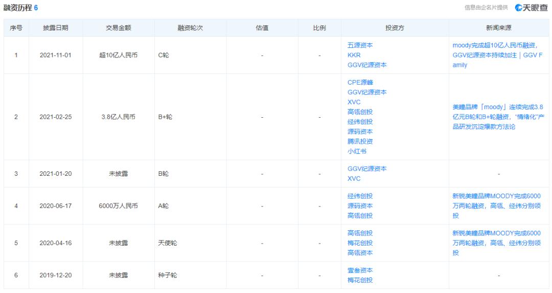
11月1日,美瞳品牌Moody再获10亿元C轮融资,由KKR、五源资本领投,高瓴创投、梅花创投、腾讯投资、小红书等10家机构跟投。
这已经是Moody两年内接受的第六笔融资了,也是迄今公布数额的融资中最大的一笔。
不仅是Moody,kilala可啦啦、4inlook、可糖cofancy、美瞳汇……美瞳赛道的头部玩家日子过得顺风顺水,仅2020年一年他们就累计获得了超16笔融资,总金额数超过了12.5亿元。他们手握着资本砸来的热钱,卖力地争抢着年轻人的“眼球经济”。
而上一次爆火的美妆品类还是口红,资本在口红赛道已然卷不动的情况下转移视线,他们盯上了年轻人的眼珠子,企图打造一个“口红2.0”。
在疫情常态化的背景下,年轻人不甘被口罩禁锢住颜值,从而更加追求眼妆美感的心态正是美瞳东风又起的直接导火索。
和传统的框架眼镜、隐形眼镜相比,多种花纹、颜色的美瞳镜片给了爱美的年轻人机会将眼睛包装成“混血瞳”、“星河瞳”、“小鹿眼”,自然也让他们心甘情愿地掏出腰包。
据智研咨询发布的《2021-2027年中国美瞳行业发展现状调查及前景战略分析报告》显示, 2015年中国美瞳行业市场规模为7.38亿元,2019年这个数字翻倍增长至15.88亿元,年复合增长率为21.12%,预计到2026年中国美瞳行业市场规模将增至34.82亿元。
的确,短短两年,美瞳市场成长为一片蓝海,却也是一片生机与危机并存的蓝海。
靠“颜值”打天下
美瞳收服年轻人的第一步,就是“颜值攻击”。
颜色上从灰色棕色的日常款,到紫色绿色红色的混血款一应俱全;花纹也分为常规的瞳孔样式与花瓣款、星空款等多种别具特色的款式;依据镜片直径大小不同,又能起到大眼、扩瞳的效果;更别提有的品牌还会在外包装上呈现一些小心机,带香味的、做成甜品样式的、与博物馆联名的、罐头包装的……
显然,美瞳早就不再是一片单纯的加了花纹的隐形眼镜,而更像是年轻人的社交货币,一种可以让他们拍照发朋友圈,或者拿来炫耀的物件。
17岁女高中生的花花已经是佩戴美瞳三年了,她告诉AI蓝媒汇,自己每次购买新款美瞳都会拍照发朋友圈,还经常与朋友讨论佩戴心得、挑选更好看的眼珠子,这在她们同龄人中很常见。
在社交平台上,美瞳也早早成为了博主们的流量密码。
在小红书,博主们贡献的试戴实拍、红黑榜、明星同款等“美瞳”相关笔记约有81万+篇,与这个数字并驾齐驱的是美妆品类的老面孔——87万+篇的“粉底液”和76万+的“腮红”。这些热门图文笔记点赞量都在几万上下,评论区也都会有上千位网友在发表讨论。
这足以见得美瞳在美妆界“后来居上”的趋势。
于是,在博主们的种草安利下,美瞳也终于走上了新消费的道路。
赋予品牌一个好听的名字自不必说。“桃气奶酒”、“反转冰山”、“人间甜豆”、“月落星河”,这些能引发消费者通感的名字占据了美瞳市场的主流,不少消费者反映,在挑选美瞳遇到选择困难时,款式名成了她们最终下单取向的决定因素。
泛滥的营销也是必备。
在微博、抖音、小红书,Moody、可啦啦、可糖的广告基本每刷五条视频就会推送一次,即便不是美瞳的潜在用户,也会潜移默化地被抢占了心智。像moody则更是请来了虞书欣、利路修等为其带货推广,定位更高端的Miomi也花了更高的价钱登陆了李佳琦等头部主播的直播间。
这一波营销流程下来,价格自然随之上涨。
总览几个美瞳头部品牌,一般日抛的价格都在70-100元/10片,平均到一日的话就是20元左右,一个月在美瞳上花费就是600元,与体系成熟的日韩系美瞳价格几乎无异。
而像月抛、半年抛、年抛美瞳则因材质、透氧量等其他原因单笔价格有所上涨,再加上隐形眼镜护理液、隐形眼镜盒、润眼液等其他配套用品,算下来,单次购买花销也至少在500元以上。
实在是一笔不小的花销。
暴利引发乱象
相比其他美妆品类,美瞳品牌的优势就在于用户的复购率高。
据前瞻研究院整理资料显示,在2020年中国化妆品种类复购率情况中,口红品类的复购率为20%,而美瞳品类复购率则达到了30%-50%,近乎是前者的二倍。
在调查过程中,许多消费者向AI蓝媒汇表示,自己会在双11或618等特惠期间屯下一整年份的美瞳,在品牌选择上也多复购为主。
据Tech星球报道,去年双十一,美瞳品牌4iNLOOK的GMV达到1亿,成为美瞳赛道新高,同比增长320%,客单价提高至586元,复购率也达到了惊人的62.8%。
逐渐走高的复购率吸引了越来越的资本方前来投资,自然让市场看到了更多的暴利。
众所周知,美瞳片的成本价极低。一片年抛美瞳的成本价基本在2-8元左右,至多不会超过20元而卖出价却能翻出几十倍到百元以上,其中的暴利不难想象。而在市场目前以日抛、月抛与半年抛为消费主流的情况下,购买量走高,利润则会阶梯上涨。
暴利之下,乱象频出。
一些美瞳以高端品牌的仿品形式涌向市场,但其中不少是花纹与颜色直接附着在镜片上,颜料直接接触眼球的三无产品,掉色的情况时常出现。
一位有6年美瞳代购经验的瞳代表示,自己主要代购“日韩系”美瞳,但其实,部分美瞳压根不是海外进口,而是从工厂贴上一个并不存在的品牌名后直接上架。
“很少有顾客会去查品牌,他们更看重的是颜值和价格,以及‘海外进口’的噱头,”他向AI蓝媒汇介绍,“这样的美瞳从工厂拿货价格也就几块钱,我们再以低于市场价卖出,基本单笔净利润在20元左右,一个月仅倒个手就能成交个几十单。不过,这两年国货美瞳也打起了低价战,日子没以前好过了。”
另一方面,劣质品牌也进入了市场,鱼目混珠。
这些劣质品牌同样邀请了美妆博主、中腰部主播为其宣传带货,但其品控却与宣传大相径庭。27岁的小天在喜欢的美妆博主安利下,购买了某品牌的日抛美瞳,但10片装的美瞳里却只有3片可以正常佩戴,其余7片均有不同程度的划片、磨眼等问题。
小天的经历并不是个例,在各类社交平台上,有关这些二三线美瞳的吐槽和避雷屡见不鲜。
种种乱象频出,给用户带来了安全隐患,也拖慢了美瞳行业的发展。
能否再造“口红神话”?
一个可以预见的未来是,随着越来越多的美瞳品牌被资本争抢,消费者对美瞳的接受度和认可度越来越高,行业必将会制定相关的规范以规避上述乱象与风险。
那么,随之而来的,也必将是行业内的疯狂竞争与内卷。
目前,美瞳赛道玩家们之间的PK仅限于价格战,彼此之间的价格也并没有差太多,基本相同周期的镜片价格差异都在10元以内。款式方面,虽然款式名均不同,花纹也有差异,但戴上眼后区别并不大。
要知道,他们中的很多在同一家代工厂生产的,要求差异化就有点过分了。
虽然同样是代工厂出品,但“完美日记”们却可以轻易跑出一个上市公司,创造一个“人手至少5个色号的口红”的神话。
原因并不难猜。
据了解,目前中国内地有资质的美瞳代工厂很少,美瞳品牌方们能选择的工厂寥寥无几,“撞衫”成了常事。但这样一来,用户很难对品牌产生足够的差异化认知,也就很难产生品牌忠诚度。
而这则要归因于美瞳本身的医疗性质。2012年,美瞳被纳入第三类医疗器械管理范畴,是医疗器械产品中风险级别最高、监管最为严格的一类,从生产到销售都有一定的门槛。
“美瞳每年大概有150亿左右的市场份额,所以美瞳是一个为数不多的非正规渠道比合规渠道体量还要大的市场。”可糖创始人多趣在接受媒体采访时说道。
而与口红等美妆产品相比,美瞳的使用场景更少,人群普及程度更低,也很少有人会像口红一样,同时购买多个“色号”的美瞳随身携带。
毕竟,谁都很难想象李佳琦在直播间里反复试戴各种款式的美瞳,再大喊一声“oh my god,买它”的场景吧。
与竞争对手相比,美瞳在短时间内也很难撼动框架眼镜的地位,业内的老玩家海昌、博士伦等早就抢到了先机,不仅品牌接受度上要高于现在的美瞳品牌,线下店的铺设也给了它们更多抢占心智的机会。
而一个品牌要想维持长久的发展,跑通线上与线下是必然的要素。
尽管像4inlook、可啦啦等少数美瞳品牌已经在加快线下店开设的步伐,但要想迅速追上老玩家们,还需要一定的时间。
此外,美瞳的医疗属性要求其无法有代言人出现、像完美日记这样的美妆品牌已经打算进攻美瞳赛道分一杯羹、美瞳致伤的新闻屡有出现……这些都拖慢或者影响了美瞳的全行业发展。
不过,眼下难以复制已有的成功案例并非全然是坏事。
据Mob研究院则预测,2025年中国美瞳行业市场规模可达500亿元,有望成为全球最重要的市场。而500亿这个预测值,也印证了其拥有广阔蓝海的事实。
或许在不久之后,美瞳行业将会出现新规,在更多资本入驻之后,当产业链上下游都能不再依赖代工之后,美瞳赛道也势必还会焕发出新的生机,诞生更多的新玩家。
本文来自微信公众号 “AI蓝媒汇”(ID:lanmeih001),作者:闫烨,编辑:韩小黄,36氪经授权发布。















