聪油饼、想你的液、1分甜、10分甜......扒一扒这些奇葩的餐饮商标
近期,“新婚大吉”、“开张大吉”、“杀青大吉”......王老吉申请多个商标冲上热搜。
此前,“聪油饼”、“想你的液”、“我命油我不油天”等纷纷被抢注。大家似乎都迫切地要将这些具有“特点”的名字注册为自己的商标,意欲为何?
王老吉申请“新婚大吉、新年大吉”:奇葩商标名称不少
7月5日,王老吉申请“新婚大吉”、“新年大吉”、“升职大吉”等多个商标,国际分类均为啤酒饮料,目前商标状态为注册申请中,据不完全统计,王老吉申在申请类似的大吉商标超20个。
该事件出来后,一度登上微博热搜并引发网友热议。有网友发出疑问“商标不是特有自己想出来的吗?日常祝福词语也可以随便注册?注册标准是什么?”;有人调侃说“申请‘过年好’商标,一人赔一块你都能赚14亿”;也有人觉得“蛮有想法,反正都是大家喜欢的吉利话”......
据内参君观察,前段时间,蜜雪冰城因主题曲火爆出圈,而这句“你爱我我爱你蜜雪冰城甜蜜蜜”,早在2019年6月被蜜雪冰城申请商标注册,虽然目前显示“驳回复审中”,但也可见蜜雪冰城在商标保护意识,恰有未雨绸缪之势。
虽然商标尚未注册成功,今年这句魔性的音乐却是深入人心,广为传唱。
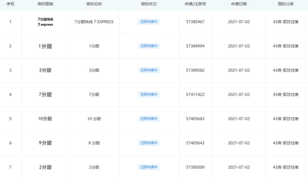
今天,内参君在企查查看到,茶饮品牌7分甜正在申请注册“1分甜”、“2分甜”......“10分甜”商标,国际分类均为餐饮住宿,申请日期在7月2日。
为何奇葩商标被“哄抢”?
明显能感觉到,大家非常重视商标注册,商标维权意识不断增强。虽然大家都在抢注,却也存在无法通过的结局。
1.加强品牌辨识度,申请多种类似商标名称
一句“过吉祥年,喝红罐王老吉”,王老吉似乎要把这句广告语坚持到底了,如今又在申请注册几十个类似商标,对于此做法,专业人士表示,近年来商标申请的便利性在提高,商标抢注的现象越来越多,所以王老吉的做法一定程度上是对自身知识产权的保护。
当然,此做法也具有品牌营销的概念,通过带“吉”字的商标注册,强化品牌辨识度,代表着市场识别企业的高度,在顾客的心里留下强记忆。
2.来自网红词语、明星热点事件、影视剧……
比如,山东“拉面哥”梁邱镇走红网络后,不仅被大量媒体所报道,连其“拉面哥”迅速被多家公司申请注册商标。前段时间,因一起热点引发“聪油饼”“我命油我不油天”“想你的液”等成为诸多企业申请的商标注册热门,不过还尚未通过。
这些现象表明商标注册重要性,在于一个有趣、响亮、有特色的名字,因为商标是企业的无形资产,一个图形、几个文字都需要具备强辨识度,为企业打造自身的品牌符号,具有一定的价值。
伴随着企业从起步到发展再到没落。虽然表面上它可能只是一个图形,几个文字,但是却具有一定的价值,看到名字和logo就知道这是卖什么的。而且过去推销商品,要走街串巷到处吆喝来传递给消费者。现在商标注册后,通过互联网、电视、广告等推广后,迅速让大家认知。
所以品牌创立初期,及时申请注册自身商标,只有握有商标权,才能令企业更好地受到法律的保护,同时也给企业带来多方面的加持。
3.为减少模仿、抄袭、侵犯等,头部餐饮品牌维权意识增强
企查查搜索显示,2020年,海底捞申请了“池底捞”、“渠底捞”、“清底捞”,“上海底捞”、“下海底捞”、“唐底捞”、“宋底捞”……等商标信息。
这是因为2020年8月,海底捞起诉一家名为“河底捞”的企业,认为“河底捞”标识与其注册的“海底捞”商标为近似商标,侵犯了“海底捞”商标专用权。但结果是海底捞被驳回诉讼请求,理由是二者商标虽都有“底捞”二字,但在文字的字形颜色方面存在一定差异。而且双方经营内容不同,一个是川菜火锅,一个是湘菜鱼鲜。而此前在与“海里捞”一案中胜诉,是因为均是经营火锅内容,故存在侵权。
一方面表明,头部品牌增强商标品牌意识,海底捞注册如此多的商标,除了配合自身业务需要,更多是一种防御性的注册。为了防止别人“蹭热度”,干脆把沾边的商标统统注册一遍,避免恶性竞争;而且对所申请的商标做多类别注册,能够避免对企业产生的不利影响。
另一方面,河底捞能够胜诉,也表明除了保护头部品牌,还要避免由于“保护过严”而影响其他品牌在市场中的自由发展权益。同时能够让那些蹭品牌蹭热度的企业意识到,商标并非是复制和模仿就可以顺利发展的,虽然会利用类似品牌得到一时之利,如若无法创造出自身价值,企业自身发展之路相比也不会顺利。
小结
抢注商标的现象出现在各行各业,虽然奇葩商标一时热闹非凡,登上热搜博人眼球,但聚焦餐饮行业,拥有一个好商标,在企业前期发展中,通过快速宣传来扩大品牌知名度,树立业内名气。但是品牌能否真正做大做强,最终比拼的还是产品、运营、品牌、经营等实力,才能基业长青。
本文来自微信公众号“餐企老板内参”(ID:cylbnc),作者:糖粉,36氪经授权发布。















