乔丹体育再无“乔丹”?
编者按:本文来自微信公众号“知产力”(ID:zhichanli),作者:豆豆,36氪经授权发布。
10余年前,中国鞋都(晋江市)的标志位于当时的航洲百货,航洲百货开业第一天,人满为患,挤满航洲百货的人流大多是制鞋厂的工人,10余年后,航洲百货已经关闭,这里的人流量大大减少,一大批制鞋工人离开晋江。
(来源:网络)
乔丹体育也经历了中国鞋都——晋江的辉煌时代。
作为当地重要的鞋企之一,乔丹体育似乎与晋江发展之旅亦步亦趋。
2021年1月12日,天眼查信息显示,原乔丹体育股份有限公司发生工商变更,企业名称变更为中乔体育股份有限公司。
这是乔丹体育的又一次更名,但是否是其新发展的开端?存疑。
重要更名
上世纪80年代,随着“下海潮”的兴盛,福建省晋江市陈埭镇也初露制造业的苗头,并很快形成了制鞋产业之都。1984年,陈埭镇工农业生产总值迅速增长,成为福建省首个“亿元镇”,拥有超过700家乡镇企业,集聚了3000多家鞋材企业。
但对大多数晋江鞋企来说,造品牌是被逼出来的。起初,晋江鞋业就以合成革制鞋和塑料凉鞋闻名。以家庭作坊为主,生产和经营方式粗放、效益低下,贴牌加工是当时最主流的生产方式。90年代后,亚洲金融危机使得晋江企业的订单急剧缩水,晋江的企业家们开始意识到:不做品牌不行了!
这其中,就有乔丹体育的前身——晋江陈埭溪边日用品二厂(下称“二厂”)的董事长丁国雄。2000年,丁国雄紧跟晋江自建品牌的“改名潮”,二厂首次更名为“乔丹体育股份有限公司”。据了解,这一年二厂新增注册了“乔丹”及图形相关的15个图标。
从此,乔丹体育走进大众视野。
据中国商标网显示,1984年成立的二厂最早于1991年、1995年注册了第25类第595517号“丹桥”和第991305 号“麦丹乔克MDQK”两个商标,目前“麦丹乔克MDQK”处于无效状态。
1997年,“二厂”又注册了第25类第1186599号“乔丹”、第1218531 号“QAODA”和第1238708号“QIAO DAN”三个商标,除了“乔丹”商标,另外两个商标至今仍有效。1999年该厂又注册的第1617197号乔丹图形商标,目前仍显示为已注册状态。
两年后,乔丹体育的销售额便突破人民币1亿元。
据当时招股书显示,2008至2010年,乔丹体育全年营收分别为11.58亿元、23.16亿元和29.27亿元,业绩增速可观。2010年,其销售额位居本土运动品牌第6位,排在李宁、安踏、特步、361度和匹克之后。
上市遇阻
到了2011上半年,乔丹体育营收就达到了17亿元,净利润高达2.8亿元,同年11月,乔丹体育IPO申请成功“过会”,只差拿到证监会最终批文。可谓“万事俱备,只欠东风”。
乔丹体育原计划于2012年3月登陆上交所,预计发行股数为1.125亿股,预计募资10.64亿元,资金将用于生产基地扩建和直营店等项目建设。
但在上市的最后阶段,美国篮球巨星迈克尔·乔丹(简称乔丹)对乔丹体育注册的78件商标提出争议,一纸诉状将乔丹体育告上法庭,控诉后者侵害商标权和姓名权。
此后,双方经历了漫长的官司拉锯战。
2012年10月底,乔丹向国家知识产权局(原商标评审委员会)提出诉讼,起诉乔丹体育侵犯其姓名权和肖像权,并申请注销其78个相关注册商标。
据财经网报道,当时经商标评审委员会决定维持乔丹体育的一系列商标注册。随后,乔丹又向北京市第一中级法院提起诉讼。在一审被驳回后,乔丹上诉至北京市高级人民法院。
直至2020年3月,经历三级法院审理,历时近八年,最高人民法院对AIR JORDAN品牌状告乔丹体育商标侵权案做出终审判决,被诉裁定、一审、二审判决认定事实和适用法律均有错误,认定乔丹体育损害了乔丹的在先姓名权。因此,撤销了25类“乔丹+图形”商标。
不过,据乔丹体育后续发布声明表示,由于“五年期限”条件的存在,乔丹体育的78个商标中,迈克尔·乔丹只胜诉4个,乔丹体育胜诉74个。也就是说,除了“乔丹+图形”的组合商标不能继续使用外,乔丹体育其他核心资产并未受到影响。
2020年12月30日,上海市二中院再对乔丹案进行公开宣判,法院要求乔丹体育公司公开澄清其与迈克尔乔丹之间的关系、公开赔礼道歉外,停止使用企业名称中的“乔丹”商号,以及停止使用注册五年以内的涉及“乔丹”的商标,对于注册五年以上的商标,根据我国《商标法》体系,无法宣告其失效,因此法院判令要求澄清对应关系。
2020年12月31日,乔丹体育就上海第二中级法院案件审判结果做出声明,表示本次民事判决和最高人民法院的行政判决保持一致,不会影响乔丹体育对中文“乔丹”商标的合法使用权利,并且乔丹体育仍将一如既往的做好“乔丹”品牌。
乔丹体育还在声明中表示,自2012年以来,关于中文乔丹“姓名权”的行政诉讼,在经过一审、二审法院和最高人民法院的再审裁决,对公司注册时间已经超过5年的70多件商标,包括25类中文“乔丹”商标给予了合法使用的权利。
2020年1月12日,乔丹体育发生工商变更,企业名称变更为中乔体育股份有限公司。
有观点称,乔丹体育此番更改的只是工商注册名,类似麦当劳的注册名更名“金拱门”,并不耽误各大门店继续用“麦当劳”。因此,乔丹体育是否会在各大门店及产品的层面上改名,仍是未知。
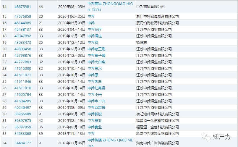
值得一提的是,改名为中乔体育的乔丹体育却没有申请“中乔”商标。
据中国商标网显示,截至2021年1月11日,共有110件“中乔”相关的商标申请,但110件“中乔”相关商标中没有1件由乔丹体育申请。
最早申请“中乔”商标的是三河市中乔机械制造有限公司,该公司于2008年7月7日申请第7类“中乔”商标。
(来源:中国商标网)
但与中乔体育申请商标的主要类别一致的第25类第19685210号“中乔”商标已由自然人于2016年4月19日成功申请注册。
落后同行?
相比乔丹体育,李宁、安踏、特步和361度等运动品牌上市之路顺利很多。2010年各家品牌也相继成功IPO。
资本的助力下,本土头牌安踏体育年营收突破人民币240亿元。目前,港股上市的安踏市值达到约1565亿港元,在全球运动用品行业仅次于耐克和阿迪达斯,位居第三名。
李宁同样业绩回暖,2018财年营收同比增长18.45%至105.11亿元,净利润增长39%至7.15亿元,实现营收破百亿的目标。
此外,特步和361度的年营收体量亦突破人民币50亿元,稳居本土品牌二线行列。
乔丹体育上市延缓,其在品牌、产品等方面均落后同行,市场竞争地位变得十分尴尬。在外界看来,乔丹体育已经错过上市的最好时机,想要追赶上头部品牌需要付出更多代价。
但业界认为,乔丹体育仍有望吸引资本关注。
一边是周旋许久的官司,一边是商业扩张的步伐,乔丹体育在这几年间走的并不容易。
据界面新闻报道,2019年4月4日,乔丹体育上市流程再获实质进展。中国证监会网站信息,乔丹体育时隔多年再次通过发审会的审查。同年10月,中国最高人民法院判决乔丹体育商标并未侵犯乔丹肖像权。乔丹体育在IPO的排队信息表中,所有栏目才都恢复了正常通过审核的状态。
与此同时,乔丹体育也在这一年开启了“品牌重塑”的计划。据悉,乔丹体育还在2019注册了超过150个商标图案,包括首字母QD的多种图形商标,以及子品牌PASONZ、“乔丹国潮”、“质燥”等多枚商标,并在同年10月份发布了旗下新系列“质燥”。
2020年4月最高人民法院的终审判决,对乔丹来说,既是迎来的难题,又是“松了一口气”的结果。“难”在乔丹体育必须抓紧时间进行品牌重塑,“松”在官司彻底宣告结束,乔丹体育的上市流程,或许可以向前推进了。
2020年6月11日,中国监会发布了最新版本的《上交所首次公开发行股票正常审核状态企业基本信息情况表》,其中,申请在上交所主板首次公开发行股票的企业信息表中,乔丹体育依然排在首位。
此次乔丹体育“商号”变更或否带来品牌及用户流失问题,又或否在一定程度上对其上市进度产生影响,知产力将持续关注。















