智能服装成AIoT下一个风口?苹果连甩66项专利,还有车载VR
编者按:本文来自微信公众号“智东西”(ID:zhidxcom),作者:云鹏,36氪经授权发布。
据外媒报道,苹果近日接连获批66项专利,包括智能手套在内的智能服装是苹果发力的重点方向之一。另外,苹果还获批了车载VR、AR地图、湿手屏幕触控等新专利。
此次获批的专利中,与智能手套相关专利有两项,其中一项专利为衣物表面传感器,可以增强用户触控时的物理反馈;另一项专利为一种智能手套交互系统,可以实现隔空操控屏幕内容。
如今,苹果在可穿戴业务方面的投入已经取得了显著成效,AirPods、Apple Watch等产品的年销量已经逼近亿级。为了进一步拓展可穿戴产品线,苹果想到了“智能服装”,而这样的产品也可以更好地融入用户的日常生活中。
模拟更真实的物理反馈
美国专利商标局周二批准了苹果的亮相新专利。通过这些专利,苹果希望找到一种方式,让用户可以通过操控针织物上面的触点或感应器,来完成与智能设备的交互。
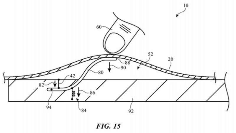
在第一项专利中,苹果提出了一种设计,在衣物中置入一些感应器,当用户触碰到这些感应器的触点时,这些感应器会发生振动,从而模拟用户按下按键时的真实物理反馈。这些感应器可以做的非常小巧,同时功耗也非常低,对于衣物外观的影响也会降低到最小。
▲衣物感应器
这些感应器通过导电材料连接,导电材料可以布置在衣物内部,所有感应器会连接到一个主控系统中。
有意思的是,这个设计可以通过通电和断电来控制这些感应器的突起状态。当电流通过时,感应器中的线材会膨胀从而突起,让用户可以良好地触摸;断电时,线材就会恢复原状。
据了解,这种感应器还有可能做成磁场感应的形式,这样整体结构的体积还可以被进一步压缩。
取代鼠标,隔空操作
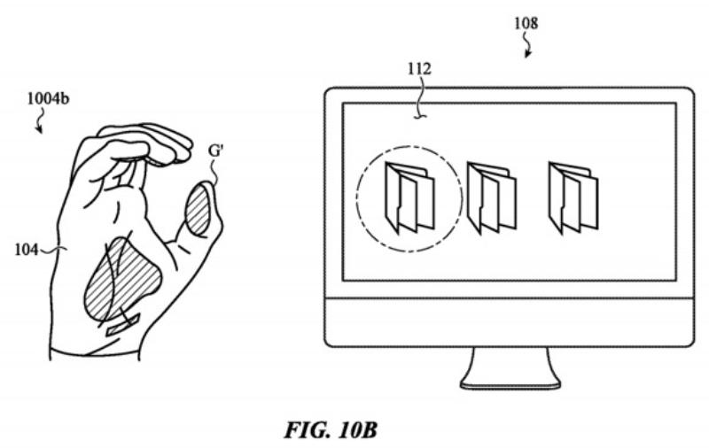
▲智能手套
苹果的第二项专利是一套智能手套交互系统。通过指尖、手掌等多个区域的力度传感器、陀螺仪、加速度计、电容阵列等硬件,检测用户的手部动作,从而实现对其他智能设备的控制,这项专利的一个典型应用场景就是AR。
▲移动文件夹
通过这项技术,用户可以隔空操控PC, 比如捏紧手指就可以选取桌面上的文件夹,然后移动手部来完成文件夹的拖动。就像你在握着一个虚拟的鼠标,不论是整体手部动作还是指尖的运动,都可以被识别出来,甚至用户还可以用这个手套来玩游戏。
▲模拟打棒球
这套系统其实也用到了刚刚提到的第一项专利,可以在手套中加入触觉反馈系统,甚至是磁力、温度控制元件,从而更加真实的模拟物理反馈。比如当用户“抓住”PC上的文件夹时,甚至可以感受到一丝重量。
当然,手套如何附着在用户手上也是专利讨论的主要部分之一。手套的位移或者形变都会影响用户姿态的检测,因此该设计可能采用一种“可以对用户产生吸引力”的材料。
智能服装或成新蓝海
苹果对智能服装的探索已经不是第一次了,特别是智能手套。早在2019年1月,苹果的一项专利就显示他们在研究“具有力度感应能力的针织物设备”2019年4月,另一项专利也提到了类似概念。
在2019年的另一份文件中,苹果通过轻轻挤压手指两侧来提升用户在显示屏上打字时的物理反馈。同年2月,苹果还曾提出在衣物中布署导电线的相关方案。
在智能服装领域,苹果还处在初期探索阶段,但在智能穿戴设备高速发展的今天,这无疑是一片新的蓝海。
车载VR来袭、触控板也能手写
此次与智能手套同时获批的还有超过60余项专利,包括具备8个扬声器的iPad、AR地图、沉浸式车载VR系统等等。
▲8扬声器iPad
据了解,苹果专门为自动驾驶汽车设计了一套沉浸式VR系统,可以让乘客在上班路上通过VR体验在办公室上班的感觉。
▲沉浸式车载VR系统
另外苹果还设计了一种铰链系统,这种铰链系统中可以接入键盘和iPad这类产品,使其组合成一个酷似笔记本电脑的设备。通过该铰链,iPad和键盘之间可以实现任意角度的开合,有些类似苹果刚刚为iPad Pro推出的Magic Keyboard。
▲铰链系统
在AR方面,苹果的一项专利显示用户可以借助此专利技术与投射在任意平面上的AR图像进行交互,比如在陌生城市中与三维地图进行交互,而无需用手指在屏幕上吃力地操作。
▲AR地图
此次苹果还推出了湿手屏幕操控专利,这也一定程度上解决了当下智能手机屏幕操控中的一大痛点。
值得一提的是,苹果还发布了一项专利,可以让Magic Trackpad支持Apple Pencil的手写输入,同时还可以充当无线充电板,为iPhone进行充电。
▲Magic Trackpad手写输入
▲Magic Trackpad为iPhone无线充电
其实苹果每周都会提交大量的专利申请,虽然这些专利并不一定真的会出现在将来的产品或者服务中,但可以确认的是,这些专利的确可以表明苹果正在研究的一些领域和未来可能发力的方向。
参考信源:appleinsider、patentlyapple















