忠旺系君康人寿变身在即,山东国资牵头富泽人寿获批
11月10日,国家金融监督管理总局官网显示,富泽人寿保险股份有限公司(下称“富泽人寿”)于今年6月10日正式获批保险许可证。
这家新成立的险企位于山东省济南市,业务范围涵盖人寿保险、健康保险、意外伤害保险等各类人身保险,上述业务的再保险以及法律法规允许的保险资金运用等。
工商信息显示,富泽人寿成立于今年6月19日,注册资本为170亿元。公司共有4家股东,其中济南金投控股集团有限公司(下称“济南金控”)、济南政金通达投资集团有限公司由山东国资全资持股,两家公司分别持有富泽人寿49.71%、3.53%的股份,合计53.24%,占比过半。
此外,中国保险保障基金有限责任公司、中国人保资产管理有限公司分别持有富泽人寿35.29%、11.47%的股份。
据保险许可证显示,富泽人寿的机构住所位于济南市历下区解放东路3-21号金控大厦16层、17层,公司第一大股东济南金控的地址同样位于金控大厦。
富泽人寿的董事长、法定代表人为冯毅。冯毅今年43岁,济南市地方金融监督管理局局长。富泽人寿的总经理为谢祝锋,谢祝锋出生于1977年,曾任中邮人寿副总裁、财务负责人等职务,今年10月从中邮人寿卸任。
据多家媒体报道,富泽人寿的成立并非单纯的市场扩容,而是为化解君康人寿风险作出的重要安排,未来将承接君康人寿的资产、负债。
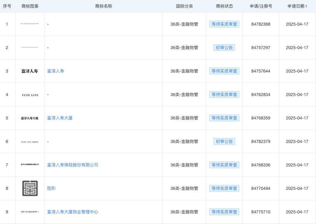
商标信息显示,今年4月,君康人寿作为申请人已经递交了多个“富泽人寿”的商标注册申请,包括“富泽人寿大厦”“富泽人寿保险有限公司”以及富泽人寿的logo等。
君康人寿的前身昭德人寿成立于2006年,后经历过多次更名以及大股东变更。2013年后,杉杉集团进入股东行列,并通过增资巩固了地位,2015年7月,公司正式更名为“君康人寿”。
2017年时,辽宁知名铝加工企业忠旺集团入主君康人寿,该集团通过宁波市鄞州鸿发实业有限公司持有其50.88%的股份,忠旺集团实控人刘忠田成为君康人寿实控人,君康人寿董事长由忠旺控股总裁路长青担任。
忠旺集团入主一年以后,君康人寿曾收到原保监会监管函,点名其在股东股权、“三会一层”运作、内部管控机制、关联交易管理等方面存在问题。同时明令,六个月内,禁止君康人寿直接或间接与辽宁忠旺集团有限公司、杉杉控股有限公司及关联方开展财务资助和资金运用类关联交易。
到了2019年,忠旺集团“爆雷”,君康人寿也受到牵连。2019年年报显示,君康人寿的营收为393.62亿元,同比增长4.94%,归母净亏损19.11亿元。到了2020年三季度末,君康人寿的核心偿付能力充足率仅为102.47%。
此后,君康人寿再未发布年报及偿付能力报告。此前公司发布公告称,2020年至2024年年报将延期披露,预计披露时间不晚于2025年12月31日。
本文来自微信公众号“大摩财经”(ID:damofinance),作者:达摩财经,36氪经授权发布。















