“千禾0”酱油惹争议,零添加不是万金油
不久前,曾在海天味业“双标门”暴雷事件后,接下泼天富贵的千禾味业,在互联网上,被不少网友网友质疑:招牌产品“千禾0”系列,只是商标名,而非0添加。
你是说调味料产品的包装上,醒目突出的“0”只是商标名?广大消费者坐不住了。
好在很快千禾味业就对媒体和大众的疑惑进行了回应:“千禾0”是注册商标,是公司旗下的中高端产品的品牌标识,非零添加产品包装没有“千禾0”标志。
但仍有不少消费者不依不饶,坚定地认为“千禾0”只是名字,无法代表配料表的干净。
(图源:淘宝)
另一方面,千禾味业高管的减持股票,也引起不小关注。业绩一片大好,高管们为何坐不住了?是要提前跑路吗?
从曾经生产添加剂的“酱油门外汉”,到稳坐行业龙头宝座一席,千禾味业只用了20年左右。但风光的另一面是一波未平一波又起的争议,如今的千禾味业的一言一行,一举一动都能成为焦点。
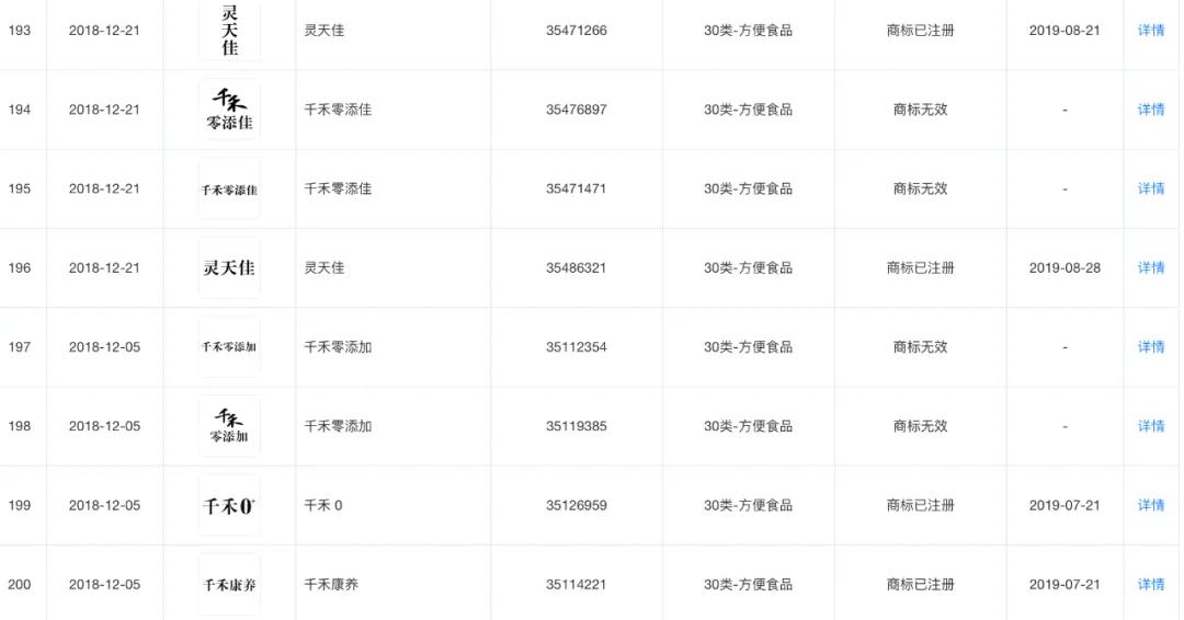
而此次兴起的风波正是由于千禾味业曾试图注册多个“零添加”商标被驳回的事情被扒出。仅2018年9月,千禾味业就申请并成功注册了30类“千禾零”、“千禾零加”、“千禾0”、“千禾0+”等商标。
(图源:天眼查)
广大消费者质疑,为何唯独“千禾零添加”、“千禾零添佳”等的商标迟迟拿不下?如果“千禾0”=零添加,为何还要多此一举?
不管招牌“千禾0”是否真的是零添加,眼下的消费语境已经不同往日,零添加的赛道也越来越拥挤,想要保持万年青,千禾还需保持初心,讲好故事。
接下海天“双标门”后的泼天富贵
千禾味业能如此快浮出水面多亏了对手海天。
2022年,一句“科技与狠活”几乎成了男女老少耳熟能详的口头禅,“绝命毒师”辛吉飞也凭此迅速出圈。
不含牛奶的香精勾兑奶茶、用碎肉压制的科技牛排.....但凡辛吉飞视频里出现过的食物,都能轻松登上热搜。
不过真正把全民恐慌度拉到极值的还属家家户户每日食用的酱油。
当年9月辛吉飞发布了一个视频——用食用盐、味精、呈味核苷酸二钠、高浓酸酱油香精、焦糖色素等原料调制出了“没有豆子和黄豆的酱油”。然后,辛吉飞用一瓶买到的酱油和他的自制“酱油”进行对比,表示:“后者品尝味道更浓更鲜”。
尽管辛吉飞没有明确指出前者这瓶酱油的品牌,但在评论区以及其他自媒体的二次传播中,都纷纷为这瓶买的酱油扣上了“海天”的帽子。
紧接着,又有在海外生活的网友指出日本的海天酱油和国内的酱油配料表不一样,海天供给海外的酱油明显配料表更干净,而国内的酱油,配料表上多了许多不明成分的添加剂。
至此,海天开始深陷“双标门”泥潭,连发的几份辟谣声明,不仅没能挽回余地,反而因态度傲慢,而进一步引燃网友的怒火。
海天深陷水深火热之中,而一边的千禾味业开始接下泼天富贵。
有部分网友开始在小红书、抖音等社交平台po出:千禾味业的酱油配料表很干净;千禾的酱油虽然价格高点,但吃得很放心……慢慢地千禾味业零添加防腐剂的形象就开始深入人心。
2022年10月,千禾味业最火的时候,有消费者表示,在淘宝买的千禾酱油居然是预售,发货时间无法得到保证。
(图源:小红书)
热度同样体现在财报在数字上的增幅。
2022年,千禾味业实现营业收入24.36亿元,同比增长26.55%;归属于上市公司股东的净利润3.44亿元,同比增长55.35%,这也是自2012年上市以来净利润最高的一年,往后几年,千禾味业的营收更是一路攀升。
如果说2022年,国民在零添加酱油上的选择还相对有限,那么到了2024年,市面上已经不止千禾一家在大力布局零添加酱油,包括曾深陷沼泽的海天在内,几家行业龙头李锦记、厨邦、六月鲜等都陆续推出自己的零添加产品。
显然,千禾单靠一张零添加一张牌显然已经不适合如此激烈的局面了。
口味与健康谁本谁末?
虽然千禾酱油健康的形象深入人心,但口味却一直被诟病许久,没有鲜味,纯咸,发苦……在小红书上搜索关键词“千禾酱油发苦”,相关笔记高达3327篇。
有网友说,卤了两大锅卤料味道发苦,质疑啤酒,也质疑大料,但万万没想到是酱油的原因。很快,评论区就有许多人附和,吃了两年还没吃完;炒任何菜味道都发苦……
(图源:小红书)
酱油鲜味的主要来源蛋白质水解产生的氨基酸,由于发酵周期长,可使蛋白质充分水解,并有足够时间生成各种氨基酸,在不添加外源氨基酸的情况下,不同的酿造天数直接影响了酱油的口感。
“千禾0”系列下的多个产品口碑褒贬不一,在众多测评中“御藏380天”的千禾酱油口感明显好于“千禾180天酿造”,以及那些没有标出酿造天数的酱油,但价格却远高于酿造天数短的。
(图源:淘宝)
从淘宝千禾旗舰店的售价来比较,1L装千禾春曲原酿的酱油售价9.4元,而1L装“御藏380天”酱油售价却高达45.2元。
虽然御藏380的千禾酱油口碑不错,但1L的酱油售价45元,对于大多数家庭来说,并不算便宜,毕竟市面上大多数500毫升装的酱油定价都在10元以内。
而平价的千禾呢,有消费者对比过,因为不含防腐剂,为了防止酱油腐坏,酱油里往往需要添加较多的食用盐,Na含量也比一般酱油高。这就导致,在鲜味不足的情况下,千禾的平价系列酱油偏咸,Na含量偏高的情况下,未必比添加防腐剂的酱油更健康。
一般来说,日常生活必需品,如食品和药品,消费者对其价格更为敏感,而酱油作为消耗品和家家户户的必需品,消费者对其的价格更为敏感。
对比海天酱油,同为零添加酱油,海金标生抽1.28L装价格仅为18元,这也是为什么,当“双标门”渐渐从消费者脑海中模糊之后,海天在大众心中的形象有所改观,好感也有所提升。
另一方面,虽然千禾味业这两年努力在营销零添加的酱油,也有产品可以做到很美味。但由于各个系列的产品包装都非常类似,买到平价酱油的消费者就很容易以偏概全,为其扣上“难吃”的帽子。
更重要的是,在全社会失去对添加剂讨伐的氛围后,恐慌情绪下降,大众更愿意选择口味好,价格优的产品。哪个品牌能让消费者以更低的价格,买到更实惠且美味的酱油,消费者的心自然就偏向哪里。
千禾味业该如何讲好故事
这两年来“双标”事件并未持续发酵,各家调味品企业已经回到常规竞争之中。
在调味品的赛道上,除了以家庭为代表的C端,B端餐饮类企业也被视作是必争之地,而在这一块上,千禾味业的表现力一直是较弱的。
因为入局早,海天具有明显的先发优势。通过数十年的渠道推广、各类经销商体系的搭建,以及赞助新东方等厨师学校和各类厨师赛事,不断增加厨师们以及餐馆对海天产品的黏性。这种黏性构成了海天在B端易守难攻的优势。
此外,“双标门”更多地是在影响家庭和个人的消费选择,为了保持口味的一致,厨师和餐饮界贸然去更换调味品的概率并不大,毕竟没有哪个消费者会真的冲到后厨去看你是否使用海天酱油。
东莞证券的研报曾进一步揭示了酱油市场的渠道分布,餐饮渠道占45%,家庭与食品加工各占30%和25%。然而,在这一重要市场中,千禾味业并未能占据优势地位,其销售主要依赖于KA(Key Account)渠道(大型连锁商超),而非餐饮渠道。
即使千禾味业分食了海天味业在C端的蛋糕,B端的消费者却不会轻易地去更替。
此外,据年报,千禾味业在KA渠道上的业绩表现有所下滑,线上销售却不见大幅增长。据数值显示,千禾味业去年线上销售渠道的营收6.31亿元,与2022年同期的6.30亿元相比,增长情况并不理想。
(图源:千禾味业2023年度财报)
值得一提的是,在主营业务收入来源的表现上,千禾味业也呈现了品类较为单一的特点。
海天味业的主营业务范围有酱油、耗油、醋、调味酱、料酒等主要产品;而千禾味业在抛弃了起家的着色剂等添加剂业务后,主营业务仅有酱油和醋。在耗油,调味酱等产品上表现乏力,利润受上游产品价格等因素影响大,且综合抗风险能力低。
在千禾的官方旗舰店,销量最好的生抽酱油有30万+的人付款,而耗油、酱烧烧汁、料酒等产品仅有4000+人付款。
除了已经进入存量竞争的酱油和醋,千禾味业确实还需要有更多能打的单品。
总的来说,凭借倡导“零添加”,千禾味业确实尝到了甜头,但“零添加”不是万金油,且至今国内没有一个统一的标准来准确定义“零添加”。
凭此理念,就要让消费者去消费一款价格更高,口味有争议的调味品实在难以自圆其说。
当下,消费者心智越来越成熟。或许,在调味品这条赛道上,千禾还需要更多的故事。
本文来自微信公众号“氢消费”,作者:映初,编辑:杨勇,36氪经授权发布。















