折叠屏手机市场再添新成员,魅族能否弯道超车?

雷科技·2023年07月10日 10:18
这个时代,已经不属于魅族了吗?
我要联系

折叠屏手机市场终于要迎来新成员了。

回顾这几年的折叠屏手机市场,有些意料之外又有些情理之中,意外的是没想到折叠屏手机可以在短短几年内就从昂贵的“板砖”变成如今能与高端旗舰手机掰掰手腕的“亲民机”。酷炫的外观设计以及不错的实用性,让折叠屏手机在高端手机市场的表现越来越好,也成为手机厂商们新的财富密码。

(图片来源:小米官方商城)

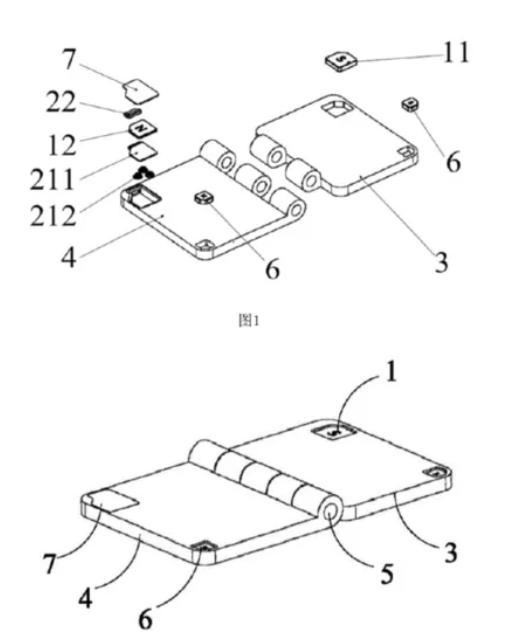
而就在近日,有网友爆料魅族公布了关于折叠屏手机的新专利,从申请的专利项目摘要来看,魅族这一专利能够有效降低折叠屏手机的展开难度,并大幅度提升了折叠屏手机的使用便捷性。

(图片来源:魅族相关论坛)

虽说专利这东西不意味着会立刻投入生产中,但起码能让消费者和市场知道魅族确实在努力做出一台合格的折叠屏手机。那么“浴火重生”后的魅族,能否成功在折叠屏手机市场中留下属于自己的脚印呢?

魅族折叠屏手机,到底如何?

其实早在魅族20系列发布之前,网络上就有传言称魅族折叠屏手机会跟魅族20系列一同亮相。但根据知名数码爆料博主“数码闲聊站”的爆料来看,魅族折叠屏因为早期硬件生产成本太高、软件适配难度较大等原因早已“胎死腹中”,不知道后续魅族还会不会重新立项生产。

面对这一消息,魅族官方也是出面表示“我们对折叠屏手机的要求更高了,之前定义的产品竞争力不太够,所以会重新定义,折叠屏这条产品线还是会继续的。”也就是说,魅族之前确实有在试产折叠屏手机,但因为产品力不足以和市面上主流折叠屏手机竞争,因此直接推倒重做,后续会带来更好的魅族折叠屏产品。

(消息来源:钛媒体)

根据业内人士透露,一款成熟的折叠屏手机起码需要15个月到20个月的研发周期,而且这还是建立在厂商拥有成熟的技术供应和产品生产链的情况下。对于魅族这位刚刚入局的新人来说,它们可能需要两年的时间才能带来一款合格的折叠屏手机。早期确定的一些规格可能跟不上发布时的需求,折叠屏又是牵一发而动全身的产品,与其反复修改还不如直接推倒全部重来更合适。

更何况如今市面上的折叠屏产品也卷得飞起,能够把折叠屏做到越来越轻薄的同时保持高配置,而且还把价格从之前的一两万降到如今的五六千元,很明显魅族无论是在价格战方面还是供应链话语权上都很难与主流折叠屏厂商抗衡。唯一的优势可能也只剩功能齐全且极为人性化的Flyme了。

那么如今的魅族折叠屏,到哪一步了呢?

目前网络上爆出的消息还不算多,但结合数码闲聊站的爆料以及专利图来看,魅族的首款折叠屏手机应该是一款竖折产品。其实这也很好理解,竖折折叠屏手机一能够有效降低生产成本和销售价格(体积更小,塞入的元器件也少),二它在市场上的销量是远高于横折折叠屏手机的。

(图片来源:魅族相关论坛)

根据CINNO Research数据显示,2023年1月,中国折叠屏手机竖折形态销量占比42%,同比上升2%;其中OPPO份额从无增至44%,排名第一;华为份额31%,同比下降44%;三星市场份额为23%,同比下降2个%。

而在硬件配置上,可以确定的是魅族折叠屏手机最快会在今年年底发布,考虑到高通第三代骁龙8处理器会在今年10月底左右发布,魅族折叠屏手机大概率会搭载这一处理器,毕竟第一代折叠屏手机就用“过时”的处理器,难免会让粉丝有些心寒。

另外魅族折叠屏手机还会搭载三星HP1传感器,其拥有两亿像素、1/1.22英寸大底、全像素输出、像素四合一等“旗舰”参数,考虑到目前市面上竖折折叠屏手机的影像实力也不会太强,因此魅族在这一方面应该不会被拉开太大距离。

总而言之,魅族既然能够做到“推倒重做”,就证明它们还是相当重视自己的产品口碑,虽说发布时间相比其他手机厂商晚了不少,但只要产品足够合格,小雷相信还是会有不少魅粉会掏钱包购买的。

现在入场,为时不晚?

虽说近两年的折叠屏手机如同雨后春笋般喷涌而出,但实际上在今年下半年我们还会见到更多的折叠屏手机,以及更加激烈的竞争。据不完全统计,除开今天的主角魅族外,在今年下半年起码会发布5款折叠屏手机,小雷也相信在拥有坚实基础的情况下,这些折叠屏产品只会做得越来越好。

密集发布的新机型为消费者提供了更多选择,持续推动折叠屏手机市场走俏。IDC数据显示,2023年第一季度,折叠屏产品出货量同比增长52.8%,竖折产品份额上升至44.3%。预计2023年国内折叠屏手机市场保持快速增长。

而随着折叠屏的普及,消费者对下一代折叠屏产品也有了更高的期待,权威数据统计机构Counterpoint表示未来的折叠屏手机不会一味地追求轻薄,而是在满足轻薄的基础之上,折叠屏厂商将会大幅提升折叠屏产品的综合能力,包括更强大的影像系统,不弱于直板旗舰的计算和续航能力,以及更加实用、智能的交互体验等。

这也给魅族提供了一些灵感,如今的折叠屏手机用户最重视的并非价格和配置,而是你能否给予他们完全不同于普通直板机的体验。举个例子,如今市面上大多数竖折折叠屏手机都拥有一个尺寸不小的外屏,用户可以用它来查看信息、时间、通知等。

(图片来源:雷科技摄制)

但就小雷的个人体验来看,能够真正发挥出这块小屏价值的产品是少之又少,大部分产品都是为了做外屏而做外屏,何况把外屏尺寸越做越大已经背离了竖折折叠屏手机的初衷,如果一味地提升外屏的体验,那么内屏还有什么存在的必要吗?而以Flyme闻名的魅族,或许可以在这一点上玩出点什么花样,甚至可以实现弯道超车,不说销量超过谁谁谁,但能够在市场上给消费者留下印象,那就足够了。

作为中国智能手机行业的第一批玩家,魅族曾有过辉煌的历史,但在2017年前后,因一系列的决策失误导致一蹶不振,属实令人扼腕叹息。至于魅族能否重回国内TOP5,就得看它们之后的产品策略能否与华米OV荣这几位巨头正面抗衡了。

本文来自「雷科技」,36氪经授权发布。

+1
23

好文章,需要你的鼓励

参与评论
评论千万条,友善第一条
后参与讨论
提交评论0/1000

报道的项目

魅族
我要联系
智能手机研发商

下一篇

食日谈:在吃喝中见世情。

2023-07-10

36氪APP让一部分人先看到未来
36氪
鲸准
氪空间

推送和解读前沿、有料的科技创投资讯

一级市场金融信息和系统服务提供商

聚焦全球优秀创业者,项目融资率接近97%,领跑行业