自游家造车,撞上资质的暗礁

车市物语·2022年07月29日 09:42
到底谁给谁代工?
牛创新能源
A轮江苏省2020-12
新能源汽车研发商
我要联系

7月初的常州,酷暑难耐,十几位经销商老板从外地赶到常州大乘汽车金坛生产基地。他们的诉求很一致:大乘这个品牌虽然倒下了,但经销商当时支付的合同保证金得有人偿还。

只不过,这座原本属于大乘的工厂,如今已经交给了牛创新能源科技有限公司(以下简称牛创)这一造车新玩家去打理。在去年年底,这座工厂的大门就挂上了“NIUTRON”(牛创)的标识,昭示着新主人的到来。

“原本大门口的牌子挂的是‘NIUTRON’,后面不知道怎么了,又换上了‘大乘汽车’的牌子。” 一位来自的员工表达了自己的困惑。其中一个经销商老板不以为然,“现在谁管理这家工厂,跟我们关系不大。它现在还挂着大乘的招牌,就得有人负责。”

上图:摄于2021年12月 下图:摄于2022年7月 图片来源:车市物语

去年12月15日,牛创推出了全新的汽车品牌“自游家”。今年年初,首款车型自游家NV正式亮相。原本定在3月31日的上市发布会,官方解释由于疫情的原因,将延期举行。按照牛创官方发布的计划,自游家NV最快在今年年底就可以开启交付。车市物语近日向自游家官方确认新车上市时间,对方并未给予明确答复。

牛创原计划通过盘活大乘汽车在常州金坛区的工厂,同时借着大乘汽车的资质来造车。可计划总是赶不上变化,一位接近大乘汽车的消息人士透露:自2020年开始,大乘汽车金坛工厂就因经营困难陷入停工停产的境地。如今想要重新开工,需要接受主管部门的核查。核查需要时间,而这占用的,恰恰也是牛创的时间……

01 大乘汽车的烂摊子

根据牛创官方发布的消息,目前,北京、上海、深圳、广州等9座一二线城市,已经有了第一批直营店。

近日,笔者来到北京的一家自游家品牌直营店,店内摆放着唯一一款车型:自游家NV。当笔者询问车尾“大乘汽车”的标识,销售人员解释:该款车由自游家与大乘汽车联合开发,且用了大乘汽车的资质。

自游家NV图片来源:汽车之家

对于一开始就把总部和工厂选在大乘汽车金坛基地的牛创来说,依托大乘汽车的资质造车,是合乎情理的事情。小鹏、蔚来等新势力车企,都是通过海马、江淮等企业代工生产的方式入局造车。

不同点在于,海马、江淮等车企,并未像大乘汽车这样爆雷。而手握燃油车与新能源汽车双资质的大乘,又不甘心在资质成为稀缺资源的时代沦为配角。于是,大乘留下的烂摊子,只能成为接盘者的包袱。

2018年3月,工信部发布了《道路机动车辆生产企业及产品公告》(第306批),其中,拟办理变更企业准入信息清单里,江西江铃集团轻型汽车有限公司(以下简称“江铃轻汽”)正式变更为江西大乘汽车有限公司(以下简称“大乘汽车”)。这代表着大乘汽车由此获得了江铃轻汽的生产资质。

然而,还不到两年时间,大乘汽车就濒临破产,留下一堆烂摊子欠下一屁股债。2020年5月,有多家媒体报道,多位不同地区的经销商来到大乘汽车的金坛基地“讨债”。2021年1月,中国汽车工业协会统计的产销量数据中,大乘汽车的月产量已经降为0。

企查查显示大乘汽车债务图片来源:企查查

企查查信息显示,江西大乘汽车有限公司的历史债务、债权超6.8亿元,合同违约金额超6.2亿元。“其实在牛创入驻大乘金坛基地前,双方就关于大乘汽车的债务问题展开过谈判。显然,牛创的第一辆车需要大乘的资质,但债务问题悬而未决。”一位接近大乘汽车的知情人士透露。

02 自游家?牛创?还是大乘?

在去年12月,自游家品牌发布之际,创始人李一男在接受媒体采访时透露,自游家常州工厂设计产能为18万台/年,工厂已经在进行量产前的改造和标定,将在2022年3月投入使用。彼时的他信心满满,造车计划尽在掌握之中。“造车3年来我们没偷过一天懒,也没有一天缺过钱。”他向在场的媒体说道。

去年12月刚刚发布品牌,自游家就在今年3月对外宣布,第一款车自游家NV将于3月31日发布并开启预订,9月份开始交付。然而,自打进入3月份,汽车供应链危机爆发,自游家不得不在官方微信上宣布新车发布会将延期举办。

按照官方说法,疫情打乱了自游家原本计划的发布节奏。当然也正如李一男所说,自游家一天也没有懈怠。在自游家的官方网站上,4月份还更新了冬季测试的消息。7月以来,自游家工作人员的微信朋友圈还更新了武汉、杭州、成都、广州等线下门店的建成事宜。

一切都有条不紊地推进着,让人无法联想到 “自游家”这个品牌标识甚至都还没敲定。

上图来源:汽车之家 下图来源:极智电车(视频截图)

在自游家今年1月份发布的外观官图中,车尾有“自游家NV”这一车型名称与“NIUTRON”这一品牌标识。但北京的自游家直营店内,车尾已经不见“自游家”这三个字,除了“NIUTRON”标识外,只有左侧的“大乘汽车”与右侧的“NV”。除此之外,各地直营店里,展车的车尾部分也不尽相同,有些直营店的新车车尾就有“大乘汽车”的标识,有些则是“自游家NV”。

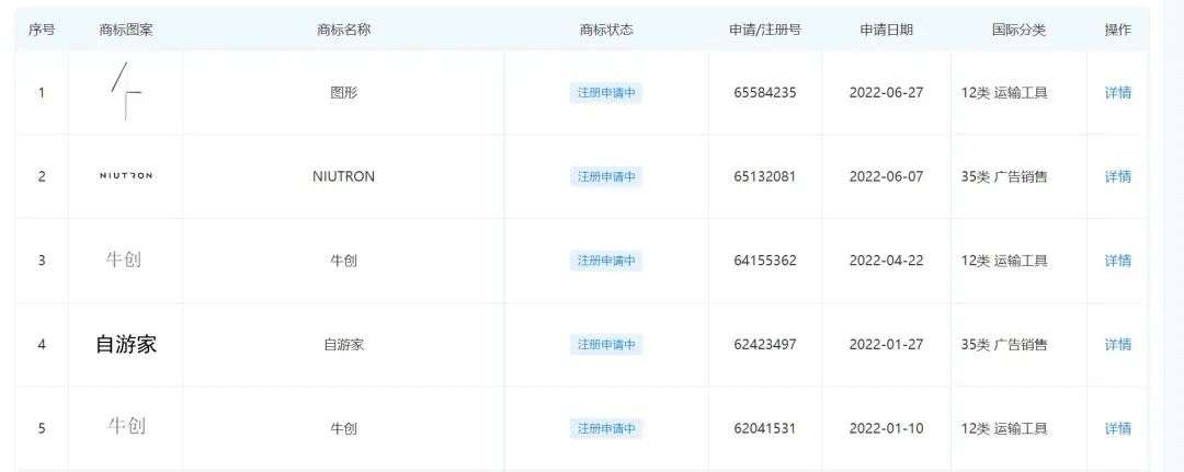
知情人士透露,“自游家”三个字的消失是因为这个品牌名暂时还没有申请下来,企查查显示的信息也佐证了这一观点。“商标注册成功之后,应该还可以重新启用。现在能确定的是,新车上面会有‘大乘汽车’四个字。”他说道。

企查查显示的商标注册信息图片来源:企查查

牛创与大乘,本该各自扮演着品牌方与代工方的角色,携手共赢。可越往后,“代工”就越像牛创的独角戏。

工信部曾在2018年发文,对于停产12个月以上的新能源车企,再次生产需要经过工信部的核查,不能保持准入条件或已经破产的企业,可能会被撤销资质。已经停产许久的大乘汽车,自然也不会有例外。

“工厂被牛创接盘之后,大乘汽车基本就不再参与进来了。资质审核这些,也基本是牛创在跑。”一位接近牛创的消息人士透露,大乘汽车目前正在接受主管部门的核查。对于双方来说,只有先让大乘顺利复工复产,才有下一步可言。

另一位知情人士在与车市物语的交流中表达了自己对眼下局势的困惑。他说,自打今年年初开始,大乘汽车金坛基地的门口招牌,又从牛创变回了大乘汽车。“一时间有些恍惚,分不清到底是谁给谁代工。”

03 年内上市,还有戏吗?

“市面上增程的车型并不多,自游家第一款车原计划主推的是增程版。但是大乘工厂建设前在环保厅备案的是生产纯电动乘用车,现在要想生产增程车型,需要重新走流程。”一位接近牛创的消息人士透露。笔者查阅江苏省生态环境厅官网发现,2019年,江西大乘汽车有限公司金坛分公司备案了“年产5万辆纯电动乘用车项目”,且文件中没有“增程”的字眼。

“重新备案需要时间,这个问题可能会影响新车上市和交付的进度,”上述消息人士表示,目前新车还处在PT(生产验证)阶段,需要在车型与配件的匹配度上不断调整。自游家北京直营店的销售人员也在与车市物语的交流中提到,目前店里的展车为试制车,与最终的量产版会有些许区别。

“一般来说,一款全新平台下的全新车型,从PT到PP(试生产)阶段需要大概一年半的时间,从PP到SOP(量产)需要一年的时间。新势力车企的研发周期普遍要比传统车企短,即便这样,早期‘蔚小理’也是用了3-4年时间才推出第一款产品。”车企资深产品战略规划师刘洋(化名)告诉车市物语,新势力车企早期都在产品一致性上踩过很多坑,但是这不代表,后进入的企业可以绕开这些坑。

“资本是不讲情面,也是等不起漫长的研发周期。而且现在的市场环境,已经不像2015-2018年那会儿:一个新玩家还有3-4年的时间,可以从0开始去研发一款产品。”刘洋解释道,如果“快”是所有新势力车企的第一要务,那么留给后来者的窗口期已经越来越短了。

想在新能源汽车这片红海中求得生存,留给自游家的时间不多了。一位不愿具名的来自国际知名投资机构的投资人在与车市物语的交流中表达过,工厂、资质这类硬性条件,只是考验新势力车企的第一关。

李一男曾在接受采访时说,“我车都没有造出来,还没有上台,能做到第几能不能活这种问题,我回答不了。”此话不假,毕竟造车的难度与门槛,并没有因为他曾经数次创业成功而降低。

本文来自微信公众号“车市物语”(ID:autostinger),作者:张凌霄,36氪经授权发布。

+1
5

好文章,需要你的鼓励

参与评论
评论千万条,友善第一条
后参与讨论
提交评论0/1000
特邀作者

我们终将改变车轮前进的方向,欢迎关注《车市物语》公众号。

报道的项目

牛创新能源
我要联系
新能源汽车研发商

下一篇

削弱了产品竞争力

2022-07-29

36氪APP让一部分人先看到未来
36氪
鲸准
氪空间

推送和解读前沿、有料的科技创投资讯

一级市场金融信息和系统服务提供商

聚焦全球优秀创业者,项目融资率接近97%,领跑行业