新风口还是伪需求?折叠屏手机大盘点
编者按:本文来自微信公众号“深响”(ID:deep-echo),作者甘洛奇,36氪经授权发布。
苹果创始人乔布斯曾说——
没有人会买大屏手机,3.5 英寸是手机屏幕的黄金尺寸。
但现在的情况和他的想法已完全不同,手机屏幕的尺寸就像老罗的脸一样越变越大。
如果再大下去,携带方便就会成为一个问题,总不能口袋里带着平板电脑吧?折叠成了新思路。
「折叠屏新品亮相」
今年2月21日,三星在美国旧金山召开发布会,高调展示其Galaxy Fold折叠屏手机。
三星Galaxy Fold折叠屏手机是向内弯折的,有大小两块屏幕,小屏和现在的手机使用方式一样,内折后为4.6英寸。大屏幕在手机弯折展开后出现,大小为7.3英寸,玩游戏、看地图、视频通话等都会显得更加方便,只是右上角的偏刘海似乎是对消费者习惯的一个考验。
除采用Infinity Flex可折叠显示屏外,它还有一个隐藏式的铰链系统。这款产品定价在1980美元(约合人民币1.3万元),4月26日将在全球开售其4G版本。
至于Galaxy Fold的5G版本,有韩媒披露的消息称,三星将于5月中旬在韩国首发,不过售价将高于1980美元,三星移动部门总裁高东真表示,“以同样的价格购买5G芯片将很困难”。
三星将这款折叠屏手机定位在中高端市场,据三星英国公司产品、服务和商业战略总监凯特博蒙特介绍,Galaxy Fold的供应量比S10系列更少,因而它的上市方式十分重要。
“这是一款超级优质设备,我们希望确保它具有礼宾服务和体验,因此不会在所有商店展出。我们想确保它是一种非常个人化的体验,随之而来的是相当密集的后期护理。”他说。
另据透露,三星计划于4月初再开一场关于Galaxy Fold可折叠手机的新闻发布会,届时还将对该产品的具体细节做更详尽的解答。
而在2019年MWC(世界移动通信大会)前一天的2月24日,华为也推出了其5G折叠屏手机——HUAWEI Mate X。
同其他折叠手机不同,Mate X合上时中间不会留缝,打开后手机屏幕达8英寸大。
据华为消费者BG业务总裁余承东在发布会上介绍,HUAWEI Mate X采用了鹰翼式折叠设计和自研的铰链技术实现折叠形态,将手机+平板两种形态合而为一。展开是一款厚度仅为5.4毫米的8英寸平板,闭合则成为6.6英寸的双屏手机。
“HUAWEI Mate X颠覆了手机固有形态,是一款整合了5G、可折叠屏、AI、未来交互等前沿黑科技的新物种,它将成为消费者开启5G智慧生活的第一把超级钥匙。”他说。
与三星的不同,HUAWEI Mate X采用外翻的方式,而这也增加了其遭受滑伤的风险。
除折叠屏外,该产品也是一款5G手机,搭载了业界首款7nm 5G多模终端芯片。售价为2299欧元(约合人民币17500元),超三星Galaxy Fold 4000元左右,预计将于今年6月发售。
华为的折叠屏竟然比三星卖的贵?
2月28日,华为遭到了吐槽。在三星新品发布会上,三星电子大中华区首席市场官冯恩说“我们可不是那种只可远观不可亵玩的外翻屏手机”,三星折叠屏手机用内折叠这种工艺难度更高的方式,能够为屏幕提供更为可靠的保护。
但鉴于在MWC展会上,三星华为的产品都是躺在深柜中,只能看看不能手摸。谁家的究竟更好用,还不得而知。
除此之外,小米在今年的MWC也展示了其正在研发中的双折叠屏手机,与三星、华为的不同,这款产品们目前仍处于概念机,未进入量产阶段。
从外观上来看,小米的双折叠手机左右两侧都可以向后弯折,成普通手机状态;而展开后就如同一个小型平板机,可单手掌控。从感官体验来看,这样的设计也颇为酷炫。
就目前已发布的折叠屏手机中,大部分都是折叠后如普通手机状,展开时成平板大小。TCL集团在今年的MWC则有不一样的想法。
TCL带来了两套折叠屏方案,其一和目前已发布的产品类似;其二则是向中间折叠,而展开后是细长状,颇为独特。
它采用自研的DragonHinge铰链技术,屏幕则来自集团旗下的华星光电。TCL希望能使折叠屏材料变得足够便宜,让消费者买得起。TCL沟通和战略主管Jason Gerdon说:“如果我们的创新无法让用户享受到,那么它就没有意义。”
折叠屏仅仅只能是手机吗?大错特错了,它也许还可以像手表。努比亚给折叠屏这一概念带来了可穿戴式的新思路。
看看它的可穿戴式折叠屏手机吧,它既可以完全展开当成手机使用,也可以首尾连成闭环然后戴在手腕上,当做智能手表使用,整个表带都是屏幕。它的边框比之前的概念机窄,背面设置类似红外传感器的装置,用于健康检测功能。
尽管这种设计确实有点新颖,不过对于游戏玩家和追剧党来说,这样的可穿戴式折叠屏手机似乎意义不大。
LG公司旗下的首款5G手机V50 ThinQ,也可以视为折叠屏版。它采用6.4英寸p-OLED FullVision刘海屏,分辨率为3120×1440,屏幕纵横比为19.5:9。
LG为V50 ThinQ开发了一款Dual View手机壳,包含一块屏幕尺寸为6.2英寸、OLED材质的副屏,当把V50 ThinQ嵌入手机壳后就能变成一台可折叠智能手机,两块屏幕承担不同任务,玩游戏时另一块屏幕还可以充当手柄使用。
据了解,该机将于6月底上市发售,但目前售价还未公布。
各大公司都相继秀出自家的折叠屏,作为最大国产手机厂商之一的 OPPO 自然也不能落伍。
2 月 25 日OPPO 副总裁沈义人也在微博上晒出了OPPO的可折叠样机,并表示样机已经完工了,但他指出,“可折叠手机在现阶段量产的意义不大,因为除了屏幕变大之外再也没有其他提升,所以是否量产也仍处于待定状态。”
沈义人称,现阶段的折叠屏本质上更像是翻盖机,硬主板和无法折叠的电池制约太多。因此,OPPO短期内并没有商用化折叠屏手机的考虑。
「折叠屏我们早就开始玩了!」
折叠屏是最近才兴起并流行于厂商的吗?其实并不是。
与这些最近才发布的折叠屏产品不同,2018年年初,中兴就发布了国产首款折叠屏手机AXONM。它被定义为双屏手机,由两块分割的屏幕组成,中间有一条用于连接的接缝。
AXON M采用了类似笔记本的铰链设计,前后链接了两块5.2寸的1080P屏幕,这两块屏幕既可以合二为一,又可以单独显示,还可以选其中之一使用,通过不同的组合来实现不同的玩法和体验,非常有意思和实用。
但中兴不太看好折叠屏目前大规模商用的可能。中兴通讯高级副总裁、终端事业部CEO徐峰表示,中兴在单屏幕、双屏幕有技术。不过“柔性折叠屏目前商用还不是太成熟,目前这是个值得关注的方向,但还需要看市场客户的进一步反应”,他说。
2018年10月,来自中国深圳的柔宇科技也发布了其首款可折叠柔性屏手机柔派FlexPai,其定价远非当下的产品如此昂贵,当时,柔派的上市定价仅为8999元。
不过,柔派的折叠方式则显得略为生硬,它的柔性铰链无法很好地将上下两层结构贴合在一起,直接将一块大屏弯折,从侧面看,弯曲的部分会留出一大块缝隙,令人觉得有些许“不忍直视”。
对于折叠屏,微软、苹果也不甘寂寞。
作为行业巨头,微软从来没有放弃过推出折叠屏笔记本电脑的想法。有消息说,微软服务器上现在已明确出现了一个新的Windows 10版本,适用于“可折叠”设备。
另据传闻称,微软一直与他们的原始设备制造商(如戴尔和联想)合作开发具有可适应性Shell的Windows 10版本,专为可折叠或双屏笔记本电脑设计。
2月25日,苹果联合创始人斯蒂夫·沃兹尼亚克在受访时表示,“在折叠屏手机方面,苹果确实不再领先了。iPhone太成功了,以致于很长一段时间以来成为了苹果的全部业务”,这已经令他感到担心,因为他真的很想要一部折叠屏手机。
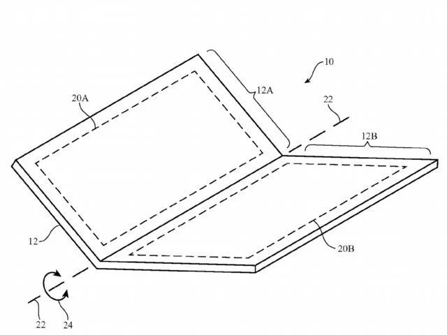
但实际上,苹果一直在研制折叠屏手机,2016年就已向美国提交了有关折叠屏的技术专利。
专利显示,这项技术将催生不同方式折叠的超薄折叠屏,可以对折,可以多重折叠,也可以只露出一部分显示屏,甚至把显示屏卷起来。
苹果在专利中指出,配上铰链,这种显示屏还可以用于智能手表和平板电脑。
iPhone首款折叠屏概念机据说长这个样子,根据设计图显示,iPhone仍保留了“刘海”,采用时下火热的“挖孔摄像头”,iPhoneXFold的前面板类似于iPhoneX/XS的前面板,带有凹槽,亮点之一是它的翻转模式。用户可以扩展手机部分以获得与笔记本电脑相同的体验。
不过,苹果从未公布过其折叠屏产品何时将会发布。分析师预计,估计上市要等到2020年。因此,有期待苹果折叠屏产品的朋友,估计还得等两年。
布局比较早的要属联想。早在2016年他们就展示了折叠屏概念机。
对于当下的折叠屏产品,联想觉得似乎没有令人满意的。联想集团董事长杨元庆称,目前曝光的折叠屏多数都是PPT产品,价格还贵,够买好几台平板电脑了。他说,“目前的折叠屏手机都没超出联想3年前发布的概念机”。
联想副总裁中国区移动业务负责人常程在今年的MWC上受访时说,
折叠屏联想在三年前就做过,无论是内翻还是外翻,亦或是手腕上的,都做过Demo,而且在三年间联想在折叠屏上做了更多的技术储备。
他也证实,联想将会“很快”发布折叠屏产品,并暗示联想还会有“更疯狂的计划”,“你们现在看到的是今天的形态,我们可能在折叠上还有你现在可能想不到的新的产品出来”,他说。
除了联想自身以外,2014年被联想收购、目前为联想旗下的全资子公司摩托罗拉近来对折叠屏产品也是动作频频。
2月28日,摩托罗拉在受访时证实,该公司正在研发一款可折叠设备,“(不)晚于市场上其他所有公司”上市。
不过,这款手机的外观不会像Galaxy Fold和Mate x那样采用全尺寸屏幕。去年5月曝光的摩托罗拉折叠屏专利显示,它的产品形状是水平的,大概类似于摩托罗拉(Motorola)的RAZR翻盖手机。
就目前市面上的公布折叠屏产品来看,大部分左右折叠的,由手机变成平板。而摩托罗拉RAZR新机据称将使用上下翻盖,打开时只显示单个显示屏,中间无折痕。而且手机的尺寸也和现在主流的手机相同,还能保护手机屏幕。
YouTube上的摩托罗拉折叠屏概念假想图
摩托罗拉经典RAZR系列自2004年推出以来,主打超薄设计,成为摩托罗拉最具代表性的手机之一;如今,摩托罗拉RAZR系列重出江湖,继续打着翻盖的旗帜,加上折叠屏模式,或将掀起一波新的浪潮了。
事实上,无论说是创新还是跟风,折叠屏手机的时代都已经不远了。全面升级的产业链已经逐渐运转,屏幕、转轴、软板、电池到贴膜、保护套…折叠屏手机需要的配置都在一一配齐。
业内估计,折叠屏手机出货量有望到2021年突破千万。看了以上介绍,你更期待哪款产品呢?















