懒人福音!耐克可能会在你的鞋底装个“跑步机”
再也不用到健身房(假装)运动了~
编者按:本文来自爱范儿(ID:ifanr),作者:方嘉文,36氪经授权转载。
从此以后,你再也不用到健身房(假装)运动,只需要穿上这双鞋,就能自动达到在跑步机跑步的运动效果啦。
图自 Giphy
醒醒吧!虽然真的有这样一个新专利,但这个设计的目的并不是帮你做运动,只是让你穿鞋的时候可以更顺畅容易而已。
简单来说,这个像跑步机传送带一样的装置,就是在你穿鞋的时候,通过“传送”你的前脚,辅助你的脚去到正确位置,并固定好。这样一来,你穿鞋时就不用撑开鞋舌和后套来让脚挤进去,只需简单伸进一部分,剩下就能交由自动化完成了。
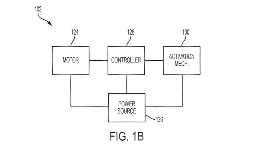
在专利文件中,还包括了一个控制机制,通过“组合形成一个激活机制,譬如,用一个开关或机制来检测鞋内是否有脚。”毕竟,谁都不想鞋子里一直有个带子在动。
除了这些单个应用场景外,爱范儿(微信号 ifanr)不禁进一步联想到另一个应用方式——和现有的 HyperAdapt 结合。
图自 Wired
将前脚掌伸到鞋里,传送带让脚带到正确位置,固定好,HyperAdapt 自动调节鞋面松紧,两个维度都到达最合适的状态。
这不仅是懒人们的福音,对于行动不便的人来说,更是具有实用意义。期待。















