无人驾驶是好,但晕车咋办?
编者按:本文来自微信公众号“ 量子位”(ID:QbitAI),Root编译整理自CNN;36氪经授权转载
一个人坐无人车去上班的话,怎样做到专心吃鸡的同时还不晕车?
Waymo最近申请下来了个专利,专门解决晕车问题。
借助AI算法,制定防晕车路径:挑个好走不颠,巴特远一点点儿的道。
但前提是你别(biè)掐着点起床,得留出足够时间在路上。
当然你想干点别的也行,毕竟解放双手…Emmm,是无人车最吸引人的卖点之一。
Waymo的防晕车专利
晕车,属于晕动症,主要原因是,人呆在移动车辆里,他/她在视觉上和体感上的信息容易出现输入不一致的情况。
如果说,主驾上的司机,喜欢猛踩油门,或者急刹漂个移啥的,碰上你还爱在车上刷手机,那肯定容易晕。
因为你从视觉得到的身体位移信息(余光的环境是大体不变的),是相对静止;但是身体的感觉(人耳朵里有个负责平衡感的前庭系统)却是策马奔腾,脑袋瓜儿想不精分都很难。
从这周四Waymo已提交的专利资料看出,Waymo的解决方案思路很简单,避免急加速急刹。
选个不堵且路面平缓的道开,哪怕绕远一点。
以及车上还配了个提醒系统,建议乘客多看窗外风景,biè低头玩手机或念书啥的。
车里还有专门给容易晕车的人配的专座,以及用算法提前评估好备选路径的拥堵情况以判断晕车指数。
△ Waymo提交的专利资料给乘客选路径的交互界面上面有晕车指数和路径预计时间
另外,Waymo无人车还能根据乘客的晕车反应调整驾驶风格,比如拉开与前车的距离等。
已经打算在今年晚些时候推出无人车的Waymo,对这个专利暂时没啥官方说明。
花样防晕车,Uber和密歇根大学还有别的招
除了Waymo,Uber和密歇根大学也提交了和防晕车相关的专利。
去年11月,Uber也提交了个防晕车的专利资料,并把这套技术叫“感官模拟系统”。
这整套防晕车的设计,简直是全方位无死角暖男式体贴。
首先,视觉上,Uber的车内有一套AR(增强现实,把虚拟的信息叠加在现实环境中)系统,可以利用车捕捉到的车外环境信息呈现在车里面,弥补视觉上不动的感知错位,以同步体感信息。
座位上还提供配套的触感系统,会在急转急加速急停时给出相应的气流。
密歇根大学运输研究所团队(U-M Transportation Research Institute)也在今年1年提交了自己的防晕车专利,是一套可穿戴的光学设备。
同样的原理,这套穿戴设备也是在模仿窗外的环境信息,和用户眼睛往窗外看的效果是一样的。
戴上之后就能安心在车上好好看(ci)书(ji)了。他们现在在寻求商业合作,希望能尽快把这个技术落地。
无人车还有哪些好玩的专利
谷歌系好玩的专利还有,车子临(hu)时(luan)停靠时,会启动警车侦查模式,专门侦测一闪一闪的光源。
一发现交警的车靠近的fà赶紧开走,逃掉罚单;当然在行驶过程中,也会遵纪守法的给警车、救护车让道。
避开警车的专利
而福特系的无人车专利,有专门给警车设计了个智能开罚单的算法(谷歌只能给一个尴尬却不失礼貌的微笑)。
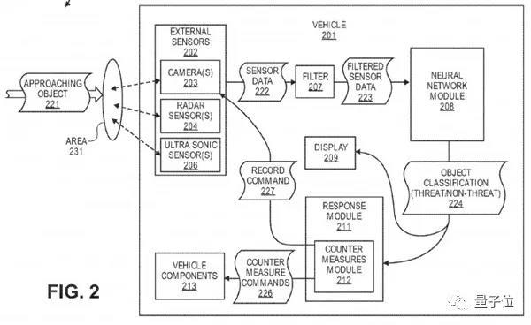
还有出于续命考虑,可用360度摄像头甄别出带着面具或拿着武器的人的算法。
这经过专门培训的神经网络,专发现可能的侵略性或威胁性行为,以保障车内乘客的安全。
最后要强调一下~虽然介些专利申请都批下来了,不过不代表产品化了。
这些奇奇怪怪又好玩的应用离真正我们能用上还有非常远的路要走哒。















