iPhone 狂想曲:2027年,苹果会发布一个什么样的产品呢?
编者按:2007年1月9日,Steve Jobs在Macworld博览会上向全世界展示了iPhone。它有一个3.5英寸的显示屏和一个200万像素的摄像头。从那以后,苹果逐渐成为了世界上市值最高的公司,而iPhone也开启了智能手机革命,改变了数十亿人的生活。上月中旬,Tim Cook站在崭新的Steve Jobs剧院中,推出了全新的iPhone X,这是自十年前推出iPhone以来,第一次对iPhone进行大刀阔斧的改动。在iPhone X之前,每一次iPhone的迭代,在屏幕下方都会有一个home键。新款iPhone抛弃了home键,用上了OLED屏幕,为应用程序的运行提供了一种提供了一种全新的导航方式。这款新iPhone正面的顶部,是一系列之前没有在iPhone出现过的传感器和元件,这让它可以与用户进行广泛的互动,包括Face ID和面部识别。可以预见,再过十年,将会有一名苹果公司的高管登台,再次向狂热的粉丝展示新款产品——iPhone XX。这款iPhone将成为20周年纪念版,凝聚着iPhone在20年以来的改进与技术成就。在这篇文章中,作者Mike Rundle阐述了他所认为的iPhone XX将会是什么样子,以及它将如何适应不断加速的技术发展。文章发表在Medium,由36氪编译。
这不是一篇科幻小说。
2007年的iPhone和2017年的iPhone看起来都大同小异。让我们来谈谈一些稀奇古怪的iPhone创意吧,以及为什么我不相信我们会在2027年看到它们。
为什么手机仍然是矩形而不是正方形?或者是一个圆?首先,书不是正方形或圆形,它们是矩形。人们以一种特定的方式阅读页面上的文字,我相信在未来的十年里,屏幕的比例会一直保持下去。
为什么还会有一部iPhone呢?那么AR眼镜、VR眼镜和飞行汽车呢?科技的发展速度并不像人们想象的那么快。100年前,人们相信我们会生活在火星上,食物会成为一种药片。相反,在50年内,我们没有将人类送上一个新的天体,而Soylent(将食物压缩成能量棒)不仅味道非常糟糕,还会让人生病。2027年,仍旧会有新的iPhone上市,而且它的外观也会和我们现在使用的智能手机差不多。
这并不是说VR眼镜和AR眼镜在10年内不会存在,它们只是不会取代我们口袋里的设备。
那么,科幻电影中的用手势操控的全息显示器呢?在2027年,我们仍然会在桌子上对着显示器使用电脑,在手中拿着手机。真正具有未来主义风格的手挥式界面,可以从任何方向操纵数据,并将数据传输到其他设备上,到那时并不会出现。
可折叠、可滚动或完全灵活的显示器呢?我认为这是所有未来主义场景中最有可能的一个。近年来,三星一直致力于柔性显示屏的研发,他们的移动产品负责人表示,将会在2018年推出具备柔性显示屏的Galaxy X。没有人知道整个手机是否会有弹性(这需要一个灵活的电池和内部组件),或者只是屏幕区域有弹性(有一个厚的下巴,里面装着不灵活的零件),但不管怎样,如果三星推出一款开创性的柔性智能手机,它可能会在这个行业引发一场军备竞赛,让苹果也朝着这个方向发展。时间会证明一切。
说完这些,让我们来了解一下iPhone XX的样子吧。
关于形状和显示
iPhone X显然不是一个理想的的智能手机状态。为了放置传感器和摄像头,苹果不得不在屏幕上留下了一个“刘海”,虽然说这对外展示了苹果非常厉害的面部追踪技术,但多少也有一些不完美。很显然,这只是苹果在2017年的选择。如果他们能以某种神奇的方式把所有传感器和摄像头都移到屏幕下方,那么他们很可能就毫不犹豫地去做了。
到2027年,我相信这个“刘海”将会完全消失,苹果已经拥有的十几项专利将会提供技术支持,把几乎所有东西都放在屏幕下面。全面屏将不再是一个营销概念,而是会覆盖整个手机的正面。而软件将接管整个手机的使用体验。最终,设备只是一个明亮、发光的长方形。
这显然是智能手机的理想状态。
这并不是空穴来风。13年前,2004年6月,苹果产品营销经理Michael Uy提交了一项编号为 #7535468的专利。
该专利描述了一种神奇的技术,在构成显示屏的成千上万个像素之间,放置成千上万个微型相机镜头,它们可以拍摄照片,然后能将结果拼合在一起。以下是苹果对这个专利的概述:
这项发明属于一种集成传感显示屏。集成传感显示屏包括显示元件和图像传感元件。因此,集成传感装置不仅可以输出图像(例如,作为显示屏),还可以输入图像(例如,作为相机)。
当时,唯一报道这个专利的新闻网站是AppleInsider,以下是他们的描述:
这项发明背后的理念,是将数千个微型图像传感器,楔入构成显示屏的LCD单元之间。每个传感器都负责捕捉整张照片的一部分。这些碎片几乎会立即被软件拼凑起来,形成完整的图像。
2004年,这种技术并不存在,只是一个天马行空的想法。Michael Uy在苹果待了4年,在此期间,他是一名产品经理,负责一系列与视频相关的苹果软件产品,包括iMovie、Aperture和Final Cut Express。作为上述专利的唯一发明者,我只能想象,是不是有一天他在洗澡的时候,想到了这个主意。
从那以后,围绕着这个专利,苹果提交了许多关于显示器和传感器的复杂专利。
2007年,苹果提交了一项专利,扩大了显示屏背后的摄像头系统的概念,并详细介绍了它的工作原理,尤其是在笔记本电脑显示屏上进行视频会议的时候:
显示元件被配置成一个循环,在活跃状态下,显示元件被照亮,显示屏幕上显示的图像。在不活跃状态下,显示元件被暗化,至少部分是透明的。当显示元素处于非活动状态时,图像捕捉机制被配置为,通过显示屏和显示元件在显示屏前捕捉物体的照片图像。
2011年10月,苹果公司把所有“显示屏背后”的技术都申请了专利,这些专利明确指出,如果把各种组件(摄像头、传感器、扬声器等)放在显示屏后面,也都能发挥作用。
AppleInsider对这些专利的报道为:
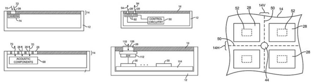
这个编号为9543364的专利描述了一种方法,可以将各种部件安装在设备屏幕中的小孔之后,尺寸非常小,人类的眼睛完全不能察觉。这样的安排可以让工程师们设计出一款智能手机或平板电脑,配备真正的全面屏。
这一专利大大扩展了Michael Uy最初的设想,即使在显示屏在保持活动时,显示器像素之间的微观穿孔也可以允许传感器数据穿过屏幕。
下面的图表来自于专利,右边的图像显示(中间的圆圈),这些传感器将在显示屏中存在:在微观像素之间。可以看出,这是一个非常狂野的东西。
直到2017年1月,苹果才获得了这项专利,专家们认为这项技术将会运用到10周年纪念版的iPhone上。很显然,这一技术并没有出现。我们看到了一个“刘海”。
我敢肯定,这些技术正在某个苹果公司的实验室里进行测试,他们可能已经在这方面研究很多年了。2027年,距离Michael Uy提出这项技术初步设想已经过去了23年,距离苹果再次发布文件详细阐述这一技术设想已经过去了16年。
对于苹果真正想要打造的产品来说,这个“刘海”显然只是一个权宜之计。现在,距离他们真正实现这个伟大的设想,只是一个时间问题。
既然我们已经讨论了这个“缺口”,那就借此来谈谈屏幕本身吧。
最近发布的iPhone X有一个不可思议的屏幕。我不认为苹果需要在屏幕的保真度上做出更大的创新,即使是将在2027年推出的iPhone XX也是如此。以下是iPhone X显示屏的规格:
5.8英寸的OLED、HDR超视网膜显示屏
2436 x 1125 像素分辨率,458 ppi
1000000:1对比度
广色域显示 (P3)
625 cd/m2最大亮度
就目前来看,使用HDR技术的OLED屏幕(显示纯黑色和更为鲜艳的色彩)显然是未来的发展方向。因此,除非在未来几年内出现一种更好的屏幕技术,否则iPhone XX仍然和iPhone X一样,使用类似的OLED显示屏。
至于分辨率,458 ppi是已经苹果在设备中使用的最高像素密度了。虽然与三星S8的571 ppi相比要低,但仍远远超出了苹果对“视网膜”屏幕的定义。而且,即使是在十年后,用户也无法直接感觉到屏幕像素密度的增加会有什么效果,因此,增加ppi也没有多大的必要。
能够在显示屏上凸显出来iPhone XX不同之处的应该是 Pro Motion。
Pro Motion目前只支持新款iPad Pro,它能将显示屏的刷新率从60hz提升至120hz,虽然很难用文字来描述来形容它带来的改变。它真的是一个非常有用的技术,能够使你在使用应用的时候的画面变得更加流畅。
我不知道为什么苹果没有在iPhone X上引入Pro Motion,但我觉得苹果公司肯定会在2027年之前把它运用到iPhone上,甚至可能是明年。
最后,iPhone X的亮度值达到了是625 cd/m2,也是iPhone历史上最高。不过,在接下来的十年里,显示屏亮度应该会有改进,因为三星Galaxy Note8屏幕的亮度达到了1200,几乎是它的两倍。我预计iPhone XX的屏幕亮度会比iPhone X高,但由于苹果总是有意识地节省耗电量。所以,我觉得苹果应该会在两者之间寻找到一个平衡点——既能优化亮度,也能保证续航能力。
摄像机和传感器
自19世纪以来,摄像头就是用来拍照的。2007年,摄像头出现在智能手机上,这个功能并没有发生改变,同样是用于拍照,然后和家人朋友去分享照片。
但随着iPhone X和ARKit的到来,苹果发出了这样的一个信号:拍照只是智能手机上摄像头的一个基本功能。在未来,iPhone的摄像头将能做到各种更加有趣的事情。
如果我们去研究一下苹果历年来提交的关于摄像头的专利和收购的公司,我们就会发现许多有趣的想法,也可以帮助我们,清晰地把iPhone摄像头的发展方向勾勒出来。
2015年,是苹果一举奠定它在AR和3D成像技术方面霸主地位的关键一年。
LinX相机模块的一个例子
这年春天,苹果收购了以色列相机模块公司LinX。
这家以色列创业公司的硬件专门用于平板电脑和智能手机,它不仅支持低光圈的背景对焦,而且还能帮助你实现更好的低光效果,非常适用于在室内或夜晚不使用闪光灯拍照。根据该公司自己的说法,LinX的重要硬件功能之一是在捕捉对象后实现选择性对焦。
LinX专注于多镜头相机的不同光圈和焦距,以及将每个摄像头的数据整合到一张特殊的交互式照片中,这些照片进行一些常规照片无法进行的操作,比如在拍摄完照片后动态地改变景深。如果你感觉到比较熟悉的话,就在前几天刚刚推出的Pixel2上就有这方面的能力,苹果公司在2年前就已经有相关的技术储备了。
在苹果收购LinX不到一个月,苹果公司提交了一份令人难以置信的图像传感器专利,名为“具有灵活扫描模式的飞行时间深度测绘”。
成像设备包括获取场景图像的图像传感器和包括处理器识别场景图像中的对象的光发射机[...]的扫描仪,定义非矩形区域,以便包含被识别的物体,并处理光学接收器的输出,从而提取出物体的三维(3D)地图。
这清楚地描述了iPhone X“刘海”中的技术。
相机和深度映射传感器,可以利用照片创建一个物体的3D图像(也就是你的脸),你可以在软件中操作它。在iOS 11中,这一技术被用作一种玩具,你可以用自己的面部肌肉来操纵表情符号,但从现在开始,这项技术将成为iPhone未来的基础。
苹果不只是收购了LinX一家成熟的成像技术公司。甚至你可以说,它把那个不是苹果在2015年最令人侧目的收购。
提交“大规模图像传感器专利”申请不到一周,苹果收购了AR软件公司Metaio。在过去10年,Metaio一直在开发先进的AR系统,并拥有像法拉利这样的客户。
在2015年的时候,苹果并没有公开表示其对AR的兴趣。所以,在当时这个收购非常令人惊讶。
就在苹果出人意料地收购Metaio的几个月后,就有消息表示,苹果已经收购了一家来自瑞士的实时动作捕捉和图像处理软件公司Faceshift。这在晚些时候得到了证实,以下是TechCrunch对此次收购的评论:
可以说,它的主要关注点是游戏和电影等领域的视觉效果。在一个动画技术成本高昂、耗时耗力的世界里,这家创业公司的主要产品被推销为游戏规则改变者:“Faceshift工作室提供了面部动作捕捉软件解决方案,彻底改变了面部动画,使其成为可能。”这项技术还出现在了《魔兽世界》中,它被用于最新的《星球大战》电影中,让非人类角色的表情更像人类。
为了实现准确的动作捕捉,面部表情识别技术不再是头戴式的装置,而是用一种先进的无标记软件技术,能够实时分析人脸,并驱动一个动画人物来匹配你的面部表情。这是一些非常前卫的东西,在被收购前,他们一直在和一些电影公司合作。
我之所以浏览苹果的2015年收购和成像专利,是因为我们才刚刚开始看到它们与iPhone X、TrueDepth相机和ARKit取得的一些成果。苹果一直都在打持久战,而且他们的产品通常在多年后才开始使用这些专利技术。
如果我们现在开始预测未来10年围绕着苹果相机的变化,下面是我预计将在iPhone XX上看到的成像硬件:
3多个不同焦距的后置摄像头
2多个不同焦距的前置摄像头,隐藏在显示屏后面
iPhone背面有3D物体传感器
iPhone前面也会有3D物体传感器,隐藏在显示屏后面
两边都有不同焦距的多个镜头,这样用户就可以在拍照后操纵照片的深度,增加后置的3D物体传感器,不管物体与设备的位置怎们样,iPhone中的软件就能捕捉到物体在3D空间中的位置。
在2014年初苹果也提交了一项专利,描述了带有折叠光学元件的水平方向的相机镜头,可以动态地改变焦距。这显示出苹果在这一领域已经做了很长时间的工作。
从iPhone X的推出,以及苹果推出的先进的TrueDepth相机来看,对于苹果来说,iPhone摄像头将不再只是用于拍摄照片的简单图像输入设备,而更像是一种用来获取更多周围环境信息的传感器。
不过,真正能让iPhone XX从一系列竞品中脱颖而出的不只是先进的相机系统和3D传感器,而是能够充分利用这些传感器数据的软件。这才是真正的魔力,让2027年的iPhone给人一种未来的感觉。
下面是一些例子:
通过实时的摄像头,iPhone能够感知其周边的环境,并对其中的对象进行3D建模并跟踪;
眼球追踪技术,可以根据用户的目光来引导软件的界面(苹果在2017年早些时候收购了SensoMotoric,这是眼球追踪技术的世界领先者);
通过摄像头获取的用户面部数据来提取生理特征和健康信息;
机器学习的进步可以让人们即时计算出iPhone附近的物体(比如,在这个教室里有多少人,我和红灯之间有多少辆车,桌子上有多少支铅笔,我的壁橱里有多少件衬衫,等等);
无需使用花哨的AR尺子,就可以完成对物体和空间尺寸的即时测量(比如这道墙有多长,开口有多宽,那盏灯有多高,等等)。
这些只是在功能上的一些小进步,我认为,最大的进步在于,拥有一个真正的全面屏和各种3D传感器,iPhone可以从你面前“消失”。
软件可以识别你的眼睛在屏幕上的位置,以及iPhone与其前面的物体相对位置,并实时操纵后置摄像头的焦距。在你拿着一个iPhone的时候,就会显得它是透明,你不过是拿着一块玻璃来看世界。而且,随着手机的移动,画面也会不断变化。
一旦实现了这一目标,就会出现真正的AR,信息可以精确地与屏幕上的物体叠加,仿佛它就出现在现实世界中。
Magic Leap已经朝着这个目标努力了很多年。不过它们专注于将这项技术引入头戴式设备。苹果可以在数亿用户的手机上实现这一目标。
电池和内部元件
从许多方面来看,猜测iPhone 2027年的内部元件比根据专利文件猜测软件进步要容易得多。在这篇文章中,唯一能够确定的是:iPhone XX的处理器性能将大大提高,电池容量将会更大。
很显然,这是一句废话。就算摩尔定律已经陷入了争议,但科技的进步是不可避免的。
不过,就算有技术能够使得机器在变薄的同时,电池容量变得更大,电池管理功能也变得更好。但因为显示屏的像素更高、亮度更高、处理器速度更快、用了更多的传感器等等,iPhone XX的续航能力也不会有多大提升,也会和现在差不多。
如果我们统计一下历代iPhone的电池容量,会发现随着iPhone的改进,电池容量实在逐步增大的。但与Android阵营的手机相比,增长的速度则显得有点弱。当下,有Android手机的电池容量已经达到了5000毫安,也有许多Android手机在电池续航能力测试中超过了iPhone。按照这个趋势,2027年,Android手机的电池容量肯定会大于iPhone。
也许,苹果实际上是在告诉用户:“你干脆还是带个充电宝吧。””
虽然电池容量的提升速度没有超过Android阵营的手机,但这并不是说苹果在电池技术上没有创新。事实上,在2010年的时候,苹果就提交了一项非矩形电池专利。并且已经在2015年推出的轻薄版MacBook中使用了。
它的每一层的厚度都是微米级的。而且,不同尺寸的电池可以堆叠在一起,这样工程师就可以在任何给定的空间里装上尽可能多的电池。
如果没有这项基础专利的创新,目前的Macbook产品线将是不可能实现的。也可以看出,在前文提到的“苹果申请了专利,在几年后运用到一款产品中”的说法,是有先例的。
此外,在2013年,苹果也提交了一项关于“新的层状电池系统”的专利,可以大幅提高电池的充电速度,延长电池续航能力,降低平均温度。这意味着在新配置下,采用新技术的分层电池,将会使电池的效率大大提高。
就处理器而言,苹果一直都占据着手机行业的主导地位,而且一刻都没有放缓过。
苹果一直在稳步推进其A系列处理器,在iPhone X中使用的A11中,还包含了苹果设计的GPU和神经引擎。高端Android旗舰手机内置的芯片根本就没有可比性。甚至全新的13英寸MacBook Pro在性能上都比不上它。
就如上图所示,如果没有大的意外,在接下来的10年里这种趋势将持续下去。2027年推出的iPhone XX的处理器能力肯定会有大幅提升。
结束语
最后,我们总结一下2027年的iPhone XX的整体配置吧。
显示屏
5.5-6.5英寸的圆角OLED HDR、超视网膜屏幕,450-550ppi,具有Pro Motion,800—1200 cd/m2的亮度。
相机和传感器
3多个不同焦距的后置摄像头,2多个不同焦距的前置摄像头(在显示屏后面)、前后3D物体传感器、先进的眼球追踪功能等。
未来的软件,将会把相机和传感器的数据缝合到AR世界中,将iPhone变成一个无缝的数字镜头。
电池和内部元件
5000—6000 mAh电池,有一个非常紧凑的梯形布局,A20 CPU和8—10个混合性能核心,同样的芯片可能也会出现在不同的mac上,macOS可以在ARM上运行。
今年2月,设计师Georgy Pashkov设计了一款“iPhone 8”,我认为这几乎就是我们在2027年将看到的苹果产品。一个真正的全面屏设备,具有先进的成像传感器可以理解和适应环境,让它看起来就像是你在世界面前举起的镜头。
原文链接:https://medium.com/@flyosity/iphone-xx-futurology-a44d06b3c8c4
编译组出品。编辑:郝鹏程















