亚马逊无人机能开口与你对话,甚至还能“对症下药”向你推销
“无人机飞天”,“水底建仓库”。亚马逊把送货这件看着就苦累的活,用科技手段美化,使曾经“高速路送货”的刻板印象,逐渐远去。最近,美国专利商标局通过了项亚马逊的“新脑洞”,或许,无需多时,你就会惊呼,“送货还能这样玩啊”。
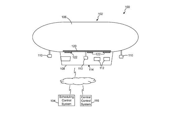
这项黑科技专利针对的无人机,虽说来自三年前,但正契合当今智能语音助手的潮流。亚马逊专利中提到,无人机能与包裹接收者语音交流,甚至或许搭载面部识别功能,这些无人机背后,都连接着控制中心,和其他无人机机群,彼此间都“心意相通”。
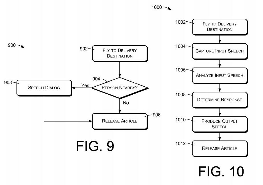
亚马逊无人机整体构成相对简单,里面搭载着收音设备、扩音设备、传感器系统、显示屏幕。重点还是语音模块赋能无人机“听懂”人话的能力,使得机器既能识别语音,又能某种程度理解自然语言语意。想象这样的场景,当无人机载着货物到达目的地附近,它先会通过传感器系统判断,周围是否有可与之交互的实物,如人、动物等。若没有,释放货物后,无人机即可“归巢”;相反,则启动语音对话模式,无人机主动“开口说话”,或者用户传达指令,无人机做出相应反馈。
无人机率先发声,可设想的场景是实物占据其航行路线,这时它会发出警告,如“请远离我”(用户还能通过语音输入,设置相对委婉的提醒),提醒周遭注意。另外,亚马逊专利指出,当用户传达指令,甚至如“把货物放在后门”这种相对模糊的表述,无人机能识别,并放到对应位置。
同时,无人机将记录接收者的回复,并向客服中心反馈。甚至还能作为“中转站”,把用户与客服人员代表,用视频或音频相连。如此,像一些更“高难度”问题,比如下个包裹何时能到,就有活生生的人直接替你解疑答惑,省得再上网登陆找客服。
既能送货还能对话的亚马逊无人机,俨然一副快递员的架势,但实际想替代人类送货的角色,恐怕还得要些时日。技术层面而言,专利提到支持语音交流的背后有蜂窝技术、射频(RF)、Wi-Fi、远程无线连接等技术,按理来说,亚马逊智能语音助手Alexa与无人机的结合并非没可能,未来是有想象空间的。现阶段,语音更多还是起到“警报、提醒”作用。
如果仅此而已,那就不是亚马逊了,无人机还延伸了亚马逊庞大“购物帝国”的触角。来送货的无人机,或许会“打量”住宅里的种种情况,收集数据,假以时日,这就是亚马逊网站的潜在购物对象。比如,经过你家花园,无人机发觉得除杂草了,“转身”,亚马逊可能就会向你推荐除草剂。这也算亚马逊打通线上线下边界,把精准营销延展至线下场景。
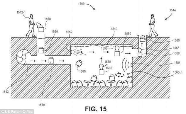
脑洞不止的亚马逊,日前还有其他新专利公布。事关水底建仓库存放包裹,通过浮力差别,确保包裹在不同水深处,声音信号即能控制其浮沉,取起来也很方便。且无人机完全可充当包裹从水底浮上来后的“接盘者”,站好“最后一公里”岗,再依靠“坐着”降落伞飘包裹、交流无人机等专利,把货送至你面前。
存放大量无人机的位置,亚马逊也构想好了。6月,亚马逊设计的九层蜂巢(nine-story hive),就能“存放”数百个无人机,主要针对城市地区。毕竟想在人潮拥挤的城市建经营中心,地贵不说,重点是也没足够用的占地面积。像这样的蜂巢,专利里设想的是每天能承担数十万条订单的吞吐。
将亚马逊视为劲敌的沃尔玛,前不久也在送货方面下了些“科技料”。他们申请了“漂浮仓库”的专利,目的同样是存放无人机,运送货物。
另外,还有谷歌也押注无人机送货,国内的顺丰、京东都是践行者。
总之,像亚马逊把送货这事的诸多方面都科技化,无论专利最后怎样实现,能否有最佳效果,这都算是一个思路的启发,送货真不仅是送货,为用户更周到的服务,最后落实到公司荷包里(如上述提及亚马逊无人机收集数据,做精准营销),才是既赢声誉又赚钱,两全其美的好事。















