亚马逊开发了个“新货柜”,它能在火车上开飞机给你送快递
编者按:本文来自爱范儿,作者梁梦麟。
亚马逊一直致力于物流运输方式的革新。
除了无人机运货,他们也开始涉足到无人驾驶领域,打算用无人驾驶货车组建一种新型车队,降低用人成本的同时也能提升效率。
(插图来自:jpcuts)
而他们的无人机运输开发,是这个计划的另一个核心。一开始,亚马逊是打算用无人机来解决从下车到客户手上这“最后一厘”的短途运输。但从今天曝光的新专利看来,亚马逊是希望他们的无人机能走得更远。
根据 The Verge 的报道,亚马逊申请了一项新专利。这项专利是一中在运输船、货车等移动物体上启用无人机的物流技术。亚马逊打算通过这项新技术,在这些大型长途运输设备上搭建无人机移动飞行平台。
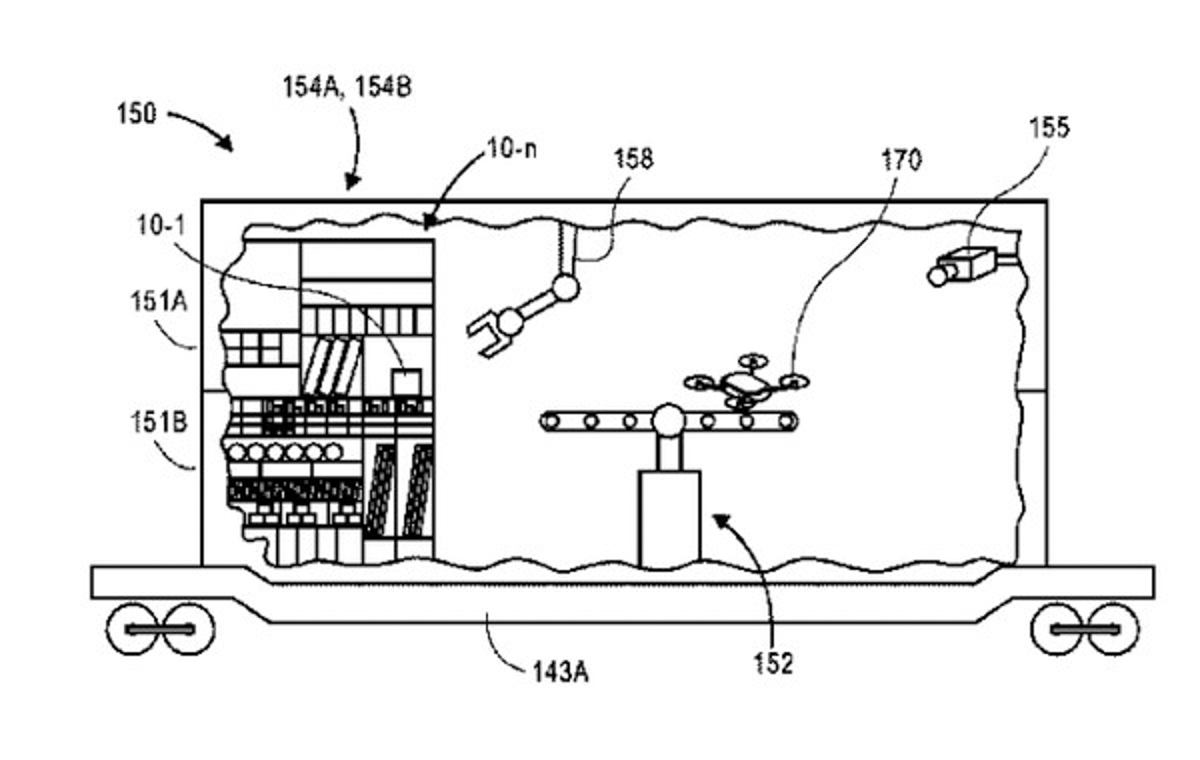
(专利插图来自:The Verge)
以火车为例,亚马逊首先要搭建一个自动化程度高的集装箱。集装箱内部有一个专用于起飞的可旋转停机坪,停机坪上方有一个机械臂。
飞机起飞前,操作者或者是一些固定的程序会控制机械臂,将电池和货物装载到无人机上。装载完成后,停机坪会转动的起飞的专用位,货柜的顶部也会打开。然后无人机就会起飞,将货物运送到客户手上。
这整个过程都会有监控摄像机监视着,出现状况的时候也能够有工作人员及时修正。
总的来说,这是亚马逊自动化运输计划的一种新方案。从装载到起飞,这些都能够通过机械来完成,降低出错率、人力消耗的同时也能够提升效率。
(插图来自:路透社)
而且,这种移动运输平台可以跟着列车、轮船移动,灵活性也比传统的运输系统要高。现在,物流公司 UPS 已经在卡车上测试一套跟这相似的自动化运输系统。
UPS 打算在产品制造、运输、派送这三大环节中多投入这种移动运输平台,降低装载、运输环节用的人力。同时他们也会调整汽车的运输距离,从而提升无人机的飞行安全性。
(插图来自:Venturerecon)
由此可见,亚马逊这套系统应该也有跟 UPS 那种方案相似的考虑,这种“多功能式联运车”也可能成为未来的主流运输模式。
不过,申请专利只不过是定下一个技术雏形而已。亚马逊目前还没有对外表示,这种“多功能式联运车”形式的“无人机移动平台”将会在日后的无人机运输架构中充当什么角色,能不能用上还是一个问题。亚马逊在接受 Business Insider 访问时也拒绝回答这个问题。
当然,要实现其实并不难,UPS 已经踏出了第一步了。接下来,就要看亚马逊这部署要怎么走了。















