资本市场的专业玩家:药明康德分拆业务京沪港三地“上市”
新三板在线 · 文/程鹏飞
与其他中概股相比,纽交所退市的药明康德回归后,“玩”了把更有趣的“资本棋局”。
近日,这家中国最大外包研发机构报送了招股说明书,拟在沪市发行不超过约1.04亿股,这意味着其资本运作的第三步正式拉开序幕。
此前,药明康德旗下合全药业已在新三板挂牌,另一业务板块药明生物于2017年6月在香港上市,若药明康德顺利登陆A股,该集团将实现A股、港股、新三板这三个资本市场的布局。
先从纽交所退市
1999年,美国哥伦比亚大学获有机化学博士学位后,药明康德创始人李革希望利用自己对美国市场需求的了解和积累的经验来研发化学新药。
但在随后实际工作中,李革发现,变独立开发新药为承接国际制药巨头新药研发业务,更符合中国市场当时情况。2001年,其成立药明康德,当时国内的新药研发基本只在科研院所和高校中进行,几乎没有专门从事研发的商业企业。
2007年,药明康德已经跻身全球领先的药物研发和生产服务供应商行列,员工超过一万人。当年8月9日,其母公司无锡药明康德(开曼)有限公司登陆纽交所上市。
然而,上市后,药明康德的资本待遇并不高。
2015年,A股牛市给企业的高估值,让在美国不受投资者“待见”的“中概股”们分外郁闷。尤其是首家在美私有化并回归A股的暴风科技,创造了上市后一路30余个涨停的神话,更是让“中概股”们眼红。遂即,市场上掀起了一阵“中概股”私有化浪潮。
2015年8月,药明康德宣布与包括公司董事长兼CEO李革在内的团体达成33亿美元的私有化约束性协议。同年12月底,其完成纽交所私有化退市,市值33亿美元。
当时,国内创业板上市的CRO企业泰格医药PE为71倍,估值约为109亿元,其估值高峰时甚至超过260亿元;恒瑞医疗市值已经超过800亿元。而药明康德作为国内CRO的龙头企业,在美股市场的PE是30倍,估值仅约30亿美元(约合人民币200亿元)。
而在回国之前,药明康德已经展开对国内资本市场的布局。
第一步,推动合全药业在新三板挂牌
2015年4月3日,合全药业(832159)成功挂牌新三板。
合全药业是药明康德体系内负责CMO业务(合同生产服务组织,主要接受药企委托,提供药品生产时的工艺开发、临床试验用药、原料药生产、中间体制造等服务)及CDMO(CMO基础上增加相关产品的定制化研发服务)业务的子公司,为跨国制药企业提供定制的医药生产研发外包服务。
2016年12月底,合全药业完成了一轮定增融资。成功以123元/股发行300万股,募集了3.69亿元。发行后合全药业估值约163亿元。根据该公司2016年4.36亿元的净利润来看,公司的发行市盈率为37.3倍,是新三板上市值最高的医药企业之一。
同时,合全药业还是中国规模最大的CMO公司。
2016年12月底,合全药业董事会通过重大资产重组议案,拟以发行近1285万股股份的方式向控股股东上海药明康德购买其拥有的PDS(制剂开发服务)部门的全部资产与负债,交易价格为15.2亿元。
合全药业交付的原料药产品作为制剂生产的主材料,而PDS可用于后续制剂工艺研发、制剂的研发性生产及商业化生产。交易完成后,合全药业CMO业务条线将由原有活性中间体、原料药板块扩充至制剂研发及生产板块。
在股东结构上,2017年5月,本次A股的上市主体药明康德通过全资子公司上海药明以6.51亿元向WXAT BVI购买其持有的合全药业1000万股。完成后,药明康德通过子公司间接控制合全药业的权益份额比例达87.28%。
第二步,药明生物去港交所上市
2015年起,药明康德为了将主营业务聚焦在小分子化学药的发现、研发和生产的平台服务等业务上。在私有化前对旗下部分业务进行了资产转让及业务剥离,主要就是大分子生物药的业务。
2014年至2015年,药明康德从事大分子生物药的主体包括:药明企业管理及其下属公司、苏州检测、上海药明部分业务部门。
2015年3月,药明康德通过固定资金及无形资产剥离、雇员劳动关系转移等方式,将大分子生物药业务剥离。并向药明生物等公司销售了相关业务的仪器设备和软件,转让价格为1.29亿元。
2015年4月,药明康德将药明企业管理及药明企业管理的控股子公司药明生物、上海药明生物、Biologics HK剥离出去,转让价格为9080.94万元。同年7月,公司又以近2500万元将苏州检测剥离。
至此,本次拟IPO的药明康德主体逐步退出了大分子生物药业务。
2017年6月13日,剥离出来的药明生物在香港主板正式挂牌上市。上市后,药明生物一度受到投资者的疯狂追捧,股价最高到达38.7港元,对比25港元的发行价,涨幅高达54.8%。
截至8月4日收盘,药明生物股价仍有33.05港元,市值为384.4亿港元(约330亿人民币),已经大幅超过此前药明康德主体的33亿美金私有化的价格。
投资者的青睐并不是没有理由的。2014年、2015年和2016年,药明生物的营业收入为3.32亿元、5.57亿元和9.89亿元,净利润分别为4198万元,4451万元和1.41亿元,均增长迅速。按照当前的市值,目前药明生物的静态市盈率达到234倍。
根据全球企业增长咨询公司Frost & Sullivan报告,药明生物是全球唯一的开放式生物制剂技术平台,提供端到端的解决方案,让任何人能够发现、开发及生产生物制剂,实现从概念到商业化生产的全过程。
目前,药明生物已将15个生物制剂成功进行到可供启动全球临床试验的试验性新药生产阶段,并将32个分子推进到可在中国进行临床试验。药明生物已开发191个细胞系作治疗性蛋白质用途及72种基于细胞的生物测定方法,并已生产超过320批生物制剂,成功率为97.6%。
Frost & Sullivan报告显示,药明生物在中国的生物制剂研发服务市场排名第一,在全球市场排名第五,市场占有率分别达到48.0%和1.8%。该机构预测,全球生物制剂研发服务市场的市场规模于2016年达到84亿美元,2021年前将增长至200亿美元。
最后一步,药明康德主体到奔赴A股IPO
药明康德于2017年7月14日提交的招股说明书显示,本次发行股份拟不低于总股本的10%,募集资金57亿元,分别投于10个不同的项目。
目前,药明康德是中国规模最大、全球排名前列的小分子医药研发服务企业。主营业务为小分子化学药的发现、研发及生产的平台服务,以全产业链平台的形式面向全球制造企业提供各类新药的研发、生产及配套服务。此外,药明康德还在境外提供医疗器械检测及境外精准医疗研发生产服务。
(图片来自药明康德招股说明书)
截止2017年一季度,公司拥有1.19万名员工,其中4908人拥有硕士及以上学历,600余人拥有海外博士学位或为拥有10年以上海外新药研发工作经验的海外归国人士。公司旗下共有30家境内控股子企业,27家境外控股子企业,3家分公司,6家参股子企业。
(图片来自药明康德招股说明书)
药明康德在招股书中表示,随着全球制药企业研发投资成本加大、研发周期变长、研发成功率低,目前全球已有超过50%的药企选择聘用专业CRO(合同研发服务,是通过合同形式为制药企业和研发机构在药物研发过程中提供专业化服务的机构)企业协助新药研发服务,以降低自身研发费用并控制风险。
据资料查询,CRO承担了全球近1/3的新药开发工作,在提高效率的同时,也为企业节省了30-50%的成本。国家食品药品监督管理总局旗下南方医药经济研究所(简称“南方所”)统计数据显示,2011年至2015年,全球CRO行业的销售额由213亿美元稳步上升至293亿美元,年复合增长率达到8.25%。
而在国内市场上,随着需求增长、行业细分趋势加剧、一致性评价标准落地等因素影响,中国CRO行业发展更加迅速。南方所统计,2011年至2015年,中国CRO行业销售额从140亿元增长至379亿元,年复合增长率达22.04%;预计未来5年行业仍将以近20%的增长率持续增长。
药明康德的CMO业务是由合全药业负责。为了加快药品上市速度,降低药品研发成本,多数跨国制药公司将目光聚焦于前期研发等优势产业链环节,并将生产工艺优化等环节外包,形成了CMO企业。
与CRO行业相似,随着行业的发展,业务的细分,CMO行业近年也在快速的增长,并且随着中国人才、基础设施和成本结构的优势不断显现,中国CMO行业的发展更为迅速。南方所预计,2016-2020年我国CMO行业的市场将由270亿元增长至528亿元,年均复合增长率达18.27%。
在行业快速增长,尤其是中国更具竞争优势的背景下,药明康德也随之获得了飞速的发展。2014年、2015年和2016年,药明康德的营业收入分别为41.40亿元、48.83亿元和61.16亿元,年均复合增长率达21.55%。归属母公司股东的净利润为4.62亿元、3.49亿元和9.75亿元。
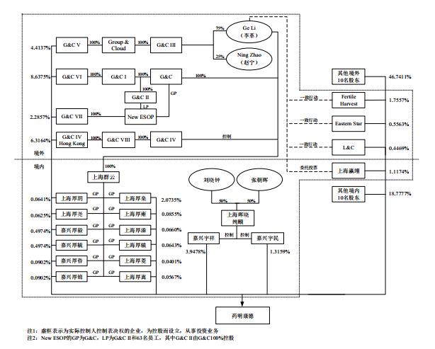
在股权结构方面,药明康德无控股股东,公司创始人Ge Li(李革)、Ning Zhao(赵宁)、刘晓钟、张朝晖签署一致行动协议,为公司实际控制人。此外,Ge Li与其他部分股东签署一致行动协议或投票委托书,最终4名实际控制人合计控制公司34.48%的表决权。
(图片来自药明康德招股说明书)
分析认为,以“一拆三”的方式回归,操作繁杂也好处良多。一方面帮助药明康德实现市值最大化,拓宽了公司的融资渠道,另一方面也有利于公司梳理业务架构,完善治理。
按照截至2017年8月4日的收盘价,合全药业的市值达180亿元,药明生物的市值近330亿。若是后续药明康德成功登陆A股上市,或许中国又将诞生一家千亿市值公司。
本文出品:新三板在线。作者:程鹏飞。
转载声明:本文为新三板在线原创文章,转载请注明出处及作者,否则侵权。
风险提示:新三板在线呈现的所有信息仅作为投资参考,不构成投资建议,一切投资操作信息不能作为投资依据。投资有风险,入市需谨慎!















