王思聪微博被禁言,盘点被他怼过的人和企业
三言财经今日发现,王思聪的微博被禁言。
页面显示,因违反相关法律法规,该用户目前处于禁言状态。
日前,王思聪转曾发了一则有关莲花清瘟胶囊的文章,认为证监会应该严查以岭药业。不过王思聪很快重新编辑了该条微博,删除了原先的评论。
自王思聪“手撕”莲花清瘟胶囊以来,以岭药业连续三个交易日出现跌停,市值蒸发超百亿。
一直以来,被称为娱乐圈纪检委的王思聪不仅跟一些明星互撕过,他也曾和不少知名的企业“掐过架”。
今天,三言财经带大家盘点一下那些被王思聪怼过的人和企业。
张兰汪小菲母子
2011年3月22日,汪小菲和大S在海南举行了婚礼。据悉,婚礼极度奢华,足足花了几千万,声势浩大。
随后在接受采访时,汪小菲的母亲,俏江南餐饮集团创始人、董事长张兰被问到儿子婚礼到底花了多少钱时,张兰称自己和王健林的关系很好,饭店是万达免费赞助的。
王思聪直接发文怒怼张兰,“真不敢相信,你能说是我们赞助了你儿子的婚礼”“我们一家三口,除了我母亲或许见过你,我父亲压根儿就不知道俏江南的董事姓张”。
眼瞅着母亲受委屈,汪小菲与王思聪隔空对骂起来。
王思聪回复汪小菲,“就你裤兜里的俩钢板,还冒充富二代,你还真好意思”。
2015年,俏江南发文称,张兰将不再俏江南里有任何职务,甚至随后又将张兰告上了法庭。自此以后,俏江南便再也不属于张兰了。
张兰时不时直播,而前不久,汪小菲和大S也离婚了,精力投入到餐厅麻六记上。据悉张兰近日自曝与汪小菲爸爸复合,“我老公就是汪小菲亲爹”。
大张伟
2016年9月5日,王思聪突然转发大张伟微博,指责其改编的歌曲“像素级的抄袭,却居然硬着头皮不承认”。
小王最早怼人是在2016年小王看到大张伟的新歌后直接发文说大张伟是抄袭狂魔,结果大张伟当时不承认,后来还是被拔出来都是抄袭别人的作品,而花儿乐队因为内部矛盾就解散了。
据了解,2016年8月初,大张伟参加了一个叫《盖世音雄》的节目,据称是“中国首档EDM(电子舞曲)音乐节目”。大张伟在节目里唱了一首《爱如潮水Remix》,编曲好玩欢快,很快就刷爆了网络。
8月4日,音乐人梁欢开始在微博刷版质疑大张伟,他认为《爱如潮水Remix》从1分40秒开始的副歌,编曲部分完全抄袭了德国歌手Zedd的大热单曲Candyman。
8月5日晚,大张伟晒出了一组翻白眼的自拍照回应抄袭。“确实在编时吸取了candyman的结构编法,这歌出时我就惊喜发现要是用来re爱如潮水简直太妙了!盖世英雄是remix的电视节目,不是我正式发行歌,多天赐良缘啊~怎么还有人不开心呢?”
就在事情过去一个月之后,王思聪突然对此事表态。
如今,花儿乐队解散后单飞的大张伟发展的还不错,经常出现在一些综艺节目中。大张伟也因“碎嘴”成了一位大众熟知的段子手。
范冰冰和张馨予
2018年,王思聪公开嘲讽范冰冰和张馨予:“某毯星某予某冰,根本不会演戏外,火起来主要靠绯闻和炒作。”
范冰冰公开回怼:“你找你的爸,我干我的活,咱们都算自强不息!”
结果,王思聪的回复让人哑口无言。
张馨予也曾予以回击,只是反被王思聪嘲笑了一通,王思聪还爆出张馨予原名叫张燕。
2018年10月,范冰冰因涉税问题,被处罚款8.84亿元,并刊登致歉信,之后便很少见到范冰冰的身影;而张馨予则成了一名军嫂。
自家万达酒店
2016年,王思聪在长沙录制节目后下榻万达酒店,结果半夜闹肚子去上厕所,却发现厕所没有纸,于是王思聪凌晨发微博怒斥自家酒店:“万达酒店是我住过的最SB的酒店,还tm的是自己家开的 ,绝了!”
有传闻称,之后王健林曾评价王思聪称:“王思聪是我见过最傻的富二代,离谱的还是自己生的。”
据悉,该酒店在2017年7月被王健林打包卖掉了。
街电
2017年,聚美优品以3亿元现金收购了街电60%的股权,并由创始人陈欧出任街电董事长。
王思聪在朋友圈中发文:"共享充电宝要是能成我吃翔,立帖为证。"
对此陈欧则在微博里晒图并回复,“谢谢思聪监督,不是每个项目都能做成,街电做不成可以做公益,但希望不要因为你的情绪不让这个项目入驻万达。”
陈欧虽然没有明显的撕破脸皮,但是回应的也表现出不太满意。陈欧还曾调侃道:“求直播平台赞助,另外有人赞助翔的吗?”
随着时间的推移,共享充电宝行业也是几家欢乐几家愁,一边是怪兽在美上市,一边是陈欧把街电卖给了搜电,另一边是用户纷纷吐槽充电宝们大肆涨价。
多轮涨价后,行业又引起了监管部门的注意,市监局出台限价令。2022年,怪兽充电亏损,小电科技也曾传出裁员消息。
三款社交产品
2019年,王思聪曾在朋友圈发文怒斥三款社交产品“是垃圾,没有机会”。
这次,似乎被王思聪言中。
主打匿名社交的马桶MT上线两天就在各大平台下架;主打聊天赚钱的聊天宝团队很快就地解散,裁员90%。
大众点评
2021年10月10日,王思聪在微博发文称:“这就是上万亿市值公司的安全系统吗?莫名其妙我自己的号就能被别人改绑手机?你们大众点评除了会恰烂钱做虚假分数还会点啥?”
大众点评在该条微博下评论称,相关账号已在王思聪反馈后的第一时间内予以保护性冻结。相关问题的核查已有初步信息并将与王思聪本人进行私信同步。
除了上述这些名人和企业,王思聪还曾说过吴某某是渣男、说过冯某某的电影太烂、说过陈某某的某电影是烂片、说过王某的票价太贵、嘲讽鹿某不会演戏、杨某整容、说过章某某脸皮厚、说过杨某某啥也不是,还说过很多综艺节目男人娘娘腔。
还有李小璐,黄子韬、马蓉、朱圣祎、金星、吴迪、杜海涛、陶晶莹、那英、郑爽......
根本数不过来。
王思聪资本版图盘点
天眼查App显示,王思聪关联企业共38家,其中存续状态的有29家,包括大连万达集团股份有限公司、上海熊猫互娱文化有限公司、上海香蕉计划文化发展有限公司、万达产业投资有限公司、北京普思投资有限公司等,涉及投资管理、科技、娱乐、影视、食品等行业。
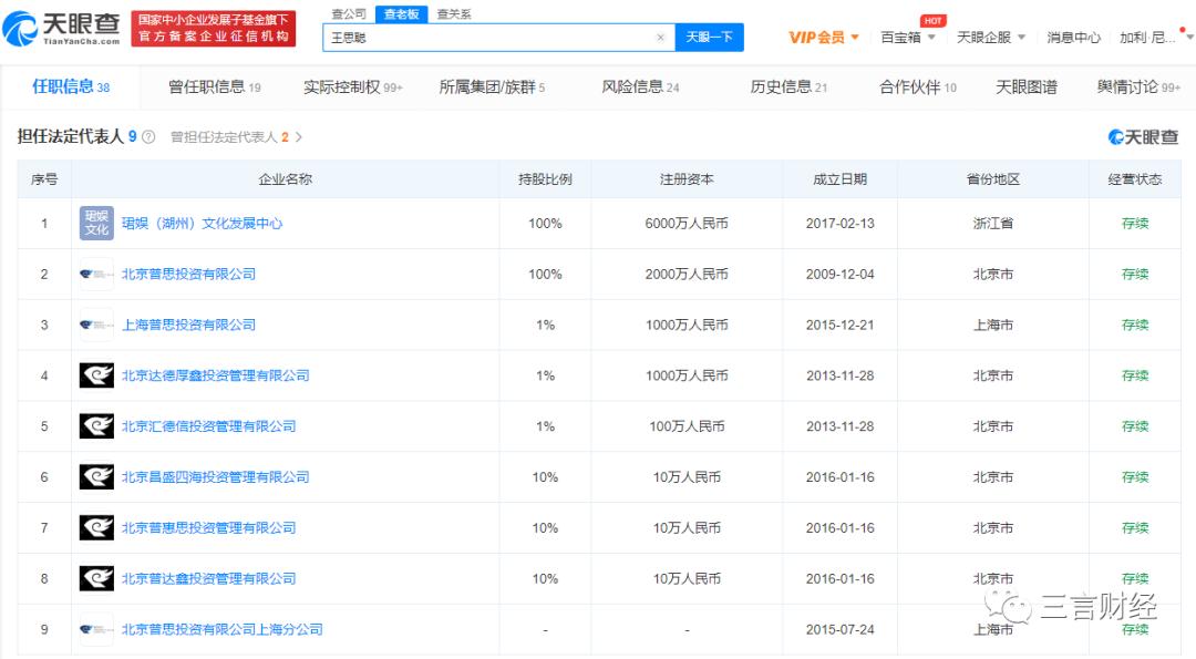
目前,王思聪共担任9家公司的法定代表人,在16家公司中担任董事长、董事、监事等管理职位,并在24家公司中持有股份,共拥有上百家公司的实际控制权。
王思聪的身份演变也值得玩味:富二代——投资公司老板——直播公司CEO——电竞老板——网红——社会现象评论者。经过此次禁言,他以后还会继续怼吗?
本文来自微信公众号 “三言财经”(ID:sycaijing),作者:三言财经,36氪经授权发布。















