这将是第一款全太阳能驱动笔记本吗?
尽管此前也有许多外界装置用来收集太阳能给笔记本供电,但是由
Andrea Ponti公司设计的这一款笔记本将是第一款纯太阳能供电的笔记本,也可能会成为史上最为绿色的笔记本。
尽管此前也有许多外界装置用来收集太阳能给笔记本供电,但是由
Andrea Ponti公司设计的这一款笔记本将是第一款纯太阳能供电的笔记本,也可能会成为史上最为绿色的笔记本。
该笔记本将配置两块太阳能面板:一块在显示器背后,另一块在触摸键盘下面,这两块面板将担负着给电脑持续供电的重任。目前尚不清楚他们的测试是否成功,不过在太阳下面使用电脑显然要比在室内使用电脑更加耗电。一种可能的解决方案是采用电子墨水显示(electronic ink display)来代替传统的背光显示。
据悉,该笔记本材料主要是聚碳酸酯,重约4磅,此前曾入选富士通2011设计比拼大赛。
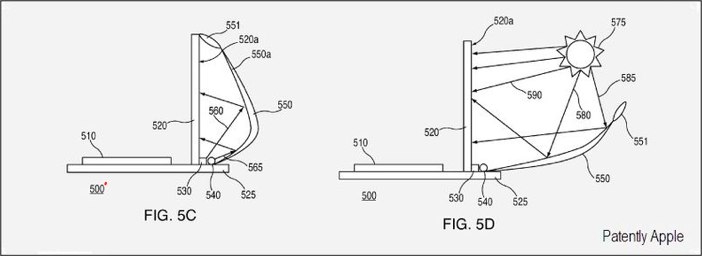
不过对于富士通是否将会实际生产这款笔记本,目前还没有确切的消息。但是显然他们不是唯一一家将阳关考虑到电脑设计中去的公司,去年苹果就
申请了一项“收集外部光源来照亮显示屏”的专利。
在苹果看来,可以通过不同角度的
折叠反光板来给显示屏增加亮度,此外还有传闻说他们也在考虑将太阳能电池融合进笔记本。
Via
TC















