03
19

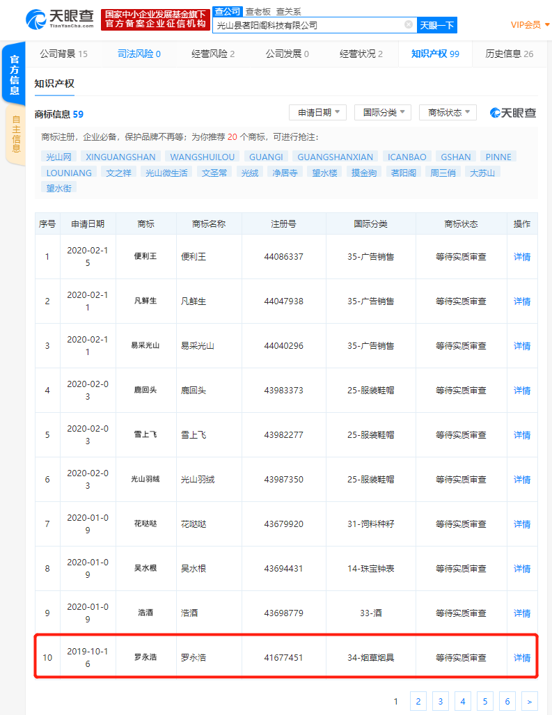
“罗永浩”被注册成烟草烟具类商标,目前状态为等待实质审查

2020-03-19 18:12分享至
36氪获悉,天眼查数据显示,2019年10月16日,“罗永浩”商标被光山县茗阳阁科技有限公司注册,目前状态为等待实质审查,商标分类为烟草烟具。此外,该公司还分别在2018年和2020年申请了“子弹短信”(聊天宝原名)的网站服务商标和“浩酒”的酒商标,目前状态也均为等待实质审查。原文链接
“罗永浩”被注册成烟草烟具类商标,目前状态为等待实质审查

下一篇

36氪获悉,京东数字科技集团近日宣布成立产业AI中心。产业AI中心集成了京东数科旗下AI实验室、数据智能实验室、智能风控实验室、智能城市研究院、区块链实验室、AI机器人实验室等多个科研机构,致力于将机器学习、深度学习、知识图谱、计算机视觉、语音与自然语言处理等AI技术实现产业级应用,服务于工业、农业、大宗商品流通、金融、零售、商旅出行、生活服务、广告营销、城市公共服务等行业。

2020-03-19

36氪APP让一部分人先看到未来
36氪
鲸准
氪空间

推送和解读前沿、有料的科技创投资讯

一级市场金融信息和系统服务提供商

聚焦全球优秀创业者,项目融资率接近97%,领跑行业