03
09

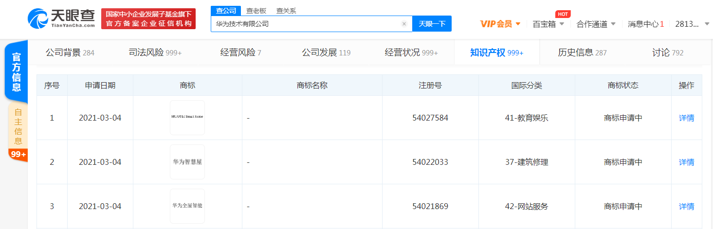
华为申请注册“华为智慧屋”“华为全屋智能”等商标

2021-03-09 12:46分享至
36氪获悉,天眼查App显示,近日,华为技术有限公司申请注册“华为智慧屋”“华为全屋智能”“HUAWEI Smart Home”相关商标,申请日为3月4日,国际分类为网站服务、教育娱乐、建筑修理,当前商标状态为“商标申请中”。原文链接
华为申请注册“华为智慧屋”“华为全屋智能”等商标

下一篇

国信证券发布研究报告,首予呷哺呷哺“买入”评级,估算合理价格在26.5-27港元,短期跟踪疫后复苏趋势,公司品牌升级焕新改善存量业务弹性;湊湊扩张发力打造第二成长曲线,餐饮业务整体迎经营拐点;产业链延伸有望进一步提升盈利空间。(智通财经)

2021-03-09

36氪APP让一部分人先看到未来
36氪
鲸准
氪空间

推送和解读前沿、有料的科技创投资讯

一级市场金融信息和系统服务提供商

聚焦全球优秀创业者,项目融资率接近97%,领跑行业