12
18

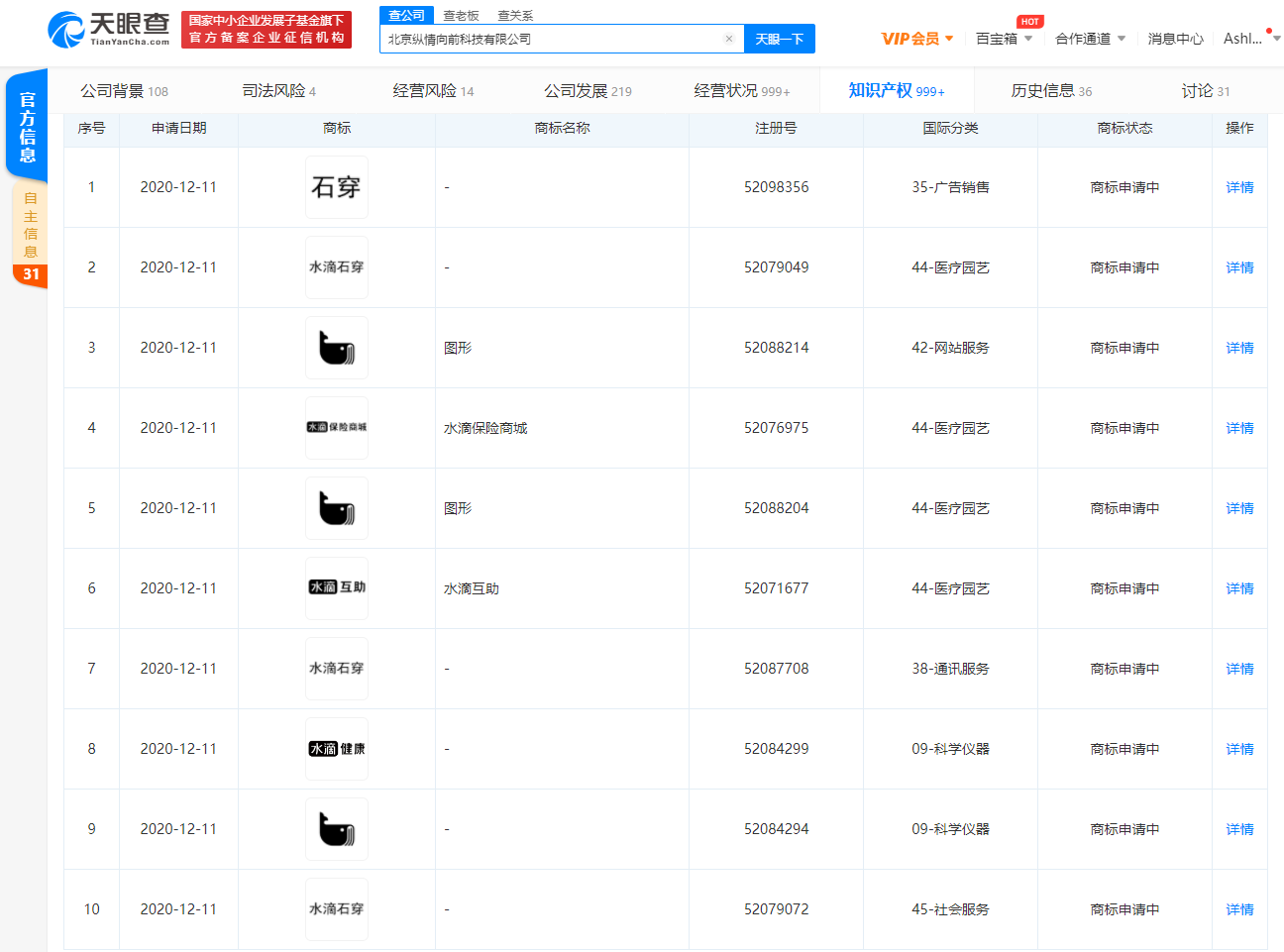
水滴筹关联公司申请注册“石穿”、“水滴石穿”商标

2020-12-18 11:25分享至
36氪获悉,天眼查App显示,近日,水滴筹关联公司北京纵情向前科技有限公司申请多个“石穿”、“水滴石穿”的商标。商标国际分类涉及广告销售、医疗园艺、通讯服务等。申请日期均在2020年12月11日,商标状态均显示为“商标申请中”。原文链接
水滴筹关联公司申请注册“石穿”、“水滴石穿”商标

下一篇

36氪获悉,天眼查App显示,近日,小霸王文化发展有限公司新增一条限制消费令,案号为(2020)粤2071执17803号,立案日期为2020年11月17日,发布日期为2020年12月15日。小霸王文化发展有限公司成立于2015年7月,注册资本1亿人民币,法定代表人为冯宝伦,经营范围包括文化活动策划等。另天眼查App司法风险显示,该公司此前已多次被限制消费,还曾于此前公开一则破产审查案件。

2020-12-18

36氪APP让一部分人先看到未来
36氪
鲸准
氪空间

推送和解读前沿、有料的科技创投资讯

一级市场金融信息和系统服务提供商

聚焦全球优秀创业者,项目融资率接近97%,领跑行业