苹果玩智能汽车,路子比特斯拉还野
编者按:本文来自微信公众号“车东西”(ID:chedongxi),编译:James,编辑:晓寒,36氪经授权发布。
苹果又来给汽车产业提供新思路了。
6月份以来,苹果在汽车领域又获得了20项新专利,涉及自动驾驶、智能座舱、智能车身三大方面。
在这次新曝光的专利中,苹果同样是脑洞大开。
其使用与谷歌Alpha Go类似的AI技术来教机器开车,用长波红外相机等视觉传感器来提升激光雷达的使用效率;
将汽车的挡风玻璃变成AR-HUD屏幕,自动给车外的建筑物编号方便导航,引入了自家FaceTime视频通话功能,甚至还给汽车做了一个溺水逃生系统...
作为全球市值最高的科技公司,以及在消费电子领域极具影响力的IT巨头,苹果每涉足一个领域,都会带来大量令人惊叹的创新,并将产品体验推至新高。
虽然已经放弃了自己造车的泰坦计划,转做自动驾驶。但苹果在最近几年里,还是一直在申请各类智能汽车相关的专利。透过这些文件,既可以看到苹果为业界带来的创新技术和各种奇思妙想,也能看出这个科技巨头的技术储备是多么强大。
▲苹果今年获得的汽车专利
今年6月份车东西就曾系统报道过苹果在上半年获得的几十项汽车专利(可参考《70项专利解密苹果汽车!脑洞太大,特斯拉都追不上》),本文则主要解读6月份之后获得的新专利。
01 用AI教机器开车,谷歌Alpha Go同款技术
在5个月左右的时间里,苹果一共获得了10项自动驾驶专利,其中涉及自动驾驶的传感器、通信、控制三大领域。
如今,自动驾驶发展多年,计算设备的算力正在大幅度提升,但如何控制自动驾驶汽车仍然是一大难题,难点在于自动驾驶汽车如何做出及时、合理的决策。并且,道路上的车辆越多,交通环境越复杂,决策就越难以实现。
在苹果的专利图中,苹果描绘自动驾驶车辆可以完成自动出入匝道、自动换道超车等驾驶动作。为完成这些动作,自动驾驶电脑需要完成两个动作:
1、预测即将发生的交通状况,对车辆的行驶轨迹作出多种规划;
2、从多种规划中选择出一个正确的驾驶动作。
这一决策过程与下棋的决策过程非常类似,因此苹果采用了与谷歌Alpha Go类似的机器学习方法,即蒙特卡洛树搜索,这一机器学习方法已经广泛应用于棋盘类游戏和开放式游戏。
当车辆进入自动驾驶状态后,可以根据交通状况规划出在一定时间范围内的车辆动作,包括加速、减速、改变车道等,这些动作可以通过蒙特卡洛搜索树生成。
▲蒙特卡洛树搜索的四个步骤
蒙特卡洛树搜索的一个循环包括四个步骤,分别是选择、扩展、仿真和反向传播。从根节点R开始,逐渐向下推演子节点,每一个子节点都是车辆的状态,连接子节点与父节点的边代表车辆的动作。
例如,车辆可以选择从根节点R到子节点L的决策,如果成功,那么可以从L继续向下扩展至E。E节点之后,还将采用随机选择的方法继续向下决策,进入仿真的过程。在这一自动驾驶过程结束之后,系统会从最下方的子节点反向推演至R,让机器不断学习,变得更加强大。
▲专利中对蒙特卡洛树搜索的图解
实际应用中,苹果的决策过程显得更加复杂。通过向不同的蒙特卡洛树搜索模型提供记录下的车辆动作、来自模拟的动作以及收益,在强化学习策略神经网络、监督式学习价值神经网络的蒙特卡洛树搜索分别可以提升广度和深度。
实际上,控制自动驾驶车辆的方法也不只是机器学习,还有随机技术、确定性技术,最终输入至决策过程的是三者混合的计算结果。
总结来看,自动驾驶汽车在进行运动决策的过程中,遇到的可能是随机、动态的环境,无限的空间,潜在巨大的视野以及实时的限制,这些因素导致自动驾驶车辆不能在公路上随意行驶,而是依靠自动驾驶电脑的计算。
02 传感器一起上,激光雷达看得更清楚
自动驾驶车辆同样离不开各式传感器设备,对于高等级自动驾驶来说,激光雷达更是必不可少。苹果最初在2018年就获得了几项有关激光雷达的专利,早期专利显示,苹果将使用激光雷达测距,并将这些数据用于自动驾驶。
从今年6月以来,不到半年时间内苹果再次获得了3项激光雷达相关的专利,更进一步阐述了激光雷达应该如何用这个问题。
在一项名为“用遥感检测物体及测距”的专利中,苹果就利用传感器辅助激光雷达实现更准确的测距和识别。
车辆在自动驾驶的过程中,并非所有路面交通状况都需要车辆的关注,一些重要的交通状况还需要更重点的关注。如今,视觉传感器遍布车身,几乎没有盲区,这些传感器可以实时探测车辆周围的交通状况。
▲红外相机辅助激光雷达测距
此时,视觉传感器能够确定一个重点关注区域,激光雷达加入测距,能让距离判断更加准确。
在另一项名为“解决视场中隐藏物体的系统和方法”的专利中,苹果利用长波长红外传感器(LWIR)辅助激光雷达,可以在极暗光环境下探测可能在道路上出现的动物和行人。
借助长波长红外线,可以在一定的区域内以较高分辨率检测物体的热能,检测其他传感器可能探测不到的物体。
两份专利信息都显示,激光雷达可以和其他传感器结合使用。例如,激光雷达与红外相机共同测距,能够提升距离测量的精准度。长波长红外传感器可以和单色传感器、RGB传感器、激光雷达等多种传感器结合使用,增强目标检测效果。
同时,专利文件还展示了其他传感器组件,包括摄像头、生物探测处理器、激光雷达、垂直腔面射型激光脉冲控制器等,这些传感器都能够在自动驾驶过程中参与物体检测。
有趣的是,第一款搭载激光雷达的苹果设备并不是汽车,而是今年的iPad Pro和iPhone 12 Pro系列,搭载于移动设备的激光雷达模组可以扫描一个房间的3D信息,同时也能提升弱光条件下的对焦速度。
▲iPhone激光雷达所“看”到的画面
在这里可以合理畅想一下,苹果当前在激光雷达这一硬件上的布局,可能也会应用于自动驾驶。
03 挡风玻璃成超大屏幕,还能随意FaceTime
除了大量的自动驾驶专利之外,苹果在车内科技方面也丝毫没有松懈,把移动设备中的优秀解决方案装进汽车。
一直以来,AR增强现实都是苹果重点发展的技术之一,现在浏览苹果官网,其主要产品都能通过AR查看,在购买之前对设备的尺寸以及颜色有更准确的认识。
▲用AR查看iPhone
同时,大量AR应用在苹果App Store提供,甚至还有愤怒的小鸟、我的世界AR版。
在汽车行业,今年以来对AR的讨论也不少,主要集中于AR-HUD。
今年9月,奔驰发布的第11代S级轿车中就搭载了AR-HUD。其显示面积相当于77英寸的显示器,根据奔驰的介绍,这一AR-HUD采用了影院放映所使用的数字微镜器件的成像单元,由130万个微镜片和一个高效光源的高分辨率成像矩阵构成。
▲奔驰S级AR HUD显示效果
在驾驶时,能将动画箭头、车距等虚拟的信息叠加在10米以内的真实世界上,从而实现AR效果。
布局多年的苹果自然也希望AR技术走进汽车,主要应用仍然是AR-HUD。据统计,苹果至今一共获得了四项有关AR-HUD的专利。
在苹果获得的一项名为“增强现实技术显示系统”的专利中,就详细描述了苹果希望AR-HUD能够实现的功能。
1、提供导航信息,还能翻译路牌
HUD的初衷就是让驾驶员更加专注地开车,尽可能不让视线离开道路。AR-HUD就是在HUD的基础上来一个大的提升,让原本小面积、固定内容的HUD扩展到更大面积,同时基于外界环境提供增强现实的体验。
基于这一目标,最容易想到的是将导航信息从车机或仪表搬上挡风玻璃。通过特定的标识,驾驶员可以得到更优质的导航服务,同时更多的驾驶员可以让导航“彻底闭嘴”。
▲AR-HUD可翻译路牌
AR-HUD仅提供导航服务还是比较单一,于是苹果加入了翻译路牌的功能。如果到海外地区驾驶,由于各国路牌不统一,加上语言不通,可能导致比较严重的安全隐患。如果车辆能够实时识别路牌,并将路牌的含义、文字信息都转化为浅显易懂的内容,也会方便更多的驾驶员。
2、挡风玻璃上来个FaceTime通话,副驾还能看视频
FaceTime通话被乔布斯定义为苹果再一次定义了iPhone,那么在车里,自然也少不了FaceTime通话。
有了AR-HUD,驾驶员可以直接在挡风玻璃上通话,显示画面的大小可以和真人一样,让视频通话更有临场感。
不过,在驾驶过程中,FaceTime电话并不会挡住驾驶员视线,副驾可以看到完整的画面,主驾只能音频通话。当车辆速度下降或者停止时,驾驶员一侧才会显示FaceTime画面。
▲通过挡风玻璃可以实现FaceTime视频电话
实际上,在FaceTime引入车内以后,挡风玻璃就是一块大屏。在出行过程中,副驾可以通过挡风玻璃观看视频,甚至来一场游戏。
AR-HUD的应用实际上也不仅如此,苹果在另一项名为“在混合现实界面中识别物体的系统和方法”的专利中讲述了AR-HUD的另一个用处。
在纷繁复杂的城市中,当我们走到高楼林立的街区时,说不出高楼的名字,不知如何描述已经成为人们出行的一大难题。
苹果在AR-HUD中对路面高楼或临街店铺进行标记,车机上选择编号,车辆就会自动驾驶至特定位置,方便车内乘员抵达某一特定位置。
04 四个车窗都是智能玻璃,还有溺水逃生系统
在软件和服务之外,苹果在硬件上也下足了功夫。在车身结构上,苹果也希望“全副武装”,让硬件工业达到新高度。
据统计,苹果在半年时间内共获得了10项有关车身的专利。可能是苹果对隐私保护十分重视,申请了不少“变色车窗”相关专利,今年以来一共获得了7项。同时,车身安全的保障一直也受到苹果的重视,即便车辆落水,也能做出正确的操作方便车内人员撤离。
1、智能车窗可虚可实 5层组件保护隐私
苹果希望将车窗设计成多层,每一层利用不同的结构实现对车窗整体色彩氛围、透明度的调节,这样一来,既可以保证车内乘员不受有害光线的伤害,又能在不贴膜的前提下保护隐私。
在一项名为“窗户与系统”的专利中,苹果希望利用电动可调节的车窗控制光线的吸收,从而达到控制车内光线的效果。这一技术既可以用于侧面车窗,也能应用于挡风玻璃、天窗、后窗,全车车窗的透光率都可调整。
根据专利文件的描述,车窗玻璃实际上和液晶显示组件非常类似,在调节颜色的同时,也能用于显示图像,例如显示导航信息、提供车内照明等实用功能都能在车窗玻璃上实现。
在另一项名为“带有可加热的红外透明区域的车窗”的专利中,苹果在车窗内加入了可阻挡红外光的滤光层。这样一来,可以避免在阳光曝晒时,在车内积聚太多的热量。另外,车辆后窗会加入欧姆丝,通电后生热就能为车窗除霜。
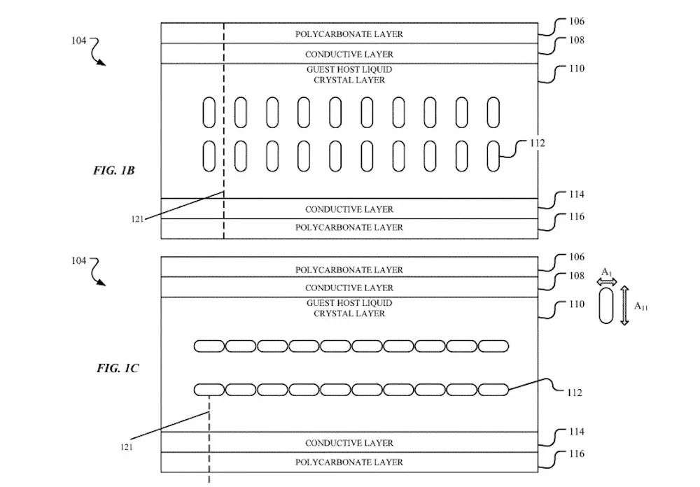
在苹果最新获得的专利中,“动态隐私保护与车窗着色的系统和方法”中对车窗的分层进行了更加详细的描述。
从专利图中可以发现,车窗分别由聚碳酸酯层、导电层、Guest-Host液晶层组成,其中聚碳酸酯层与导电层将Guest-Host液晶层包裹在内部。
▲车窗组件共有5层显示组件
通过这一组件,车窗就能动态调整车窗着色。如果遇到强光射入,车窗会调整刺眼的光线,如果外界能见度较低,车窗能够更加清晰透亮。另外车内乘员也能手动调整车窗着色,保护车内隐私。车辆甚至可以调用激光雷达装置,如果车外有人看向车内,车辆会调整车窗透光,防止车内隐私泄漏。
同时,为避免摄像头、激光雷达、夜视仪等组件的不可见光被车窗夹层吸收,苹果在车窗上为这些硬件预留了一定的区域,保证不可见光顺利透过车窗看向远方。
2、溺水后方便逃生,安全带、车窗、车门都是关键
苹果还获得了一项名为“动态元素保护措施”的专利,车辆在溺水后,可以根据溺水情况作出正确反应,帮助车内乘员尽快逃生。
▲车辆溺水十分危险
当车辆部分淹没在水中时,车内的一个或多个计算机系统开始介入,并操作关闭车窗、锁闭车门、解锁安全措施、开启漂浮设备、发出求救信号以及调整座椅位置方便车内乘员逃生。与此同时,在车内向乘员发出提醒,准备逃生。
车辆会实时进行生命探测,使用高分辨率超宽带雷达设备就能够检测车内可能存在的生命体征,包括对呼吸和心跳的检测,甚至遗留在车内的宠物也能被及时发现。
在确定车内乘员全部逃脱后,车辆会进入自我保护状态,锁闭门窗,避免更大损失。
除车窗和安全专利之外,苹果还获得了智能悬架专利,让车辆行驶更加平稳。同时还能够将通风管道隐藏在车体骨架中,让车内空间更加充裕。从这些细节可以看出,苹果在造车这件事上,非常用心。
05 结语:“苹果智能汽车”值得行业借鉴
苹果所获得的汽车专利目前已经达到百项以上,近半年来所获得的专利显示苹果对自动驾驶的重视程度正在迅速提升,也让苹果的自动驾驶路线逐渐清晰。
如今,在智能汽车行业中,特斯拉等造车新势力无论在车辆智能化、自动驾驶还是三电系统在汽车行业都是一道靓丽的风景线,苹果这样的巨头在汽车行业内动作不断,也给正在造车的新势力们一些优秀的借鉴,如何像苹果一样造车?苹果所定义的汽车是不是仍能受到市场欢迎?















