腾讯红杉重注的共享充电宝,要卖了
11月28日,武商集团发布公告,拟通过全资子公司江豚数科收购小电科技70-100%股权,最终比例由交易各方协商确定。本次交易不构成重大资产重组,也不构成关联交易。
武商集团成立于1991年,前身是创建于1959年的中苏友好商场(后更名武汉商场),1992年在深交所中小板上市,是中国商业第一股,也是“湖北第一股”,主营业务为购物中心及超市业态的商品销售。
2020-2024年,武商集团营收分别约76.39亿、71.27亿、63.37亿、71.78亿、67.04亿元;归母净利润分别约5.47亿、7.52亿、3.02亿、2.09亿、2.16亿元。今年前三季度,该公司营收45.23亿元,归母净利润1.28亿元,净利润率2.83%。截至今年9月底,其总资产310.5亿元,净资产109.6亿元,资产负债率65%。截至今日收盘,武商集团跌3.15%报9.85元/股,总市值75.75亿元。
来源:百度股市通
武商集团称,本次交易旨在通过整合小电科技庞大的线下流量网络与数字化能力, 推动公司从传统零售向商业科技公司的战略转型, 核心投资目的是获取关键数字资产以破解流量转化与智能化管理痛点, 重构 “人-货-场” 生态以延伸消费场景并实现数据驱动运营, 同时强化本地市场统治力。
据悉,本次并购交易分为两步:第一步,武商集团方面受让标的小电科技70%股份,剩余30%由唐永波和员工持股平台等持有;第二步,盈利承诺期届满后,武商集团方面按照届时协商确定条件收购剩余30%股份。第二步完成后,武商集团方面持有小电科技100%股份。
本次收购完成后,小电科技将纳入武商集团合并范围,最终构建覆盖全渠道的智慧商业基础设施,奠定公司的长期核心竞争力。
杭州小电科技股份有限公司成立于216年12月,基于商业物联网技术能力,以共享充电、 共享储物柜、智能出行、智慧能源等服务,打通人-货-场的数字化闭环,构成了一个遍布全国的高频触达线下流量感知网络, 形成线上线下一体化的运营闭环;利用多年IOT技术沉淀,数字化技术,AI 功能创新,大力发展智能制造,实现业务线各智能产品100%自主研发、生产及销售。
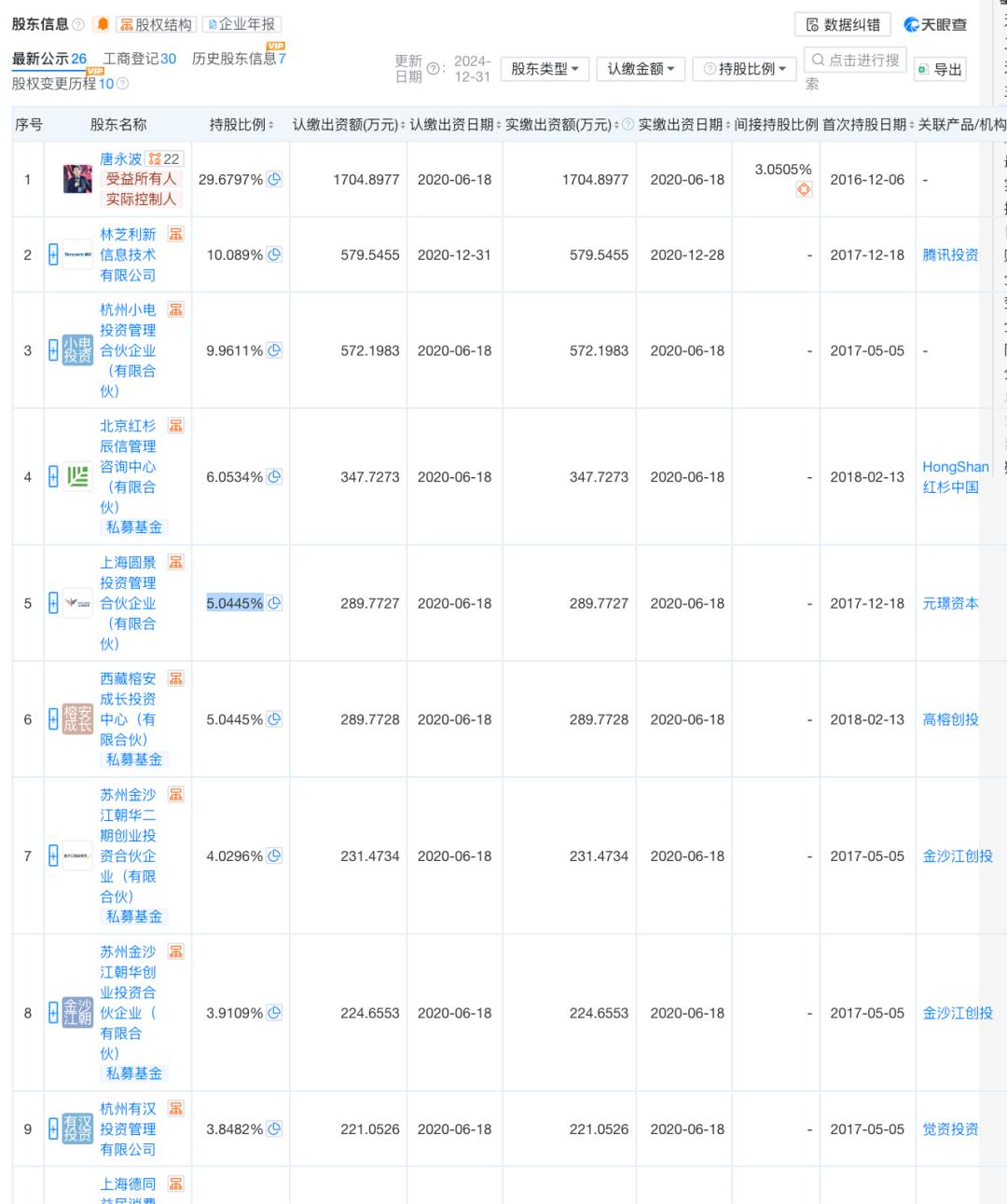
成立至今,小电科技吸引腾讯、红杉、金沙江创投等持续投资。天眼查App信息显示,小电科技创始人唐永波持股29.6797%;腾讯投资持股10.0890%,系最大外部股东;金沙江创投合计持股7.9405%;红杉中国持股6.0534%;元璟资本合计持股6.2979%;高榕创投持股5.0445%。
来源:天眼查
此前,小电科技曾在2020年,接受上市辅导,拟在创业板上市。随后于2021年4月递表港交所,无果。
港股招股书显示,2018-2020年,小店科技的总收入分别约4.23亿、16.36亿、19.11亿元,2018年至2020年期间,复合年增长率为112.5%,而同期行业水平为63.3%;净利润分别为-3608.3万、1.37亿、-1.04亿。
武商集团发布的公告中公开小电科技未经审计财务:2024年营收4.5616亿元,净利8158万元,净利润率17.88%;今年上半年营收1.8547亿元,净利5843万元,净利润率31.50%。
来源:武商集团公告
截至今年6月底,小电科技总资产9.0853亿元、净资产2.1919亿元。
根据现有未经审计财务数据和持续稳定经营假设,标的整体权益估值预计在16亿元上下,由于本次交易的标的审计、评估尚未进行,最后正式估值和定价尚待揭晓。
本文来自微信公众号“直通IPO”,作者:王非,36氪经授权发布。















