为了充上电,美国人玩起了“车体蜈蚣”
美国人为了抢充电桩,都闹出人命啦!
最近,美国科罗拉多州的两位特斯拉车主为争夺充电顺序,在超充站前大打出手,双方还都掏出了手枪,其中一人被对方击倒,最后因抢救无效死亡。
看来充电问题,既分高下,也决生死。
而在国内,五一期间四川雅安和浙江台州的个别服务站等待时长都高达 2.7 小时,所谓 “ 充电 1 小时,排队 3 小时 ” 还真没有夸张。
更别说最近几天天气炎热,要是再遇上占桩、插队什么的,难免会有点摩擦。
各大车企也该想想办法解决充电这个老大难问题了。
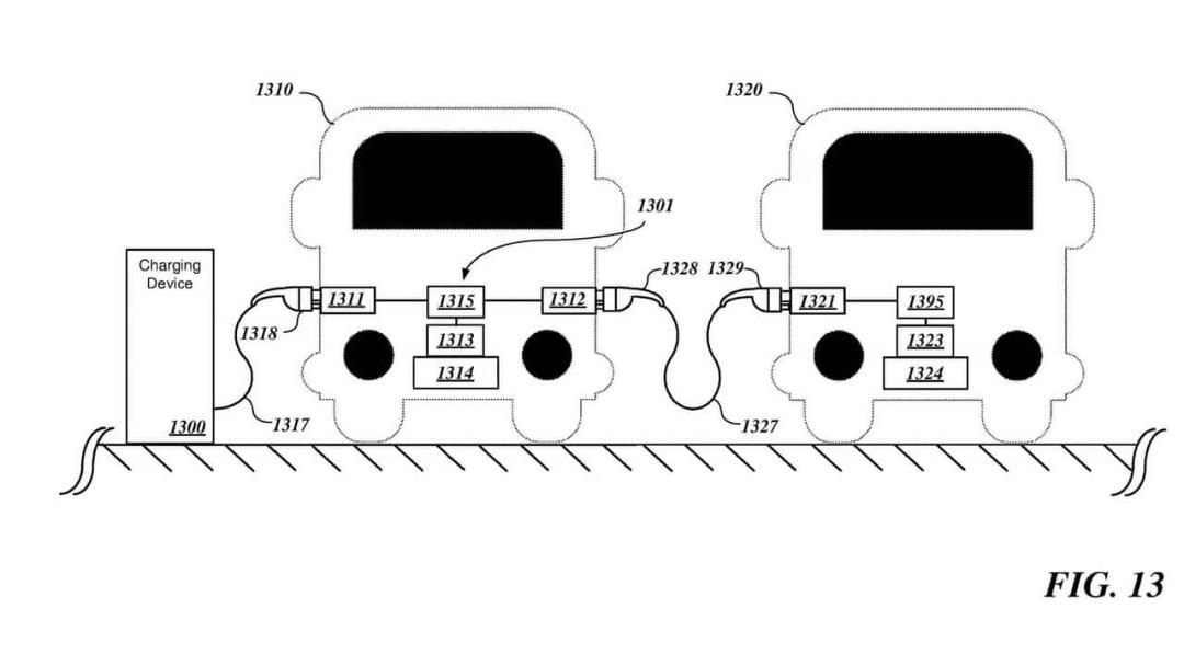
这不,根据美国专利商标局 ( USPTO ) 近期公布的消息,海外新势力 Rivian 在 2021 年底申请了一项关于电车充电相关的专利,有望应用在即将推出的纯电皮卡 R1T 和纯电SUV R1S 上。
这项技术被称为 “ 车对车的直通充电系统 ” ,用于解决充电桩难找的问题。
这大概是个什么东西呢?其实就是一个 “ 车体蜈蚣 ” ,前一辆车吃了充电桩的电,再喂给后一辆。像这样,一个充电桩就可以接好几辆车。
咱们看下面这张图就明白了。
把车连在一起……等等,这不就是电车版的铁锁连环吗?曹老板看了都说妙。
虽然官方尚未透露 Rivian 最多能支持多少辆车相连,但就按一个桩充两辆车来算,也能让目前的充电桩容纳能力翻番了。
果真有这么厉害?
咱先别高兴太早,单个充电桩的功率可是有上限的啊。原先一辆车都要充好久,现在分两辆充,那就更慢了,对于着急赶路的司机来说,这玩意儿压根就没用。
而且,怎么去找其他的 Rivian 一起充啊?难道要在 Rivian 软件的世界频道上喊 CPDD ?万一对方充一半就提枪跑路,我又要找谁去收电费?我可不想吃一碗粉,付两碗钱。
而 “ 铁索连环 ” 这套玩法,其实也可以不需要充电桩,所以除了 Rivian ,大多数车企走的是另一条路。
比如 Rivian 的死对头特斯拉,说要在 Cybertruck 上实现 “ 双向充电 ” ,也就是国内常说的放电功能,能够支持两辆电车之间互相充电。
那以后咱要是在高速上没电了,就可以紧急联系一位特友过来江湖救急,果然玩车不是踩踩刹刹,还得讲个人情世故呐。
但先不说用车充车的速度会有多快,在高速上能摇到个朋友,概率也基本为 0 。
所以这个技术啊,国内更多是拿来露营煮个火锅什么的……
当然,想在充电问题上整花活,这些都还不算什么。
以色列公司 Electreon Wireless 更是大手笔,最近它和欧洲收费公路运营商 VINCI 达成合作,计划在巴黎西南部的 A10 高速公路上建设一段约 2 公里的无线充电道路,实现来往车辆边充边跑。
而且这还只是开始,这家公司的梦想,是让无线充电铺满整个法国,让电车彻底抛弃充电桩。
难道无线充电的时代真的要来临了吗?
恐怕还早的很。要知道,无线充电技术最大的问题是成本高,每公里的造价最低也要 100 万美元。
而像瑞典正在修建的世界首条无线充电高速公路,全长只有 1.6 公里,造价却高达 1250 万美元,更何况后续维护成本也不低,这么一算下来简直就是天文数字。
当然这笔钱嘛,最后还是得转嫁给普通消费者。这个技术要是没有政府兜底,一般老百姓还真不敢用呐。
而在国内,像是杭州亚运会采用的则是一种性价比更高的无线充电模式,也就是无线充电站,只需要一小块设备,就能满足车辆即停即充,比前面的方案要靠谱多了。
但就算抛开经济性不谈,无线充电的效率问题,稳定性问题,都还有待优化,远没能达到大规模应用的程度。
那这么说来,相比上述这些充电姿势,比亚迪腾势的 “ 双枪快充 ” 技术可能还更实用一点,毕竟两张嘴吃电,怎么也吃得更快一些。
只不过有点费桩位
更不必说,论快还有蔚来的换电站,只要 5 分钟,就能把掏空的身子补回来。
哦?蔚来又赢麻了。
撰文:TC 编辑:脖子右拧 封面:焕妍
图片资料来源:
Rivian对电动汽车充电的愿景:车对车的直通系统
特斯拉和Rivian两家公司对车-车充电有不同的理解
本文来自微信公众号“差评”(ID:chaping321),作者:脖子哥,36氪经授权发布。















