“小布丁”到底有几种?
雪糕市场“鱼龙混杂”,“小布丁”知识产权谜题待解。
上周六(7月16日),一则“小布丁”“大布丁”雪糕抽检不合格的消息登上了微博热搜。
原来是国家市场监督管理总局发布了2022年上半年各级市场监管部门对雪糕产品的抽检结果。
▲ 市场监管总局7月16日发布的冷冻饮品(雪糕)监督抽检不合格产品信息(部分,来源:市场监管总局)
鉴于前些日子“雪糕刺客”给大家留下的“心里创伤”,网友们纷纷在评论中对价格相对亲民的小布丁“网开一面”,选择“当然是原谅它了”。
不过,此处的“小布丁”,恐怕不是大家熟知的那个“小布丁”。
如果仔细查看上面的不合格产品信息表格,就会发现,市场监管总局此次公布的冷冻饮品(雪糕)监督抽检不合格产品信息中显示,“小布丁奶油味雪糕”标识生产企业名称为“东莞市新凯冷冻食品有限公司”,而“大布丁雪糕”标识生产企业名称为“义乌市乐久冷冻食品有限公司”,一家是广东的,一家是浙江的。
而大家比较熟悉的“小布丁”“大布丁”是由伊利生产的。
为此,“躺枪”的伊利发布了一条微博进行澄清:
▲ 伊利冰淇淋官方微博“伊小利冰淇淋”发布微博澄清(来源:微博@伊小利冰淇淋)
▲ 伊利小布丁、大布丁雪糕(来源:微博@伊小利冰淇淋)
生产不合格“小布丁”的公司,曾被判外观设计侵权
不过,小编在知产宝商标检索数据库中查询到,此次被抽检出不合格“小布丁”的新凯公司,共有30条商标注册申请记录。
▲ 新凯公司部分商标注册申请记录(来源:知产宝商标检索数据库)
其中不乏很多有意思的商标,比如这个,“奶兔糖”:
▲ 新凯公司“奶兔糖”商标注册申请信息(来源:知产宝商标检索数据库)
还有“冰城玫瑰”:
▲ 新凯公司“冰城玫瑰”商标注册申请信息(来源:知产宝商标检索数据库)
不知道某某兔奶糖和某某冰城怎么看?
哦,被驳回了啊,那没事了。
但是,这家生产“小布丁”的公司却还真没有申请注册过“小布丁”商标。
而另一家“大布丁雪糕”的生产企业乐久公司,名下仅有“海乐”一件商标,也没有申请注册过“大布丁”商标。
不仅如此,两家企业还曾陷入知识产权纠纷案件当中。
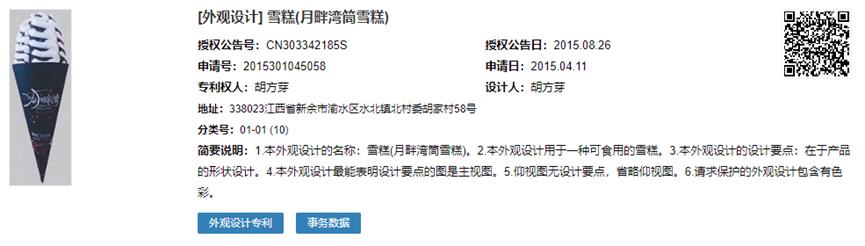
根据知产宝裁判文书数据库信息,新凯公司曾在2019年陷入一桩外观设计专利侵权纠纷案。原告江西天凯乐食品有限公司起诉称,新凯公司生产的“凯琴湾”四种口味雪糕侵害了原告的ZL.201530104505.8号外观设计专利和版权。
▲ 201530104505.8号外观设计专利“雪糕(月畔湾筒雪糕)”信息(来源:中国专利公布公告)
但新凯公司坚称自己使用星状图案具有历史渊源,并且星状图案为冰淇淋类产品的公知设计元素,涉案产品外观与原告的外观设计专利存在根本区别,没有侵犯原告的专利权。
▲ 凯琴湾冰淇淋(图片不代表与该案或者新凯公司有关。来源:大众点评用户“终筱呆”)
起初,南昌市中级人民法院一审认为不构成侵权,驳回了原告请求。但是经过原告上诉、二审法院发回一审法院重审后,南昌中院终于认定涉案“凯琴湾香草口味雪糕”落入了天凯乐公司外观设计专利权的保护范围,新凯公司也被判停止生产、销售侵权产品,并赔偿原告5万元。
看来这家生产不合格“小布丁”的厂家,也不是第一次碰上知识产权问题了。这对其他企业也是一种警示:知识产权问题不容小觑,一不小心就有可能“踩雷”。
“小布丁”竟有近10种?
其实对于此次涉及“小布丁”“大布丁”的热搜事件,网友们最好奇的还是“小布丁”“大布丁”的商标等知识产权归属的问题——
生产不合格“小布丁”“大布丁”的厂家,是否牵涉商标侵权的问题?
到底有多少厂商在生产“小布丁”“大布丁”?
其实,市面上的“小布丁”雪糕绝不止伊利和新凯公司两家企业。伊利的老对手蒙牛,也有类似的产品:
▲ 蒙牛优牧品牌旗下的“布丁雪糕”和“大布丁雪糕”产品(来源:蒙牛官网)
据红星新闻报道,目前市面上可查生产大、小布丁的企业厂商已近10家。这还不算只在某些区域销售的其他品牌小布丁并未在线上销售的情况。
据红星新闻报道,蒙牛也在生产大小布丁类似产品。此外据不完全统计,在电商平台上,与大、小布丁相似的产品还有四川龙望食品有限公司的提子布丁、天津艾美琳食品有限公司的蒙得利小布丁、美丰雪糕公司的美丰小布丁、浙江五丰冷食有限公司的五丰牌大布丁以及未查询到厂家信息的袁龙牌小布丁。
品牌众多,真假难辨,质量良莠不齐,这妥妥是另一个“雪莲”冰块啊。
那么,这么多“小布丁”,如何区分?作为最早生产小布丁雪糕的伊利,难道没有采取知识产权保护措施?“小布丁”为什么没有被新凯公司或者伊利公司申请注册为商标?
伊利:并非不想,实非不能。
“小布丁”知识产权属于谁?
根据知产宝商标检索数据库信息,目前在第30类(包含冰淇淋、冰糕等)商品上注册“小布丁”商标的便有五家,但状态均为无效。最早申请“小布丁”商标的是自然人林正元,于2004年9月在第30类(冰淇淋、冰糕等)商品上提交了“小布丁”商标注册申请,但被驳回。“大布丁”商标则暂时无人注册。
▲ 第30类商品上的“小布丁”商标注册申请记录(来源:知产宝商标检索数据库)
细心的网友可能注意到了,上文中提到伊利冰淇淋官方微博回应时提到,“小布丁”并非品牌名。没错,伊利也在2013年11月在第30类商品上申请了“小布丁”商标注册,但亦未成功——2014年商标局驳回了该申请。
商标局网站上并未提供相关的驳回理由。小编猜测,第30类商品上的“小布丁”商标被驳回,可能与“布丁”这个名字有关——毕竟这是一类食品的通用名称:
▲ “布丁”释义(来源:百度百科)
这也意味着,目前“小布丁”“大布丁”尚未被任何一方取得第30类商品上的注册商标专用权,无论是伊利还是蒙牛,抑或是其他任何一家企业,都不能阻止其他人在冰糕等相关商品上使用“小布丁”“大布丁”。
不过,伊利也不能放任他人随便抄袭“小布丁”。商标注册不下来,外观设计专利什么的还是值得一试的。
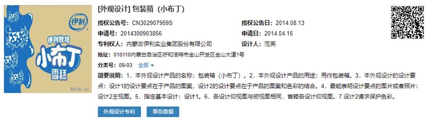
中国专利公布公告信息显示,共有51件涉及“小布丁”的外观设计专利获得授权。其中就包括伊利2012年10月申请的“小布丁”包装袋外观设计专利,并于2013年3月获得授权公告:
▲ 伊利名下的“包装袋(小布丁)”外观设计专利(来源:中国专利公布公告)
除了单支雪糕的包装袋,伊利还分别在2014年、2017年、2021年申请了包装箱(盒)的外观设计专利,并获授权。
▲ 伊利名下的其他“小布丁”相关外观设计专利(来源:中国专利公布公告)
但是,为“小布丁”申请外观设计专利,伊利可不是最早的。
专利公布公告信息显示,早在2002年5月,就已有自然人林恩刚申请了“包装袋(小布丁雪糕)”外观设计专利,同年12月获得授权公告。
▲ 林恩刚名下的“包装袋(小布丁雪糕)”外观设计专利(来源:中国专利公布公告)
不过这件外观设计专利已经因未缴年费而使得专利权终止。
同样因未缴年费而专利权终止的,还有这些“小布丁”外观设计专利,它们的申请日均早于伊利的“小布丁”外观设计专利:
▲ 未缴年费专利权终止的“小布丁”相关外观设计专利(来源:中国专利公布公告)
所以,伊利目前拥有的申请号为201230519376.5号的外观设计专利权,仍然是涉及“小布丁”的有效外观设计专利中申请最早的。
此后申请的“小布丁”相关外观设计专利,都可能会被伊利提出无效宣告申请。比如这件刚刚于今年年初授权的外观设计专利,基本只是把伊利“小布丁”包装上的logo和字体等细节修改了下,卡通人物换成了唐老鸭,相似度非常高了:
▲ 一件与伊利相似的“小布丁”相关外观设计专利(来源:中国专利公布公告)
说回商标,“小布丁”的名气,令不少人愿意在第30类商品上提交商标注册申请,但至今尚无一人成功。
不过小编发现,在其他的商品或服务类别上,却是有不少成功获准注册的“小布丁”商标,足见“小布丁”良好的“群众基础”。
▲ 在雪糕以外商品类别上成功注册的“小布丁”商标注册申请记录(来源:知产宝商标检索数据库)
这也算墙内开花墙外香了吧。
(本文仅代表作者观点,不代表知产力立场)
图片来源 | 网络
本文来自微信公众号 “知产力”(ID:zhichanli),作者:布鲁斯,36氪经授权发布。















