苹果新专利曝光,我们离传闻已久的智能眼镜又近了一步?
尽管库克自2015年开始就一直在不同场合强调对AR/VR的兴趣,但苹果公司对相关硬件的研发却一直讳莫如深。去年,库克在接受英国独立报采访时称AR是一项类似智能手机的革命性技术,但同时表示制造高质量智能眼镜的技术目前还不存在。
言下之意,苹果不会在佩戴体验升级之前推出任何扩展现实的产品。
虽然苹果暂时还没有可以公开展示给我们看的东西,但这不意味着公司内部没有动作。8日,美国专利商标局公开了一则由苹果公司递交的专利申请,文件暗示苹果有意在未来的某个时候推出一款头戴式显示器或者智能眼镜。
据Slashgear了解,这份被称为"头戴式显示器光学系统"的文件于17年2月中旬提交,本周被PatentlyApple 发现。专利描述了一种多镜头装置,比现有头显设备的设计更加轻便舒适,体积也更小。
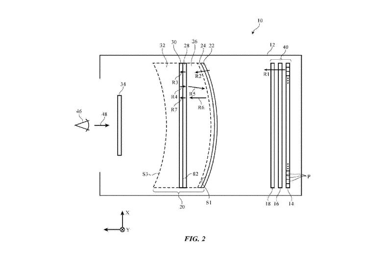
图片来源:PatentlyApple
文件称该头戴显示器系统优先用于查看包括电影和游戏等在内的VR内容,不过它也提供了有关AR 头显的设计建议。
苹果公司建议未来的头显设备使用反射折射式光学系统 ( Catadioptric Optical System )来扩展图像。通过使用更加紧凑的镜片组对光线进行反射折叠,设备可以避免使用标准VR头显中又长又笨重的放大镜头。
该系统在望远镜和一些相机镜头中的应用已经相当普遍。
反射折射式光学系统对头戴式显示器来说有很多潜在的好处。 因为所有的AR/VR头显制造商都需要解决一个问题,如何在通过微显示器向佩戴者提供足够大的图像的同时,还能不让整个组件变得笨重。
为了做到这一点,比较常见的策略是将一些相对较小的显示器与多个能放大图像的镜头进行组合,以此来适应佩戴者的视觉。而苹果使用紧凑光学镜片的想法能从理论上减轻产品重量,并帮助简化设计过程。
苹果在专利中还设想,该头戴设备可以同时配备内置和外部摄像头。这意味着未来的智能可穿戴设备能够通过记录佩戴者周围的3D 空间来进行头部跟踪,同时也能跟踪他们的眼睛。
不过就像苹果大多数的专利申请一样,这种特殊的镜头策略可能只是一项技术基础。事实上,早在2009年,苹果就获批了与头显设备解决方案相关的专利设想,当时的申请主题是能够有线连接 iPod 的头显设备。
2013 年,苹果获批了一项类似Oculus Rift的头戴显示设备专利,主要用于游戏,并且可以连接到 iPod 或其他独立显示器设备上观看视频。2015 年,这项专利涵盖的连接设备拓展到了 iPhone 和 iPad。
到了2016年,美国专利商标局曝光了苹果酷似三星GearVR的移动头盔。文件描述称,头盔可以容纳带显示屏的电子设备,比如将手机放进去,同时还拥有内置的耳机、苹果的 Lightning 接口以及定制镜头。
而据青亭网介绍,苹果去年又获两项相关专利,包括移动AR系统监测环境并实时向用户显示信息和通过特殊方式在特定环境中叠加虚拟信息等,可见苹果在头显设备领域积累的时间还是比较久的。
除了专利研究之外,苹果近些年在AR/VR领域也投入了不少资金进行收购。PrimeSense(2013)、Metaio(2015)、Faceshift(2015)、Flyby Media(2016)、 SensoMotoric Instruments(2017)等一众技术公司都已成为苹果的合作伙伴。
彭博此前曾报道称苹果会在2019年完成增强现实头戴设备开发,发售时间为2020年。尽管没有透露太多细节,但人们预期这种可穿戴设备将至少使用一个透明的显示屏,并支持通过蓝牙与用户附近的 iPhone 连接起来,而 iPhone 将负责控制佩戴者视线中要显示哪些内容。
尽管外界已经陆陆续续剧透好几年了,隔一段时间就会有苹果智能眼镜或者头戴设备的消息出来,但按照苹果“肯定要做的东西必须得非常完美才能发出来”的调性,我们大概还得再等一些时间才能看到苹果真正推出它预想的硬件产品。















