亚马逊新专利“仓库工作监督护腕”:精准跟踪工人,振动指明货物方位
可以振动的护腕会指向正确的方向,此发明将进一步加强对工作人员的监控
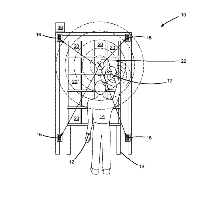
据卫报报道,亚马逊申请了腕带设计专利,它可以精确地跟踪仓库员工放置手的位置,并使用振动将他们推向不同的方向。这个旨在简化订单履行的概念,为已经具有挑战性的工作环境增添了另一层监督。
当有人从亚马逊订购产品时,信息会传送到所有仓库人员携带的掌上设备中。收到订单详细信息后,工人必须迅速从货架上取出产品,将其装入收货箱并转至下一个作业。
此腕带使用超声波追踪来识别工作人员手部检索物品时的精确位置,专利中包含的触觉反馈系统将在佩戴者的皮肤上振动以将手指向正确的方向。
此发明可以使人类工作者可以完成更多的订单,直到机器人发展灵活,完全取代它们。
根据专利文件内容显示,腕带发明者GeekWire的设计初衷是为了能够节省跟踪整个仓库的人力。
工作人员在伊利诺伊州Romeoville的亚马逊运营中心打包并运送客户订单
然而事实上腕带为亚马逊管理层提供了新的工作场所监视能力,可以识别工作人员是否存在浪费时间的行为。
亚马逊已经把低收入的员工变成“人类机器人”,尽可能快地执行重复的包装任务,以达到电脑设定的目标。
24岁的仓库工人Aaron Callaway说,在英国一家亚马逊仓库的夜班工作中,他们只需15秒就可以扫描物品,并将其放入右侧的货车中。他说:
我的主要工作伙伴是机器人。
2016年,英国广播公司(BBC)的一项调查发现,在亚马逊交付货物的工作人员报告说,他们正克服重重障碍试图达到亚马逊物流应用程序发出的充满野心的交付目标。















