史上最壕无人车买家诞生!泥潭中的Uber要搞个超大的无人出租车队
编者按:本文来自微信公众号量子位(ID:QbitAI),Root、岳排槐编译整理。36氪经授权转载。
Uber从泥潭中颤抖着伸出一只手,拍下了史上最大无人车订单。
这家公司上任不久的新CEO,决定一次购买2.4万辆沃尔沃自动驾驶型XC90,用以组建一支SUV无人车队。拿到车后,Uber还打算添加自己的传感器和软件系统。
这批XC90沃尔沃计划在2019年至2021年之间交付给Uber。
据FT计算,这笔交易的金额高达14亿美元,相当于人民币92亿元。
一辆低配版XC90在美国市场售价4.7万美元,按照上面的数字计算,这批具备自动驾驶功能的XC90,每辆售价大约5.8万美元。幸好Uber不是在中国买……
尽管与Uber目前已有的200多万人类司机相比,2.4万辆XC90还显得微不足道,但已经再一次把Uber要用无人车取代人类司机的决心表露无疑。
购买XC90应该是意料之中的事情,去年Uber已经开始在匹兹堡投放了100辆XC90,测试无人出租车业务。
今年3月量子位亲测,街面上并不容易看见这些车。毕竟当时发生了一个事故,一辆Uber正在测试中的XC90无人车,在亚利桑那出了车祸,侧翻在路中。
看起来,这次事故并没有让Uber却步。
不管怎样,吉利汽车应该蛮开心的。目前,沃尔沃的工程师一直与Uber密切合作,开发一种核心的无人驾驶技术的基础版汽车。 未来,这类汽车也会进入沃尔沃的产品线。
但是,这对车厂以往把车卖给个人的商业模式,可能会带来毁灭性的打击。 目前,Uber估值700亿美元,已经和全球第一大豪车生产商德国戴姆勒公司的市值相近。
告别司机之旅
Uber很早就意识到无人车的威胁以及重要性。
去年5月,苹果10亿美元投资滴滴时,Uber创始人(时任CEO)卡兰尼克就曾打电话给伊隆·马斯克,建议两家联手对抗苹果。
不过马斯克没有接受卡兰尼克的建议,而Uber则在去年8月把中国业务出售给滴滴。当时,卡兰尼克说无人车对Uber而言是一种现实的威胁。他要求手下团队必须赶在对手之前,把无人驾驶技术推向市场。底线是不能在这场竞争中落后。
为何要押注无人车?答案显而易见。无人出租车的运营成本要低得多,因为机器司机可以无休止的工作,而且还不会要求涨工资。谁能尽早推出这种服务,谁就能把同行逼到死角、甚至挤出竞技场。
Tesla的一位投资人Steve Jurvetson曾在2015年透露,卡兰尼克曾说如果Tesla能在2020年实现完全无人驾驶,他会买50万辆。
不只是Uber,美国市场上另一个共享出行大玩家Lyft也表示他们也在开发无人驾驶汽车,但主要侧重于合作。 德尔福汽车公司的NuTonomy、福特汽车公司捷豹路虎和Waymo,已经同意在Lyft平台上测试自动驾驶汽车。
知情人士透露,Lyft计划于明年年中在帕罗奥尔托为其无人驾驶团队部署固定线路班车,2019年有望实现夜间和雨天驾驶,2020年初最多上路部署500辆汽车,届时将向用户收费,但仍会配备“安全驾驶员”。
看好无人车出租车的,当然不止这几家。比方国内的滴滴,以及一众无人车创业公司,另外刚刚百度等也加码投资了首汽约车等。
另一个值得关注的方向是卡车。
Uber也在搞无人卡车,不是官司缠身的Otto,而是另起炉灶。特斯拉也刚刚发布了电动卡车,你说特斯拉不会搞无人卡车?谁信……还有一个消息,国内搞无人卡车的创业公司图森未来,刚刚宣布了新一轮融资(详见今天的其他推送)。
OMT:Uber还要搞震动坐椅,目的竟然是……
All in无人车,如上所述是Uber必然的选择。
通常无人车都意味着取代人类司机,但车里还是有乘客的不是么,有没有想过提升乘客的感受?Uber还真有。
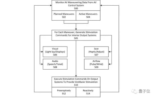
晕车、晕船的道理相似,都是眼睛所见和大脑所感不匹配,这种差异积累到一定程度,最终引发晕车。大脑所感最重要的来源,就是内耳前庭器,这是人体平衡感受器官。
根据一项最新的专利,Uber正在想办法让乘客告别晕车。方法是使用无人车的传感器,创建一个感官模拟系统,借助震动坐椅、气流和灯光系统来欺骗大脑。
换句话说,在这项专利的帮助下,无人车里的乘客可以毫无压力的看书、刷手机、社交、购物、写作、打游戏等等。
妈妈再也不用担心我会晕车!















