福特斥资10亿美元投资的Argo AI,究竟是怎样一家公司
编者按:本文来自微信公众号“量子位”(ID:QbitAI),编译:李杉 问耕;36氪经授权转载。
在一个水泥楼梯井的14和15层之间,布莱恩·塞尔斯基(Bryan Salesky)停了下来,试图找到合适的词汇来解释自己在可预见的未来所肩负的使命。他希望为汽车提供眼睛、耳朵和大脑,好让它们无需人类的帮助便可自主行驶。
他希望在2021年之前为福特公司做成这件事情。
Argo AI原本是一家名不见经传的创业公司,但却因为获得了福特的10亿美元投资,在6个月前突然闯入人们的视野。身为该公司的CEO,在追逐用人工智能控制的汽车这个梦想的过程中,他绝非孤身一人。
△ Bryan Salesky
尽管在旧金山的一间会议室里接受采访时响起了火警,但塞尔斯基仍然十分专注而淡定。按照计划,他要在4年内为身兼唯一客户、支持者和大股东等多重身份的福特开发和交付这样一套系统。即便他真的肩负压力,也无法从外表看出任何迹象。
事实上,他对这家与彼得·兰德(Peter Rander)共同创办的公司感到乐观,后者曾是Uber先进技术事业部的首席工程师,帮助这家专车公司把第一批无人驾驶汽车原型车带到了公共道路上。
然而,Argo已经从成百上千家追逐无人驾驶梦想的公司中脱颖而出,主要是因为它与福特签订了独特的协议,获得了足够的资源与谷歌旗下的Waymo、Uber、通用旗下的Cruise Automation、特斯拉和Aurora等公司展开竞争——由于各路巨头都在挺进无人驾驶汽车领域,所以这份名单也只是其中的一小部分。
可以说,Argo因为福特的交易一夜成名,但目前仍有大量类似的企业处在无人问津的状态。“人工智能将成为未来汽车的关键元素。”Cox Automotive旗下Autotrader首席分析师米歇尔·克里布斯(Michelle Krebs)说,“正因如此,通用、丰田、福特这样的汽车厂商才纷纷瞄准掌握人工智能技术的公司。”
Argo相当于中了彩票。至于福特此举是否明智,还有待进一步观察,毕竟Argo的很多信息仍然不为外界所知。
从广义上讲,Argo正在开发无人驾驶技术,让福特可以应用到全自动L4商用应需服务汽车中。换句话说,这将成为一项无人驾驶出租车服务。所谓的“L4”,是由国际自动机工程师学会(SAE International)确认的一个等级,意味着汽车可以在特定情况下负责所有驾驶任务。
Arog将负责开发整套的“虚拟驾驶员系统”,包括摄像头、雷达、光线探测和LIDAR等全套传感器,以及软件和计算平台。最终的结果就是一套单独为福特开发的全自动无人驾驶系统:这套系统可以知道自己所在的位置,还能探测和理解环境中的各种物体,然后做出决策。
Argo AI和福特的前路荆棘密布。Argo现在正在与竞争对手争夺机器人和机器学习专家,这已经导致无人驾驶汽车工程师的年薪(包含奖金和股权在内)超过25万美元。
此外还有技术挑战,如果福特想要在公开宣布的截止日期前达成目标,就必须克服所有挑战。当前的两大技术挑战是感知(看见和理解周围物体的能力)和决策。
塞尔斯基和很多人都认为,感知是个更加棘手的问题,因为无人驾驶汽车不仅要探测相关物体,还要预测汽车、行人和骑手等道路参与者的意图。一旦掌握正确的信息,决策就会变得相对容易。
关于解决方案,目前主要有两大思路。创业公司Drive.ai和芯片巨头英伟达认为,深度神经网络——这种复杂的人工智能算法可以让电脑通过一系列相互连接的网络识别数据模式——可以应用到无人驾驶汽车的方方面面,从物体识别和决策制定都包含在内。
深度学习的支持者认为,这些算法最接近人脑的学习方式。但塞尔斯基认为,深度学习短期内需要更多的研究和计算资源才能应用到无人驾驶汽车中。
另外一种方法,也就是Argo采取的方法,则是训练这些深度网络解决具体问题,辅以机器学习算法后,再应用到整个系统。
机器学习是人工智能的一种形式,它利用算法识别和分析数据模式,展开学习之后再进行预测。例如,机器学习算法可以用来从摄像头或LIDAR那里吸收数据,从而教给汽车如何识别停车标志和移动的汽车。
对于旁观者来说,无人驾驶汽车大战似乎是不到两年前才开始的。 从某种角度来看的确如此。通用收购Cruise Automation这种高调交易,以及科技公司和汽车厂商的一系列公开声明,让无人驾驶汽车频频登上各大媒体头条。
但实际上,无人驾驶汽车的开发早在10年前就已经开始。
研究一下当今从事无人驾驶汽车的公司,可能会发现很多从业人员都参加过2004、2005和2007年由美国国防部高等研究计划署(DARPA)资助的无人驾驶汽车竞赛。
来到卡内基梅隆大学机器人研究所的国家机器人工程中心时,他发现自己找到了真爱。他曾担任2007年DARPA无人驾驶汽车挑战赛优胜团队的高级软件工程师。后来的谷歌无人驾驶项目主管、最近参与创办汽车创业公司Aurora的克里斯·厄姆森(Chris Urmson)是那个团队的技术总监。
塞尔斯基后来跳槽到谷歌无人驾驶汽车项目,并最终成为硬件开发总监。在谷歌任职期间,他曾经负责与菲亚特·克莱斯勒的谈判,并最终与之合作生产了克莱斯勒Pacifica无人驾驶汽车。
自从塞尔斯基9月离开谷歌无人驾驶汽车项目后,这场竞赛就已经换挡加速,汽车厂商、科技公司和创业公司纷纷争夺领导地位——如果是在3年前,这样一场竞赛会让人感觉荒谬可笑。塞尔斯基成为诸多企业争抢的少数人才中的一员。
简而言之,塞尔斯基手握黄金门票,可以轻而易举加盟资金充裕的创业公司,或者在大型汽车或科技公司谋得重要职位。但他却选择了自主创业。
“我感觉自己接下来想要从事一个长期项目,希望能让我们有充分的机会推出产品。”塞尔斯基说,“我认为,达成这个目标的最佳方式就是创办一家公司,找到一个志趣相投的OEM厂商,然后展开深度合作。”
大约就在同时,福特也开始加码自己的无人驾驶汽车计划:该公司8月宣布在2021年之前部署一项商用无人驾驶汽车服务。这家汽车厂商表示,他们将扩大加州帕罗奥尔托实验室的规模,并且投资或收购无人驾驶汽车创业公司,以此实现这个目标。这一切现在都落到5月出任福特总裁兼CEO的吉姆·海克特(Jim Hackett)的肩上。海克特直接向福特公司执行董事长、福特创始人的曾孙比尔·福特(Bill Ford)汇报工作。
在离开谷歌后不久,塞尔斯基和兰德就用一笔不大的资金创办了新的公司:塞尔斯基和福特均未披露该公司的种子投资来源。
与福特的谈判最早始于2016年末,比尔·福特也参与其中。该交易在2月结束,并对外宣布。虽然福特前CEO马克·菲尔兹(Mark Fields)也参与了谈判,但主要负责人却是现任CTO肯·华盛顿(Ken Washington)、前CTO兼现任福特北美负责人拉吉·奈尔(Raj Nair)和全球战略副总裁约翰·卡西萨(John Casesa)。
塞尔斯基强调称,Argo并没有被福特收购。福特是该公司的大股东,并且在其5个董事会席位中占据两席。塞尔斯基和兰德也拥有两个席位。不过,福特的影响显而易见。自从Argo AI今年2月公开亮相后,其员工总数已经超过100人,其中很多都是在福特研发部门从事过虚拟驾驶员系统的工程师。
“多数懂得如何编写设计精良的可扩展软件的工程师和架构师都去了Argo。”华盛顿说。
LinkedIn的资料显示,Argo的工程师和数据科学家来自福特的比例最大,此外还有十几人来自Uber先进技术事业部,另有一些来自NREC、苹果、微软和谷歌等科技公司。
他们希望员工总数到年底能达到200人。这些员工分布在Argo的三个办公地点,分别位于宾夕法尼亚州匹兹堡市、加州山景城、密歇根州迪尔伯恩市。Argo还将在年底前更新这些车辆中的虚拟驾驶员系统。华盛顿透露,Argo还接管了福特正在开发的一套模拟系统。
Argo虽然很年轻,但现在已经不能再用“早期”来形容这些技术了。无人驾驶汽车的测试视频已经不像一年前那样令人震撼,技术和监管领域的长期障碍已经浮现。在塞尔斯基看来,这并非一场“赢家通吃”的游戏。“美国每年的机动车行驶里程多达3万亿英里,这是个巨大的机会。”他说,“这个领域有足够的空间容纳不止一家企业。”
特斯拉、通用汽车和沃尔沃等汽车厂商都在积极开发无人驾驶技术,但也有一些公司担忧这项技术的风险。相比而言,福特和Argo则把赌注压在研发阶段,他们似乎希望通过彼此的合作在这个新兴领域提前卡位。
未来无人车长什么样?
顺便说说福特无人车的另一个新进展。
随着自动驾驶技术的发展,汽车的方向盘和脚踏板都会最终消失。(马斯克此前还谈过这件事)那么它们会以怎样的方式消失?
至少在福特的眼中,有一个很独特的解决方案。
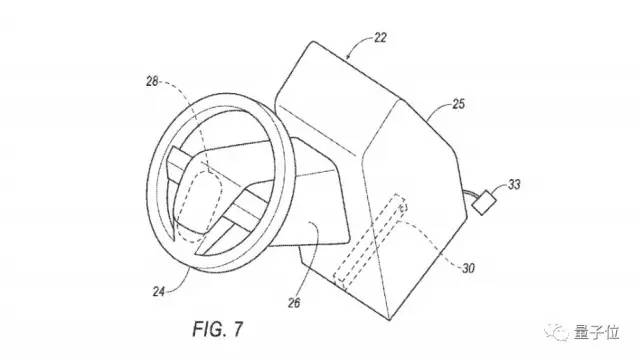
最近,福特的一项专利被挖了出来。在这个去年2月就申请的专利中,福特想让方向盘和脚踏板都变成可拆卸的“插件”,想用方向盘就插上去,不想用就拆下来。下面几张图就显示了这个专利的大致情况。
这个想法背后,涉及安全气囊该如何放置,无人车该如何控制等很多问题。比如,想要把方向盘插上去用,应该使用什么机制实现控制。
巧合的是,谷歌也有一个无人车专利被披露出来。这个专利看起来就像回答了那个问题:没有方向盘,应该怎么控制无人车?
谷歌旗下无人车公司Waymo的这个方案是:通过按钮。下面这张,可能就是以后无人车“中控台”的样子。顶部有一个大大的“Go”按钮。以及下方还有一个“Stop Now”按钮。看起来,对应的可能分别是出发和停车。
当然,专利并没有说清楚按下“Go”时汽车会怎么启动,以及按下“Stop Now”时汽车会用多快的速度停下来。
控制面板上的其他按钮,看起来跟今天的汽车也没有太大的差别,包括:关窗、锁门、座椅加热、音量调节等等。















