11
30

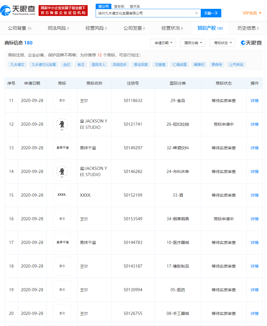
易烊千玺旗下公司申请多条“易烊千玺”“玊尔”商标

2020-11-30 10:00分享至
36氪获悉,天眼查App显示,近日,徐州九木德文化发展有限公司申请注册多个“易烊千玺”、“玊尔”、“玺 JACKSON YEE STUDIO”商标,国际分类涉及金融物管、医疗器械、食品、啤酒饮料等,商标状态为商标申请中和等待实质审查。徐州九木德文化发展有限公司成立于2018年12月,注册资本500万,法定代表人为易上捷,经营范围包括组织文化艺术交流活动。易烊千玺和易上捷为其股东,各持股50%。原文链接
易烊千玺旗下公司申请多条“易烊千玺”“玊尔”商标

下一篇

36氪获悉,今日,自如正式宣布并购贝客青年精品公寓。并购完成后,自如将在北京、上海、广州、深圳、南京等城市运营五十余个集中式公寓项目。

2020-11-30

36氪APP让一部分人先看到未来
36氪
鲸准
氪空间

推送和解读前沿、有料的科技创投资讯

一级市场金融信息和系统服务提供商

聚焦全球优秀创业者,项目融资率接近97%,领跑行业