11
06

恒大地产再被强制执行4亿

2023-11-06 14:38分享至
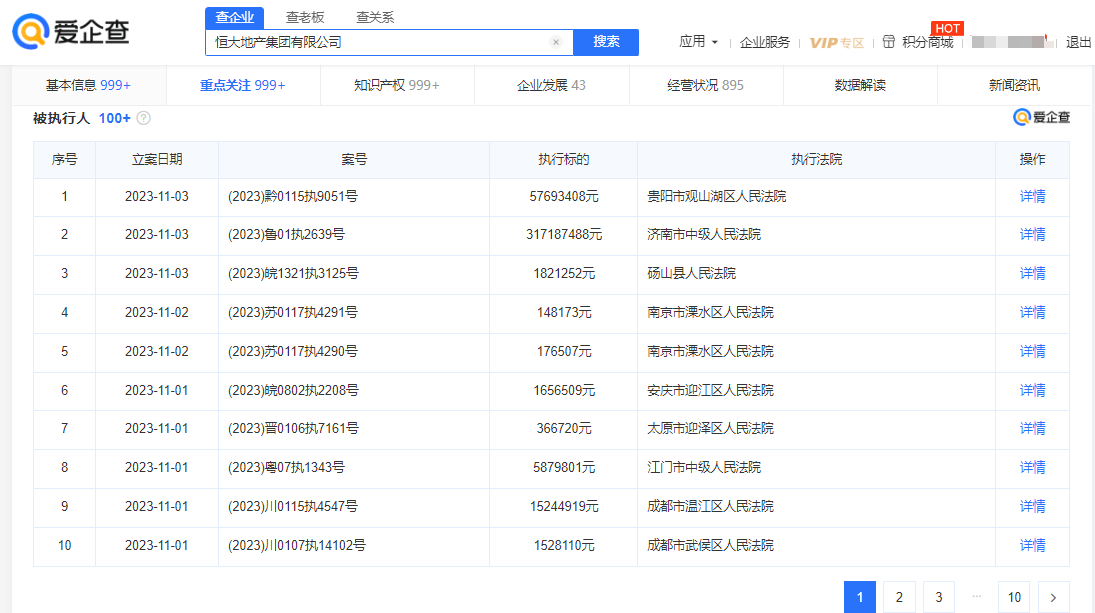
36氪获悉,爱企查App显示,11月1日至3日,恒大地产集团有限公司新增14条被执行人信息,执行标的合计4亿余元,执行法院包括贵阳市观山湖区人民法院、济南市中级人民法院、砀山县人民法院等。风险信息显示,截至目前,恒大地产集团有限公司关联多条限制消费令、失信被执行人(老赖)和终本案件信息,以及数百条被执行人信息,累计被执行金额超547亿元。
恒大地产再被强制执行4亿

下一篇

花旗预计未来3-6个月铜价将在7500美元至8500美元的范围内交易,预计2024年铜精炼市场将出现35.5万吨的过剩,而2023年为11.2万吨。(财联社)

2023-11-06

36氪APP让一部分人先看到未来
36氪
鲸准
氪空间

推送和解读前沿、有料的科技创投资讯

一级市场金融信息和系统服务提供商

聚焦全球优秀创业者,项目融资率接近97%,领跑行业