02
10

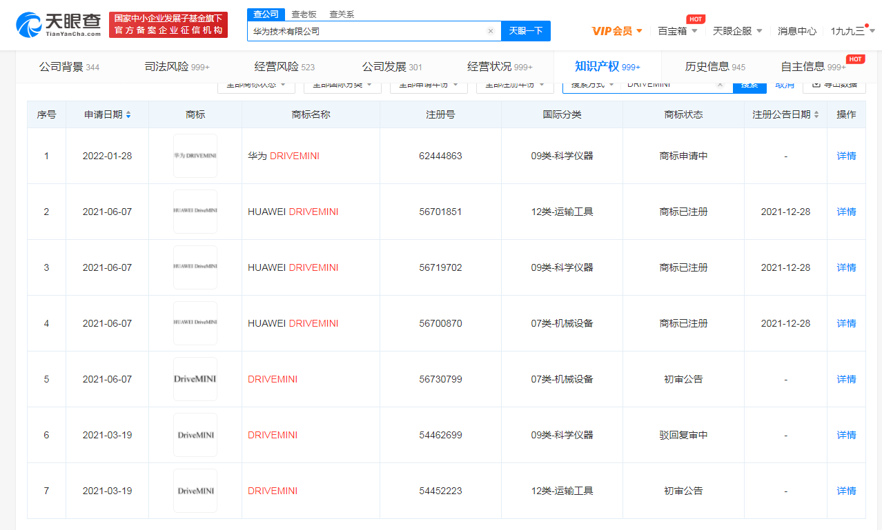
华为再次申请DRIVEMINI商标

2022-02-10 13:33分享至
36氪获悉,天眼查App显示,近日,华为技术有限公司申请注册“华为DRIVEMINI”商标,国际分类为科学仪器,当前商标状态为申请中。华为曾在2021年3月和6月申请注册过科学仪器、运输工具、机械设备三类“DRIVEMINI”和“HUAWEI DRIVEMINI”商标,其中科学仪器类“DRIVEMINI”商标被驳回。
华为再次申请DRIVEMINI商标

下一篇

世茂集团一笔2.02亿美元分期付款,获贷款行同意展期至4月底。这笔2019年8月9日签署的银团贷款协议为期4年,总规模13.5亿美元;该贷款由两部分组成,规模分别为8.3785亿美元和40亿港元。其中,世茂应在签署协议24个月后偿付5%分期款项,今年2月9日支付15%,2022年8月9日支付2.7亿美元,其余部分将在明年分两期支付。(财联社)

2022-02-10

36氪APP让一部分人先看到未来
36氪
鲸准
氪空间

推送和解读前沿、有料的科技创投资讯

一级市场金融信息和系统服务提供商

聚焦全球优秀创业者,项目融资率接近97%,领跑行业