09
24

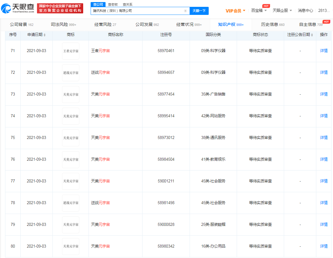
腾讯9月已申请近百条元宇宙商标

2021-09-24 11:02分享至
36氪获悉,天眼查App显示,近日,腾讯科技(深圳)有限公司申请注册多项“和平精英元宇宙”“绿洲启元宇宙”商标,国际分类涉及科学仪器、社会服务等,目前商标状态为申请中。今年9月份,腾讯已申请注册近百条元宇宙相关商标,如“王者元宇宙”“天美元宇宙”“逆战元宇宙”“腾讯音乐元宇宙”等。原文链接
腾讯9月已申请近百条元宇宙商标

下一篇

浙江高院已于近日作出五洋债案终审结果,二审维持原判,即五洋建设董事长陈志樟、德邦证券、大信会计师事务所承担487名自然人投资者合计7.4亿元债务本息的连带赔偿责任,锦天城律所和大公国际资信评级有限责任公司分别在5%和10%范围内承担上述债务的连带赔偿责任。五洋债案是全国首例公司债券欺诈发行案,也是全国首例证券纠纷领域适用代表人诉讼制度审理的案件。(界面)

2021-09-24

36氪APP让一部分人先看到未来
36氪
鲸准
氪空间

推送和解读前沿、有料的科技创投资讯

一级市场金融信息和系统服务提供商

聚焦全球优秀创业者,项目融资率接近97%,领跑行业